GM Service Manual Online
For 1990-2009 cars only

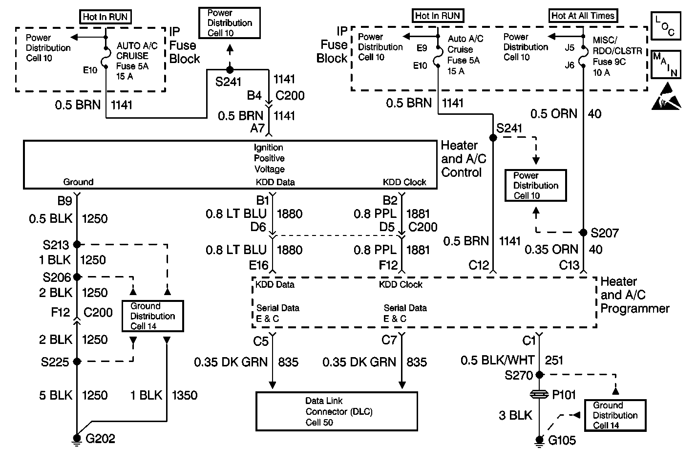
DTC 035 Control Assy to Programmer Loss of E and C Pontiac


Object Number: 387858  Size: MF
HVAC Components
Cell 68: Passenger Temperature Control - Oldsmobile
Handling ESD Sensitive Parts Notice

Circuit Description

The HVAC control assembly sends input data through circuit 1880 to the HVAC programmer. The HVAC programmer uses this data to control the actuators on the HVAC module assembly.

Conditions for Setting the DTC

    • The ignition is on.
    • A circuit is open or shorted.

Action Taken When the DTC Sets

Code 035 is set.

Conditions for Clearing the DTC

    • Using a Scan Tool .
    • A history DTC will clear when 40 consecutive ignition cycles have occurred and no malfunction has occurred.
    • HVAC programmer battery voltage is interrupted.

Test Description

  1. Determines if the programmer is the fault or a poor connection exists.

  2. Determines if the control assembly is the fault or if there is an open circuit.

Step

Action

Value(s)

Yes

No

1

  1. Turn the ignition switch to the RUN position.
  2. Connect a Scan Tool .
  3. Enter the E and C component identification.

Does the Scan Tool display one of the following items?

    • E and C bus short to ground
    • E and C bus short to battery

--

Go to Data Link Communications System Check

Go to Step 2

2

Observe the Scan Tool .

Does the Scan Tool identify any components?

--

Go to Step 3

Go to Scan Tool Does Not Communicate with Class 2 Data Line

3

Observe the Scan Tool .

Does the Scan Tool identify the HVAC control assembly?

--

Go to Step 5

Go to Step 4

4

  1. Turn the ignition switch to the OFF position.
  2. Disconnect the HVAC control assembly.
  3. Inspect terminal B1 of the harness connector for proper terminal contact. Refer to Intermittents and Poor Connections Diagnosis in Wiring Systems.

Intermittents and Poor Connections Diagnosis Does proper terminal contact exist?

 

Go to Step 6

Go to Step 11

5

  1. Turn the ignition switch to the OFF position.
  2. Disconnect the HVAC programmer.
  3. Disconnect the HVAC control assembly.
  4. Check for continuity between terminal E16 of the HVAC programmer and terminal B1 of the HVAC control assembly.

Refer to Testing for Continuity in Wiring Systems.

Is continuity present?

--

Go to Step 8

Go to Step 11

6

  1. Reconnect the HVAC control assembly.
  2. Turn the ignition switch to the RUN position.
  3. Measure the voltage between terminal 4 of the DLC and cavity B1.

Refer to Measuring Voltage in Wiring Systems.

Is battery voltage present?

--

Go to Step 7

Go to Step 9

7

Replace the heater and A/C control assembly. Refer to Control Assembly Replacement .

Is the repair complete?

--

System OK

--

8

Inspect terminal E16 of the HVAC programmer harness connector and terminal B1 of the HVAC control assembly for proper terminal contact.

Refer to Intermittents and Poor Connections Diagnosis in Wiring Systems.

Does proper terminal contact exist?

--

Go to Step 10

Go to Step 11

9

Repair the open in CKT 835.

Refer to Wiring Repairs in Wiring Systems.

Is the repair complete?

--

System OK

--

10

Replace the programmer. Refer to Programmer Replacement

Is the repair complete?

--

System OK

--

11

Repair the faulty terminal contact.

Refer to Repairing Connector Terminals in Wiring Systems.

Is the repair complete?

--

System OK

--