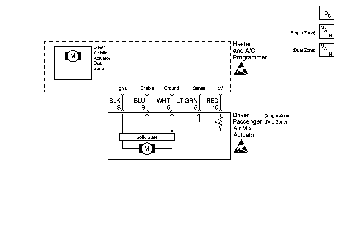
The HVAC programmer commands the actuator to move by suppling battery voltage. The feedback supplied to the HVAC programmer is a regulated 5 volts. The feedback voltage is a function of the motor position with a high voltage of 4-5 volts indicating full cold door position. A low voltage of less than 1 volt indicates the full hot position. Operation of the air mix door actuator can be evaluated through the Scan Tool .
The ignition is ON.
Only the full hot or full cold may be used by the system.
| • | Using a Scan Tool . |
| • | A history DTC will clear when 40 consecutive ignition cycles have occurred without a malfunction. |
| • | HVAC programmer battery voltage is interrupted. |
Step | Action | Value(s) | Yes | No | ||||
|---|---|---|---|---|---|---|---|---|
1 |
Refer to Measuring Voltage in Wiring Systems. Does the voltage equal the specified value? | 5 V | Go to Step 2 | Go to Step 3 | ||||
2 | Measure the voltage between passenger air mix valve actuator connector (harness side) terminal 8 and terminal 9. Refer to Measuring Voltage in Wiring Systems. Is the voltage greater than or equal to the specified value? | 4 V | Go to Step 4 | Go to Step 3 | ||||
3 |
Refer to Intermittents and Poor Connections Diagnosis in Wiring Systems.
Is the repair complete? | -- | System OK | -- | ||||
4 |
Refer to Intermittents and Poor Connections Diagnosis in Wiring Systems. Is the repair complete? | -- | System OK | -- |