GM Service Manual Online
For 1990-2009 cars only

Removal Procedure

Caution: In order to reduce the risk of fire and personal injury observe the following items:

   • Replace all nylon fuel pipes that are nicked, scratched or damaged during installation, do not attempt to repair the sections of the nylon fuel pipes
   • Do not hammer directly on the fuel harness body clips when installing new fuel pipes. Damage to the nylon pipes may result in a fuel leak.
   • Always cover nylon vapor pipes with a wet towel before using a torch near them. Also, never expose the vehicle to temperatures higher than 115°C (239°F) for more than one hour, or more than 90°C (194°F) for any extended period.
   • Apply a few drops of clean engine oil to the male pipe ends before connecting fuel pipe fittings. This will ensure proper reconnection and prevent a possible fuel leak. (During normal operation, the O-rings located in the female connector will swell and may prevent proper reconnection if not lubricated.)

Notice: Do Not attempt to repair the EVAP pipes or the connecting hoses. Replace the damaged EVAP pipes or the connecting hoses are damaged. If the nylon EVAP pipe becomes kinked and cannot be straightened, it must be replaced.

Notice: Properly secure the EVAP pipe in order to prevent chafing of the pipe.

  1. Relieve the fuel system pressure. Refer to Fuel Pressure Relief .

  2. Object Number: 211302  Size: SH
  3. Drain the fuel tank (1). Refer to Fuel Tank Draining .

  4. Object Number: 155114  Size: SH
  5. Remove the fuel tank. Refer to Fuel Tank Replacement .
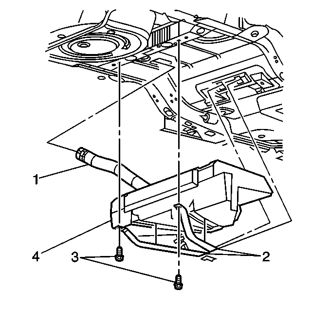
  6. Remove the hardware retaining the EVAP pipes.
  7. Note the location of the retaining hardware for installation.

  8. Object Number: 104621  Size: SH
  9. Remove the EVAP pipes (1,2,3) at the EVAP canister.
  10. Remove the EVAP pipes at the fuel tank.
  11. Remove the EVAP pipes.

Installation Procedure

Notice: Always re-attach the fuel lines and fuel filter with all original type fasteners and hardware.

Do not repair sections of fuel pipes.

Important: Route the replacement EVAP pipe in the same manner as the original pipe was routed.


    Object Number: 386183  Size: SH
  1. Install the fuel tank (4). Refer to Fuel Tank Replacement .

  2. Object Number: 104621  Size: SH

    Notice: Properly secure the EVAP pipe in order to prevent chafing of the pipe.

  3. Install the EVAP pipes to the chassis.
  4. Install the EVAP pipes (1,2,3) to the EVAP canister.
  5. Add fuel to the fuel tank.
  6. Install the fuel tank filler cap.
  7. Connect the negative battery cable. Refer to Battery Negative Cable Disconnection and Connection in Engine Electrical.
  8. Perform the following procedure to inspect for fuel leaks:
  9. 7.1. Turn the ignition switch to the On position for 2 seconds.
    7.2. Turn the ignition switch to the Off for 10 seconds.
    7.3. Turn the ignition switch to the On position.
    7.4. Check for fuel leaks.