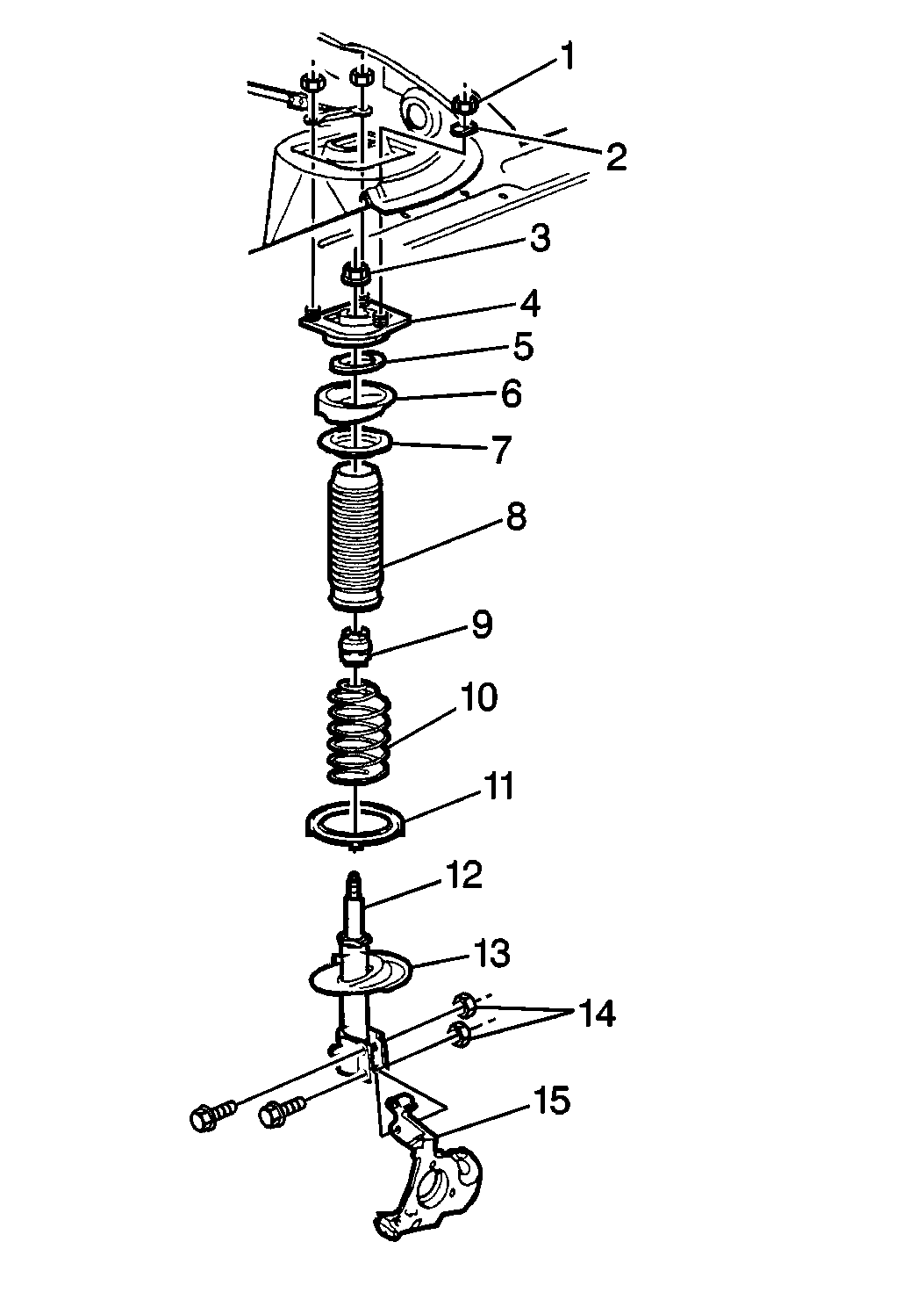
The front suspension is a combination strut and spring design, with control arms which pivot from the engine frame. The frame has isolation mounts to the body. A conventional rubber bushing is used for the rear lower control arm pivot. The front lower control arm bushing is mounted vertically. The upper end of the strut is isolated by a rubber mount which contains a bearing in order to allow for wheel turning. The lower end of the steering knuckle pivots on a ball joint that is riveted to the control arm. The ball joint fastens to the knuckle with a castellated nut and a cotter pin.
The front steering knuckle and the lower control arm is a machined aluminum casting. Do not use a hammer in order to loosen the suspension components from the steering knuckle. The suspension components that are attached to the steering knuckle (i.e. ball joint/stud, strut damper) are made of steel and have special coatings in order to prevent corrosion.