GM Service Manual Online
For 1990-2009 cars only

Frt Seat Storage Armrest/Rr Seat Armrest Cupholder Too Small (Replace Cupholder)

Subject:Front Seat Storage Armrest and/or Rear Seat Storage/Non-Storage Armrest Cupholders Too Small (Replace Cupholder Assembly)

Models:2000 Buick LeSabre
2000 Pontiac Bonneville
with RPO AM6



Condition

Some customers may comment that the front seat storage armrest and/or rear seat storage/non-storage armrest cupholders are too small. The existing front storage armrest and rear storage/non-storage armrest cupholders do not accommodate the beverage containers properly.

Correction

Beginning in January, 2000 a new design cupholder was introduced into production for the above mentioned vehicles.

The new design cupholder service parts for the front seat storage armrest and rear seat storage/non-storage armrest assemblies have been released and are now available through GMSPO.

Important: Replace ONLY the cupholder assembly, not the entire armrest assembly.

Cupholder Replacement Procedures for FRONT Seat Armrest


Object Number: 664888  Size: SH
  1. Partially open the cupholder assembly to obtain access to the side wall of the assembly.
  2. Apply outward pressure to one side of the cupholder assembly side wall (1) and pull the pivot end up and out.
  3. Apply outward pressure to the other side of the cupholder assembly side wall and pull the pivot end up and out.

  4. Object Number: 664892  Size: SH
  5. Press down on the two lock tabs (2) in order to release and separate the cupholding component from the flip-lid.

  6. Object Number: 664896  Size: SH
  7. Install the new cupholding service component (3) into the flip-lid (4).
  8. Ensure both lock tabs are engaged.


    Object Number: 664898  Size: SH
  9. Install the assembled cupholding component and flip-lid (5) to the armrest assembly.
  10. • Apply outward pressure to one side of the cupholder assembly side wall and slide the pivot end into the side wall detent.
    • Apply outward pressure to the other side of the cupholder assembly side wall and slide the pivot end into the side wall detent.
  11. Verify proper operation of the cupholder assembly.

Cupholder Replacement Procedures for REAR Seat Armrest


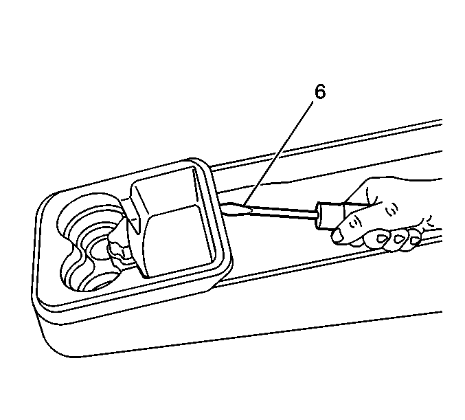
Object Number: 664901  Size: SH
  1. Remove the rear seat armrest cupholder assembly.
  2. • Open the rear seat armrest to obtain access to the cupholder assembly.
    • Insert a flat bladed tool (6) between the cupholder assembly and the armrest assembly.
    • Twist the tool and apply upward pressure.
  3. Remove the old adhesive from the storage armrest assembly.

  4. Object Number: 664903  Size: SH
  5. On the storage armrest assemblies ONLY, apply new adhesive (at points 7, 8, 9, 10 in figure), such as GM Goodwrenchâ„¢ Clear Silicone RTV Adhesive, or an equivalent adhesive that meets GM Material Specification 998557, to the back of the new cupholder assembly.

  6. Object Number: 664907  Size: SH
  7. Install the new cupholder assembly (11) into the storage/non-storage armrest assembly. Apply pressure to the rear corners of the cupholder component in order to secure the unit to the armrest assembly.

Parts Information

FRONT SEAT CUPHOLDER ASSEMBLY FOR VEHICLES WITH RPO AM6

Model

Part Number

Color

RPO

LeSabre

88893817

Medium Gray

17I

LeSabre

88893818

Regal Blue

27I

Bonneville & LeSabre

88893819

Medium Neutral

56I

Bonneville

88893820

Medium Dark Oak

67I

LeSabre

88893821

Medici Red

77I

Bonneville

88893822

Very Dark Gray

93I

REAR SEAT ARMREST CUPHOLDER ASSEMBLY

Model

Part Number

Color

RPO

LeSabre

88893808

Medium Gray

17I

LeSabre

88893809

Regal Blue

27I

Bonneville & LeSabre

88893811

Medium Neutral

56I

Bonneville

88893812

Medium Dark Oak

67I

LeSabre

88893813

Medici Red

77I

Bonneville

88893814

Very Dark Gray

93I

Parts are currently available from GMSPO.

Warranty Information

For vehicles repaired under warranty, use:

Labor Operation

Description

Labor Time

C2745

Frt or RR Seat Cupholder - Remove & Replace

0.2 hr