GM Service Manual Online
For 1990-2009 cars only
Makes
🢒
Buick
🢒
2000
🢒
LeSabre
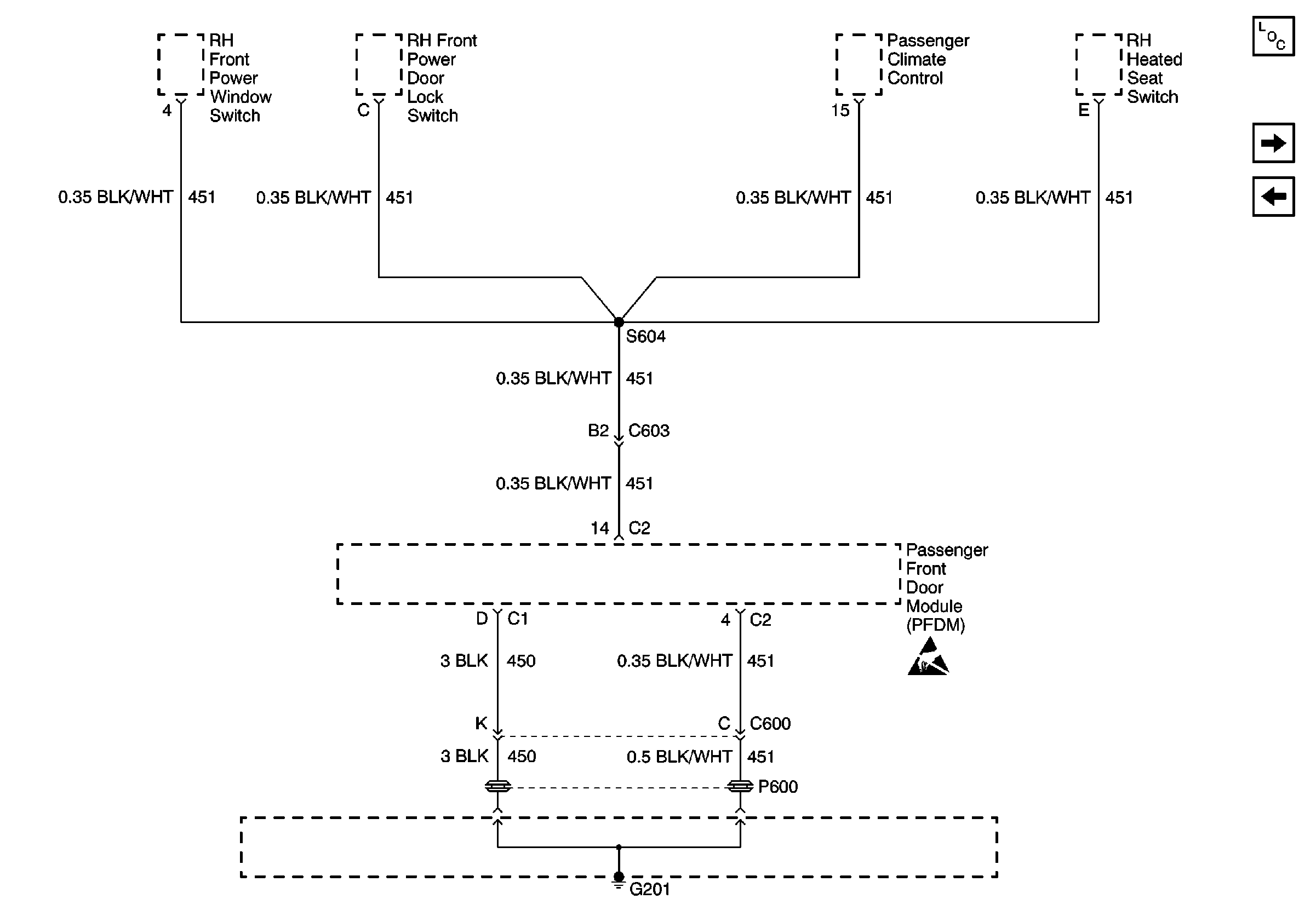
🢒 G201 (1 of 2)
G201 (1 of 2)
G201 (1 of 2)
Power and Grounding Components
G201
G200 (2 of 2)
Handling ESD Sensitive Parts Notice