GM Service Manual Online
For 1990-2009 cars only
Makes
🢒
Buick
🢒
2000
🢒
LeSabre
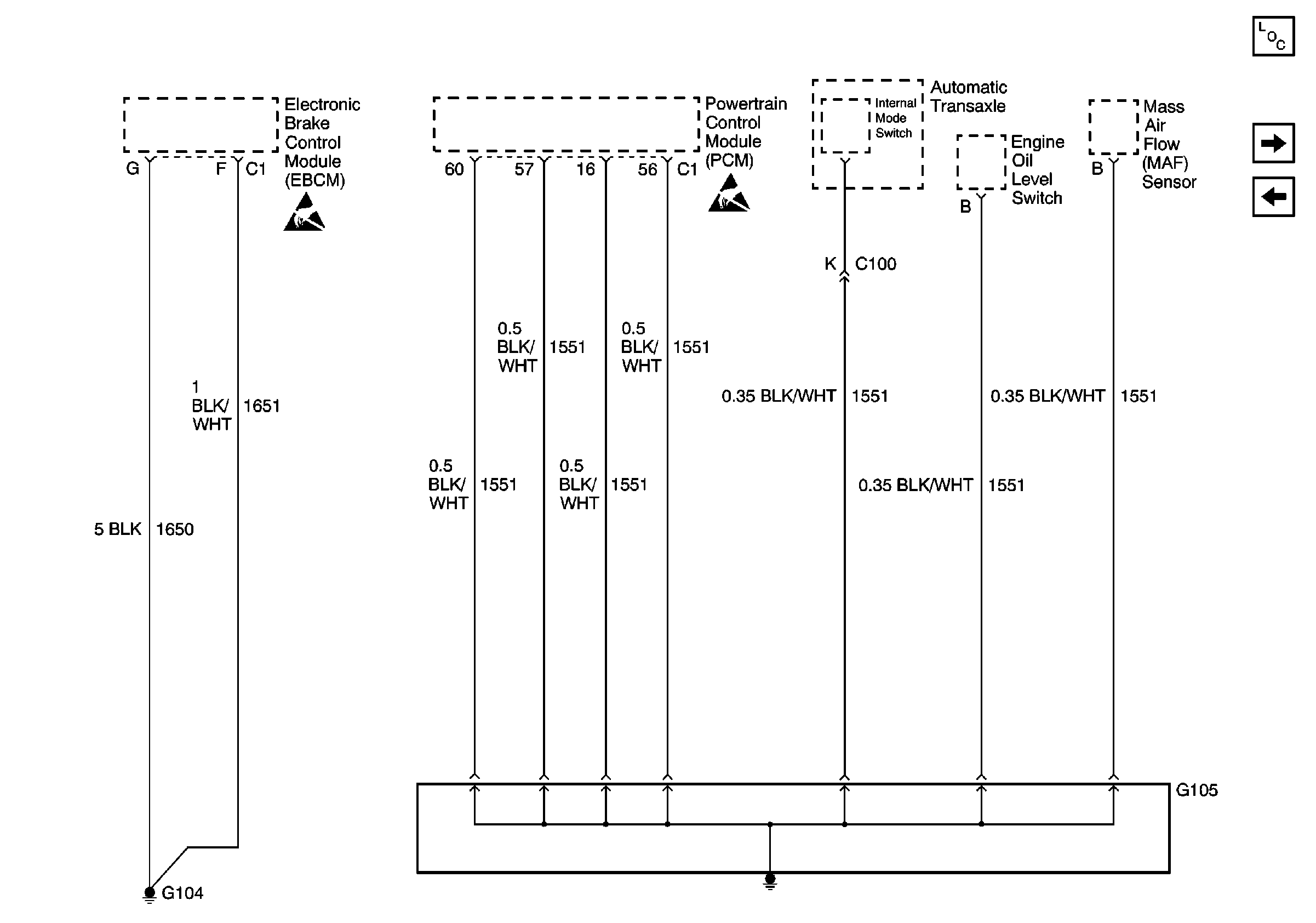
🢒 G104 and G105
G104 and G105
G104 and G105
Power and Grounding Components
G101, G106, and G107
G103
Handling ESD Sensitive Parts Notice
Handling ESD Sensitive Parts Notice