GM Service Manual Online
For 1990-2009 cars only
Makes
🢒
Buick
🢒
2000
🢒
LeSabre
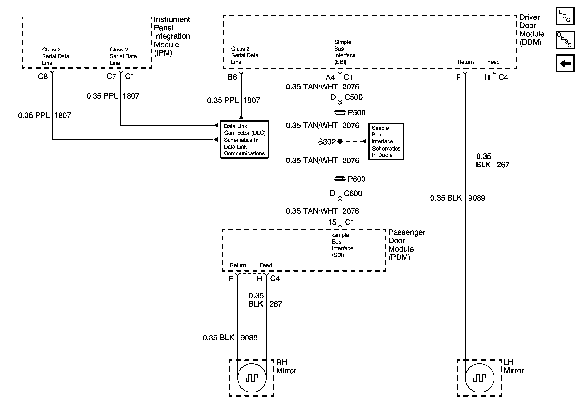
🢒 Heated Mirrors
Heated Mirrors
Heated Mirrors
Power Door Systems Components
RH Mirrors W/A45
Serial Data Class 2
Simple Bus Interface