GM Service Manual Online
For 1990-2009 cars only
Makes
🢒
Buick
🢒
2000
🢒
LeSabre
🢒 Power, Ground, Class 2
Power, Ground, Class 2
Power, Ground, Class 2
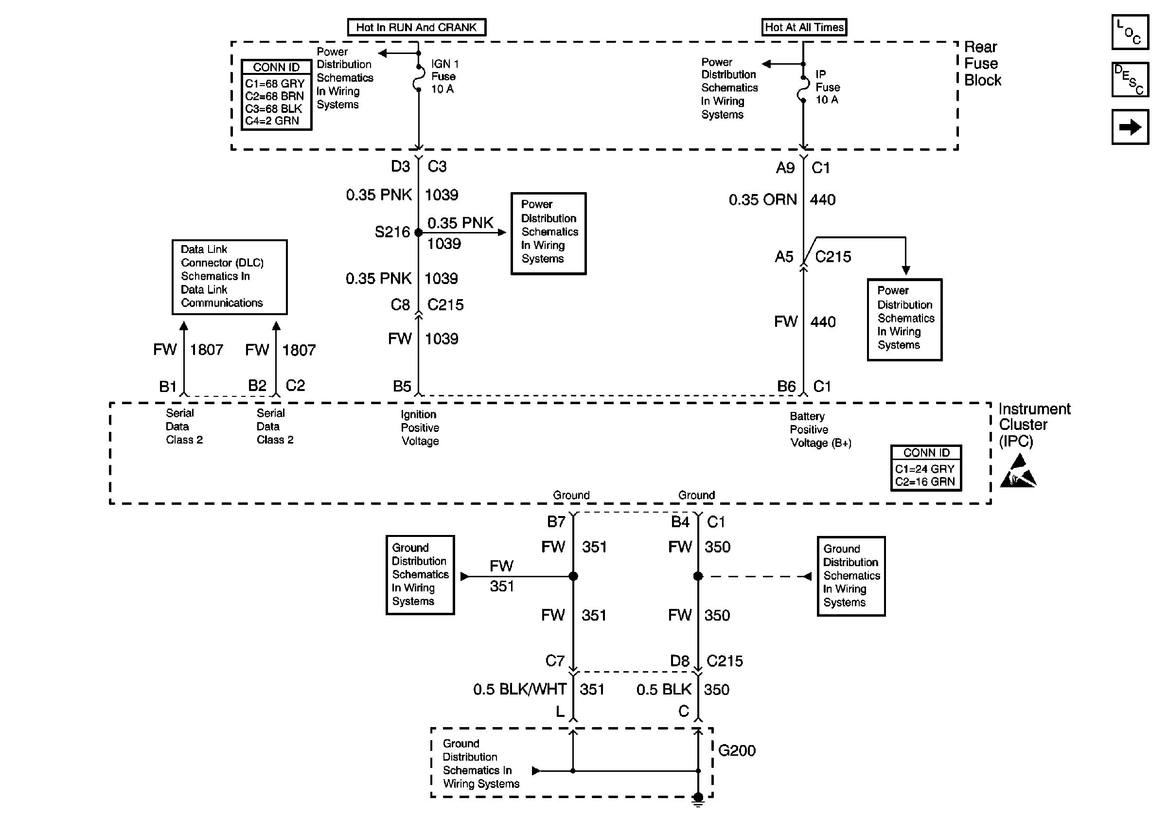
Instrument Cluster and HUD Components
Instrument Cluster Circuit Description
PCM, IPC, Inputs
ABS and PCM BATT Fuses (Underhood Fuse Block)
Handling ESD Sensitive Parts Notice
ABS and PCM BATT Fuses (Underhood Fuse Block)
G200 (1 of 3)
Serial Data Class 2
G200 (1 of 2)
G200 (1 of 2)
IGN-1, VENT SOL and SIR Fuse (Rear Fuse Block)
IGN-1, VENT SOL and SIR Fuse (Rear Fuse Block)