GM Service Manual Online
For 1990-2009 cars only
Makes
🢒
Buick
🢒
2000
🢒
LeSabre
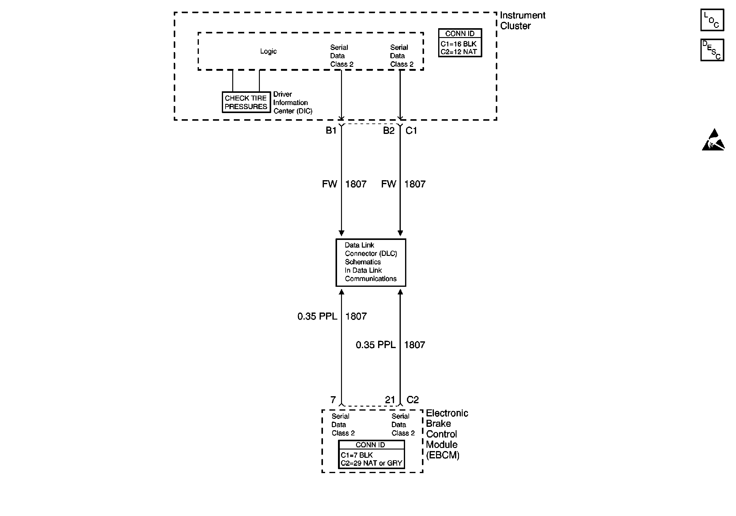
🢒 TIM System Schematics
TIM System Schematics
TIM System Components
Tire Inflation Monitoring System Description
Handling ESD Sensitive Parts Notice
Serial Data Class 2