GM Service Manual Online
For 1990-2009 cars only

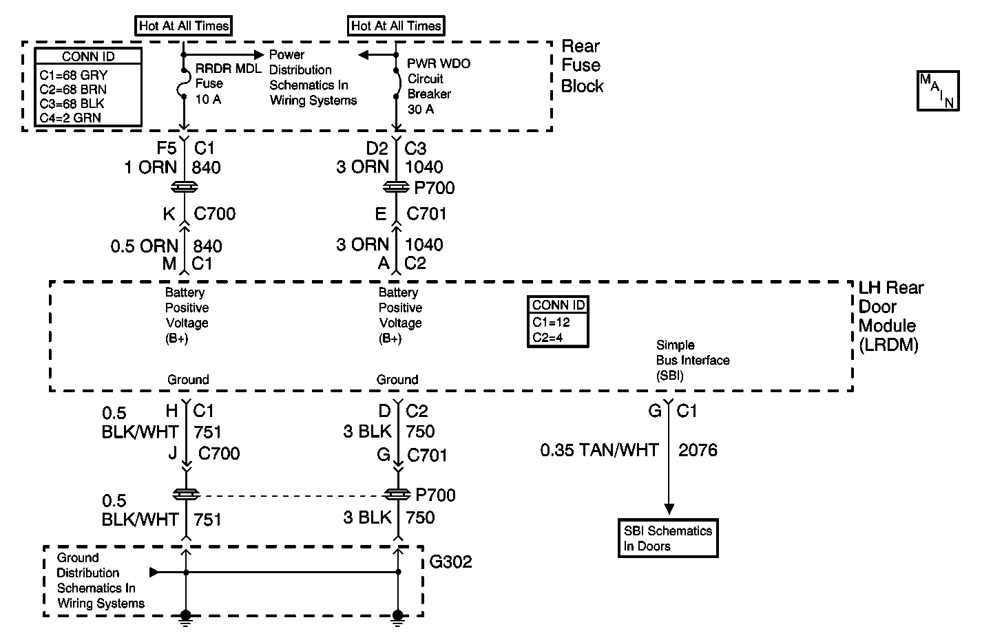
Object Number: 470294  Size: MF
Simple Bus Interface
Handling ESD Sensitive Parts Notice
G302
HVAC BATT, DRV MDL, PASS MDL and RRDRMDL Fuses (Rear Fuse Block)
PWR WDO and PWR SEAT Circuit Breakers (Rear Fuse Block)

Circuit Description

The simple bus provides a means for information exchange among the vehicle door modules. Door module information on inputs and commanded outputs are converted to serial bus interface data for exchange among the door modules. The DDM can also take information from modules connected to the class 2 serial data circuit and relay the command to the simple bus interface. The vehicle power mode message (ignition switch position) from the DIM is an example. The DDM periodically addresses each module on the simple bus interface. When a module does not respond to the DDM, the DTC for that module is set.

Conditions for Running the DTC

    • Diagnostic trouble codes B1327, B1328, U1300, and U1301 do not have a current status.
    • The driver door module has power.
    • The driver door module has received an input or a class 2 "wake-up" message.

Conditions for Setting the DTC

A response message from a door module is not received by the DDM after 2 requests.

Conditions for Clearing the DTC

    • A current DTC will clear when a response message from the failed door module is detected or at the end of the current ignition cycle.
    • A history DTC will clear upon receipt of a scan tool Clear DTCs command.

Test Description

The number(s) below refer to the step number(s) on the diagnostic table.

  1. Diagnostic trouble codes U1161, U1162, U1163, and U1170 set simultaneously indicate a total malfunction of the simple bus serial data circuit.

  2. When DTCs U1161, U1162, and U1163 set simultaneously but U1170 does not set, the malfunction is likely to be caused by an open in the simple bus serial data circuit between the DDM and splice S302.

  3. The open in the simple bus serial data circuit is between the DDM and splice S302.

  4. Loss of communications with individual modules on the simple bus serial data circuit is due to an unpowered module, an open in the simple bus serial data circuit, or a module malfunction.

  5. The simple bus serial data circuit is shorted to voltage or ground. The condition may be due to the wiring or due to a malfunction in one of the modules. When testing the wiring for a short, make sure there is not a module connected to the wire being tested.

  6. Operating the window and locks from the scan tool via the class 2 serial data circuit isolates the cause of the malfunction to the simple bus serial data circuit.

  7. The DDM has the capability of controlling the driver door functions. The malfunction must be due to the DDSA.

  8. The following steps isolate the door module which is preventing simple bus communications.

Step

Action

Yes

No

1

Did you record DTCs U1161, U1162, U1163, and U1170 all with a current status?

Go to Step 9

Go to Step 2

2

Did you record DTCs U1161, U1162, and U1163 all with a current status but not U1170?

Go to Step 3

Go to Step 5

3

Test the simple bus serial data circuit for an open between the DDM and any other door module.

Did you find and correct the condition?

Go to Step 22

Go to Step 4

4

Inspect for poor connections at the simple bus serial data circuits of the DDM. Refer to Testing for Intermittent Conditions and Poor Connections and Connector Repairs in Wiring Systems.

Did you find and correct the condition?

Go to Step 22

Go to Step 19

5

Test the battery positive voltage circuit of the module that is not communicating for an open or a short to ground. Refer to Circuit Testing and Wiring Repairs in Wiring Systems.

Did you find and correct the condition?

Go to Step 22

Go to Step 6

6

  1. Turn OFF the ignition.
  2. Test the ground circuit of the module that is not communicating for an open. Refer to Circuit Testing and Wiring Repairs in Wiring Systems.

Did you find and correct the condition?

Go to Step 22

Go to Step 7

7

Test the simple bus serial data circuit of the module that is not communicating for an open. Refer to Circuit Testing and Wiring Repairs in Wiring Systems.

Did you find and correct the condition?

Go to Step 22

Go to Step 8

8

Inspect for poor connections at the battery positive voltage circuit, the ground circuit, and the simple bus serial data circuit of the module that is not communicating. Refer to Testing for Intermittent Conditions and Poor Connections and Connector Repairs in Wiring Systems.

Did you find and correct the condition?

Go to Step 22

Go to Step 20

9

  1. Turn OFF the ignition.
  2. Disconnect the DDM and the DDSA.
  3. Test the simple bus serial data circuit between the DDM and DDSA for a short to ground or a short to voltage. (Turn ON the ignition leaving the engine OFF when you test for a short to voltage.) Refer to Circuit Testing and Wiring Repairs in Wiring Systems.

Did you find and correct the condition?

Go to Step 22

Go to Step 10

10

  1. Turn OFF the ignition.
  2. Disconnect the PDM, the LRDM and the RRDM.
  3. Test the simple bus serial data circuit for a short to ground or a short to voltage. (Turn ON the ignition leaving the engine OFF when you test for a short to voltage.) Refer to Circuit Testing and Wiring Repairs in Wiring Systems.

Did you find and correct the condition?

Go to Step 22

Go to Step 11

11

  1. Connect the DDM.
  2. Install a scan tool.
  3. Turn ON the ignition leaving the engine OFF.
  4. Select the Special Functions for the DDM.
  5. Operate the driver door power window using the scan tool.
  6. Operate the driver door power lock using the scan tool.

Does the window or lock operate properly?

Go to Step 12

Go to Step 19

12

  1. Turn OFF the ignition.
  2. Connect the DDSA.
  3. Turn ON the ignition leaving the engine OFF.
  4. Operate the driver door power window using the DDSA.
  5. Operate the driver door power lock using the DDSA.

Does the window or lock operate properly?

Go to Step 13

Go to Step 21

13

    Important: Operate the power window from the switch at the passenger door before using the switch at the driver door. The following procedure assumes the power window operates properly.

  1. Turn OFF the ignition.
  2. Connect the PDM.
  3. Turn ON the ignition leaving the engine OFF.
  4. Operate the passenger door power window from the switch at the driver door.

Does the window operate properly?

Go to Step 15

Go to Step 14

14

Select the Display DTCs function for the DDM.

Does the scan tool display DTCs U1161 with a current status?

Go to Step 20

Go to Step 19

15

    Important: Operate the power window from the switch at the left rear door before using the switch at the driver door. The following procedure assumes the power window operates properly.

  1. Turn OFF the ignition.
  2. Connect the LRDM.
  3. Turn ON the ignition leaving the engine OFF.
  4. Operate the left rear door power window from the switch at the driver door.

Does the window operate properly?

Go to Step 17

Go to Step 16

16

Select the Display DTCs function for the DDM.

Does the scan tool display DTCs U1162 with a current status?

Go to Step 20

Go to Step 19

17

    Important: Operate the power window from the switch at the right rear door before using the switch at the driver door. The following procedure assumes the power window operates properly.

  1. Turn OFF the ignition.
  2. Connect the RRDM.
  3. Turn ON the ignition leaving the engine OFF.
  4. Operate the right rear door power window from the switch at the driver door.

Does the window operate properly?

Go to Step 22

Go to Step 18

18

Select the Display DTCs function for the DDM.

Does the scan tool display DTCs U1163 with a current status?

Go to Step 20

Go to Step 19

19

Replace the DDM. Refer to Door Control Module Replacement .

Did you complete the replacement?

Go to Step 22

--

20

Replace the inoperative door module. Refer to Door Control Module Replacement .

Did you complete the replacement?

Go to Step 22

--

21

Replace the DDSA. Refer to Front Door Switch Replacement .

Did you complete the replacement?

Go to Step 22

--

22

Use the scan tool in order to clear the DDM DTCs.

Did you complete the action?

Go to Diagnostic System Check - Door Systems

--