GM Service Manual Online
For 1990-2009 cars only

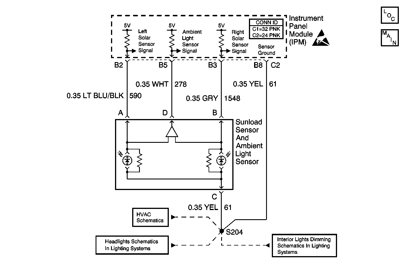
Object Number: 430153  Size: MF
HVAC Components
Temperature Sensors W/CJ2
Handling ESD Sensitive Parts Notice
Temperature Sensors W/CJ2
Headlamp Switch, Ambient Light Sensor (CJ2)
Dimmer Control

Circuit Description

The instrument panel integration module (IPM) monitors the ambient light on the driver's side of the vehicle via a light sensitive photodiode. The IPM uses this information to calculate a solar correction that compensates for the effect of the sun on the inside temperature. When the sensor is in direct sunlight, the signal voltage is low. When the sensor is shaded, the signal voltage is high. The IPM requests A/C clutch engagement and controls the air mix door positions in order to maintain the temperature selected on the temperature controls.

Conditions for Running the DTC

The ignition is turned ON.

Conditions for Setting the DTC

The IPM detects the signal circuit is less than 0.09 V (5 counts) or greater than 4.90 V (250 counts).

Action Taken When the DTC Sets

A default value of 0 counts will be used for solar correction by the IPM. The solar correction displayed on the scan tool in the HVAC Sensors data list will be the default value. The actual sensor reading will be displayed on the scan tool in the Open/Short data list.

Conditions for Clearing the DTC

    • The DTC will become history if the IPM no longer detects a failure.
    • The history DTC will clear after 50 fault free ignition cycles.
    • The DTC can be cleared with a scan tool.

Test Description

The number(s) below refer to the step number(s) on the diagnostic table.

  1. Tests for the proper operation of the circuit in the high voltage range.

  2. Tests for the proper operation of the circuit in the low voltage range. If the fuse in the jumper opens when you perform this test, the signal circuit is shorted to voltage.

Step

Action

Values

Yes

No

1

Did you perform the HVAC Diagnostic System Check?

--

Go to Step 2

Go to Diagnostic System Check

2

  1. Install a scan tool.
  2. Turn ON the ignition, with the engine OFF.
  3. With a scan tool, observe the Left Solar Sensor parameter in the Instrument Panel Module Open/Short data list.

Does the scan tool indicate that the Left Solar Sensor parameter is within the specified range?

0.09-4.90 V

Go to Testing for Intermittent Conditions and Poor Connections

Go to Step 3

3

  1. Turn OFF the ignition.
  2. Disconnect the sunload sensor.
  3. Turn ON the ignition, with the engine OFF.
  4. With a scan tool, observe the Left Solar Sensor parameter.

Does the scan tool indicate that the Left Solar Sensor parameter is greater than the specified value?

4.90 V

Go to Step 4

Go to Step 5

4

  1. Turn OFF the ignition.
  2. Connect a 3-amp fused jumper wire between the signal circuit of the LH sunload sensor and the ground circuit of the sunload sensor.
  3. Turn ON the ignition, with the engine OFF.
  4. With a scan tool, observe the Left Solar Sensor parameter.

Does the scan tool indicate that the Left Solar Sensor parameter is less than the specified value?

0.09 V

Go to Step 8

Go to Step 6

5

Test the signal circuit of the LH sunload sensor for a short to ground. Refer to Circuit Testing and Wiring Repairs in Wiring Systems.

Did you find and correct the condition?

--

Go to Step 12

Go to Step 9

6

Test the signal circuit of the LH sunload sensor for a short to voltage, a high resistance, or an open. Refer to Circuit Testing and Wiring Repairs in Wiring Systems.

Did you find and correct the condition?

--

Go to Step 12

Go to Step 7

7

Test the ground circuit of the sunload sensor for a high resistance or an open. Refer to Circuit Testing and Wiring Repairs in Wiring Systems.

Did you find and correct the condition?

--

Go to Step 12

Go to Step 9

8

Inspect for poor connections at the harness connector of the sunload sensor. Refer to Testing for Intermittent Conditions and Poor Connections and Connector Repairs in Wiring Systems.

Did you find and correct the condition?

--

Go to Step 12

Go to Step 10

9

Inspect for poor connections at the harness connector of the IPM. Refer to Testing for Intermittent Conditions and Poor Connections and Connector Repairs in Wiring Systems.

Did you find and correct the condition?

--

Go to Step 12

Go to Step 11

10

Replace the sunload sensor. Refer to Ambient Temperature Sensor Replacement in Instrument Panel, Gauges and Console.

Did you complete the replacement?

--

Go to Step 12

--

11

Replace the IPM. Refer to Instrument Panel Module Replacement in Body Control System.

Did you complete the replacement?

--

Go to Step 12

--

12

  1. Use the scan tool in order to clear the DTCs.
  2. Operate the vehicle within the Conditions for Running the DTC as specified in the supporting text.

Does the DTC reset?

--

Go to Step 2

System OK