GM Service Manual Online
For 1990-2009 cars only

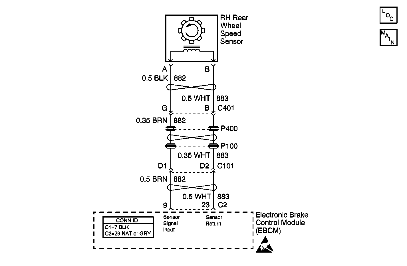
Object Number: 456430  Size: MF
ABS Components
Wheel Speed Sensors
Handling ESD Sensitive Parts Notice

Circuit Description

As the wheel spins, the wheel speed sensor produces an AC signal. The electronic brake control module (EBCM) uses the frequency of the AC signal to calculate the wheel speed.

Conditions for Running the DTC

The ignition is ON.

Conditions for Setting the DTC

One of the following conditions exists for 0.02 seconds:

    • A short to voltage - the wheel speed sensor signal circuit and wheel speed sensor return circuit voltages are both greater than 4.25 volts.
    • A short to ground - the wheel speed sensor signal circuit and wheel speed sensor return circuit voltages are both less than 0.75 volts.
    • An open - the wheel speed sensor signal circuit voltage is greater than 4.25 volts and wheel speed sensor return circuit voltage is less than 0.75 volts.

Action Taken When the DTC Sets

If equipped, the following actions occur:

    • The EBCM disables the ABS/TCS/VSES for the duration of the ignition cycle.
    • The EBCM temporarily suspends the TIM monitoring function while the DTC is set.
    • The DRP does not function optimally.
    • The ABS indicator turns ON.
    • The TRACTION OFF indicator turns ON.
    • The DIC displays the SERVICE STABILITY SYSTEM message.

Conditions for Clearing the DTC

    • The condition for the DTC is no longer present and the DTC is cleared with a scan tool.
    • The electronic brake control module (EBCM) automatically clears the history DTC when a current DTC is not detected in 100 consecutive drive cycles.

Diagnostic Aids

If the customer comments that the ABS indicator is ON only during moist environmental conditions (rain, snow, vehicle wash, etc.), inspect the wheel speed sensor wiring for signs of water intrusion. If the DTC is not current, clear all DTCs and simulate the effects of water intrusion by using the following procedure:

  1. Spray the suspected area with a 5% saltwater solution. To create a 5% saltwater solution, add 2 teaspoons of salt to 354 ml (12 oz) of water.
  2. Test drive the vehicle over various road surfaces (bumps, turns, etc.) above 40 km/h (25 mph) for at least 30 seconds.
  3. If the DTC returns, replace the suspected wheel speed sensor or repair the wheel speed sensor wiring.
  4. Rinse the area thoroughly when completed.

Test Description

The number below refers to the step number on the diagnostic table.

  1. This step tests for an open in the wheel speed sensor and the wheel speed sensor signal circuits.

Step

Action

Value(s)

Yes

No

1

Did you perform the ABS Diagnostic System Check?

--

Go to Step 2

Go to Diagnostic System Check - ABS

2

  1. Turn OFF the ignition.
  2. Important: Removing battery voltage or ground from the EBCM will result is the following conditions:

       • Loss of the TIM learned tire inflation configuration parameters
       • Set DTC C1245 Low Tire Pressure Detected
    When the diagnosis is complete, inspect the tire pressures and perform the TIM reset. Refer to Tire Inflation Monitor Resetting in Tire Pressure Monitoring.

  3. Disconnect the EBCM harness connector.
  4. Install the J 39700 universal pinout box using the J 39700-300 cable adapter to the EBCM harness connector only.
  5. Measure the resistance at the J 39700 universal pinout box between the wheel speed sensor signal circuit and the wheel speed sensor return circuit.

Does the resistance measure within the specified range?

850-1350 ohms

Go to Step 6

Go to Step 3

3

  1. Disconnect the wheel speed sensor connector.
  2. Measure the resistance across the wheel speed sensor.

Does the resistance measure within the specified range?

850-1350 ohms

Go to Step 4

Go to Step 12

4

Test the wheel speed sensor signal circuit for an open. Refer to Circuit Testing and Wiring Repairs in Wiring Systems.

Did you find and correct the condition?

--

Go to Step 14

Go to Step 5

5

Test the wheel speed sensor return circuit for an open. Refer to Circuit Testing and Wiring Repairs in Wiring Systems.

Did you find and correct the condition?

--

Go to Step 14

Go to Testing for Intermittent Conditions and Poor Connections in Wiring Systems

6

Test the wheel speed sensor signal circuit for a short to ground. Refer to Circuit Testing and Wiring Repairs in Wiring Systems.

Did you find and correct the condition?

--

Go to Step 14

Go to Step 7

7

Test the wheel speed sensor return circuit for a short to ground. Refer to Circuit Testing and Wiring Repairs in Wiring Systems.

Did you find and correct the condition?

--

Go to Step 14

Go to Step 8

8

Test the wheel speed sensor signal circuit for a short to voltage. Turn ON the ignition, with the engine OFF when you test for a short to voltage. Refer to Circuit Testing and Wiring Repairs in Wiring Systems.

Did you find and correct the condition?

--

Go to Step 14

Go to Step 9

9

Test the wheel speed sensor return circuit for a short to voltage. Turn ON the ignition, with the engine OFF when you test for a short to voltage. Refer to Circuit Testing and Wiring Repairs in Wiring Systems.

Did you find and correct the condition?

--

Go to Step 14

Go to Step 10

10

Inspect for poor connections at the harness connector of the wheel speed sensor. Refer to Testing for Intermittent Conditions and Poor Connections and Connector Repairs in Wiring Systems.

Did you find and correct the condition?

--

Go to Step 14

Go to Step 11

11

Inspect for poor connections at the harness connector of the EBCM. Refer to Testing for Intermittent Conditions and Poor Connections and Connector Repairs in Wiring Systems.

Did you find and correct the condition?

--

Go to Step 14

Go to Step 13

12

Replace the wheel speed sensor. Refer to Wheel Speed Sensor Replacement .

Did you complete the repair?

--

Go to Step 14

--

13

Important: Perform the setup procedure for the EBCM. An unprogrammed EBCM will result in the following conditions:

   • Inoperative or poorly functioning DRP/ABS/TCS/VSES/VES/TIM (if equipped)
   • Set DTC C1248 EBCM Turned the Red Brake Warning Indicator On
   • Set DTC C1255m3 EBCM Internal Malfunction

Replace the EBCM. Refer to Electronic Brake Control Module Replacement .

Did you complete the repair?

--

Go to Step 14

--

14

  1. Use the scan tool in order to clear the DTCs.
  2. Operate the vehicle within the Conditions for Running the DTC as specified in the supporting text.

Does the DTC reset?

--

Go to Step 2

System OK