GM Service Manual Online
For 1990-2009 cars only

Whistle Wind Noise from Upper W/S or Corner Reveal Mldg (Apply Urethane Adhesive)

Subject:Whistle Type Wind Noise From Upper Windshield/Windshield Upper Corner Reveal Molding Area (Apply Urethane Adhesive)

Models:2000-2001 Buick LeSabre
2000 Cadillac DeVille -- Built Prior to VIN Breakpoint YU312523



This bulletin is being revised to update model information, repair procedures and labor times. Please discard Corporate Bulletin Number 00-08-48-002 (Section 8 -- Body & Accessories).


Condition

Some customers may comment that at combined vehicle and wind speeds of 80 km/h (50 mph) and above and with outside air temperatures of 24 C (75 F) and above, a whistle type noise (similar to a train whistle) can be heard coming from:

    • On DeVille: The upper center windshield area.
    • On LeSabre: The windshield upper corner area.

Cause

This condition may be due to wind getting up underneath the trailing edge of the windshield reveal molding causing it to flutter/vibrate against the DeVille roof panel and the LeSabre windshield pillar panel.

Correction

Fill the gap between the panel edge and the windshield reveal molding by applying a bead of urethane adhesive. Refer to the appropriate repair procedure.

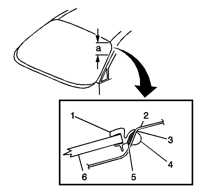
Buick Repair Procedure


Object Number: 767069  Size: SH
  1. Windshield Reveal Molding
  2. Windshield Pillar Panel
  3. Windshield Pillar Panel Edge
  4. Area to be Cleaned
  5. Urethane Adhesive
  6. Glass
  1. Use a 50/50 mixture of isopropyl alcohol and water by volume on a dampened lint-free cloth to clean the area (4) underneath the trailing edge of the windshield reveal molding (1) and the windshield upper corner pillar surface starting at the roof to pillar joint and ending 25.4 mm (10 in) down the pillar (a).
  2. Important: Tape application must be close to the panel edge (3) while allowing enough space for the adhesive bead (5) to be applied without touching the tape.

  3. Apply 19 mm (¾ in) wide masking tape underneath the trailing edge of the windshield reveal molding (1) starting at the roof to pillar joint and ending 25.4 mm (10 in) down the pillar (a).
  4. Apply 5 cm (2 in) wide masking tape overlapping the 19 mm (¾ in) wide masking tape in order to protect the painted surface of the windshield upper corner pillar (2).
  5. Important: Use extreme care to ensure that the adhesive does not come in contact with any painted portions of the vehicle.

  6. Use a plastic trim stick to hold back the windshield reveal molding (1) and apply a smooth, continuous bead of the urethane adhesive (5) between the underside of the windshield reveal molding and the panel edge (3) starting at the roof to pillar joint and ending 25.4 mm (10 in) down the pillar (a). Use the Urethane Adhesive Caulking Kit, U.S. P/N 12346392, Canadian P/N 10952983, or the equivalent* such as Speed Set ™ Windshield Sealant from Kent Industries, P/N 10545.
  7. * Refer to Corporate Service Bulletin Number 83-15-16 for additional information on urethane adhesives equivalent to P/N 12346392.

  8. Repeat Step 4 on the opposite side of the vehicle.
  9. After applying the adhesive, ensure the molding is laying flat with no wrinkles.
  10. Important: Do not physically disturb the repair area until after the minimum time has elapsed. Allow a minimum of 1 hour for the chemical-curing type urethane adhesive.

  11. Carefully remove the protective masking tape from the painted surface of the roof panel.
  12. Clean any excess urethane adhesive from the body.

DeVille Repair Procedure


Object Number: 735163  Size: SH
  1. Upper Windshield Reveal Molding
  2. Roof Panel
  3. Area to be Cleaned
  4. Roof Panel Edge
  5. Urethane Adhesive
  6. Glass
  1. Use a 50/50 mixture of isopropyl alcohol and water by volume on a dampened lint-free cloth to clean the area (3) underneath the trailing edge of the upper windshield reveal molding (1) and the roof panel surface (2) from one side of the vehicle to the other.
  2. Important: Tape application must be close to the roof panel edge (4) while allowing enough space for the adhesive bead (5) to be applied without touching the tape.

  3. Apply 19 mm (¾ in) wide masking tape underneath the trailing edge of the upper windshield reveal molding (1) from one side of the vehicle to the other.
  4. Apply 5 cm (2 in) wide masking tape overlapping the 19 mm (¾ in) wide masking tape in order to protect the painted surface of the roof panel (2).
  5. Important: Use extreme care to ensure that the adhesive does not come in contact with any painted portions of the vehicle.

  6. Use a plastic trim stick to hold back the upper windshield reveal molding (1) and apply a smooth, continuous bead of the urethane adhesive (5) between the underside of the windshield reveal molding and the roof panel edge (4) from the center of the upper windshield to one side of the vehicle. Use the Urethane Adhesive Caulking Kit, U.S. P/N 12346392, Canadian P/N 10952983, or the equivalent* such as Speed Set ™ Windshield Sealant from Kent Industries, P/N 10545.
  7. * Refer to Corporate Service Bulletin Number 83-15-16 for additional information on urethane adhesives equivalent to P/N 12346392.

  8. Repeat Step 4 on the opposite side of the vehicle.
  9. After applying the adhesive, ensure the molding is laying flat with no wrinkles.
  10. Important: Do not physically disturb the repair area until after the minimum time has elapsed. Allow a minimum of 1 hour for the chemical-curing type urethane adhesive.

  11. Carefully remove the protective masking tape from the painted surface of the roof panel.
  12. Clean any excess urethane adhesive from the body.

Parts Information

Part Number

Description

12346392 U.S.

10952983 Canada

Urethane Adhesive Caulking Kit

Parts are currently available from GMSPO.

Warranty Information

For vehicles repaired under warranty, use:

Labor Operation

Description

Labor Time

*B7565

For DeVille

Molding, Windshield Reveal - Replace

0.4 hr

B7540

For LeSabre

0.4 hr**

*This is a unique labor operation to be used only with this bulletin. It will not be published in the Labor Time Guide.

**This is a unique labor operation time to be used only with this bulletin. It will not be published in the Labor Time Guide.