GM Service Manual Online
For 1990-2009 cars only

Vibration Felt After Shifting Into Drive or Reverse (Verify Rear Transmission Mount Shim Thickness, Resettle Powertrain Mounts, Replace Rear Transmission Mount If Necessary)

Subject:Vibration Felt After Shifting Into Drive or Reverse (Verify Rear Transmission Mount Shim Thickness, Resettle Powertrain Mounts, Replace Rear Transmission Mount if Necessary)

Models:2001 Buick LeSabre
Built Prior to VIN Breakpoint 1U168687



Condition

Some customers may comment that upon acceleration after shifting the vehicle into drive or reverse, a vibration can be heard and felt in the steering wheel, seat and floor.

Cause

This condition may be due to the rear transmission mount grounding out, frame alignment to the body or a "loaded" powertrain mount.

Correction

Follow the service procedure below to diagnose and repair effected vehicles.

Rear Transmission Mount Inspection

  1. Raise and support the vehicle. Refer to the Lifting and Jacking the Vehicle in the General Information sub-section of the Service Manual (SI2000 Document ID # 439413).
  2. Remove the plastic clip from the power steering gear heat shield.
  3. Remove the power steering gear heat shield retaining bolts.
  4. Remove the power steering gear heat shield.

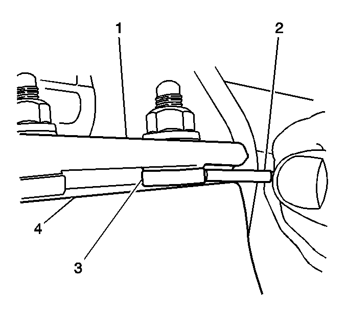
  5. Object Number: 852540  Size: SH
  6. Measure the thickness of the rear transmission mount shim (3) located between the mount bracket (1) and the top of the mount (4) using a 5 mm (3/16 in) drill bit (2).
  7. If the shim (3) thickness IS EQUAL TO OR GREATER THAN 5 mm (3/16 in), perform the Frame Alignment and Engine Mount Neutralization procedures listed below.
  8. If the shim (3) thickness IS LESS THAN 5 mm (3/16 in), replace the rear transmission mount (4), P/N 25723646, using the service procedure listed below.

Rear Transmission Mount Replacement

  1. Support the rear of the engine frame with suitable adjustable jack stands.
  2. Remove the four rear frame mounting bolts.
  3. Lower the rear of the cradle with an adjustable jack stand.
  4. Remove the three nuts and two bolts retaining the rear transmission mount.
  5. Remove the rear transmission mount and discard.
  6. Replace the rear transmission mount with P/N 25723646.
  7. Important: Hand tighten the lower mount fasteners at this time. They will be tightened in the Engine Mount Neutralization Procedure.

  8. Install the three nuts and two bolts retaining the rear transmission mount and hand tighten.
  9. Tighten
    Tighten the two upper rear transmission mount to the bracket nuts to 50 N·m (37 lb ft).

  10. Install the power steering gear heat shield.
  11. Install the power steering gear heat shield retaining bolts.
  12. Tighten
    Tighten the power steering gear heat shield retaining bolts to 9 N·m (79 lb in).

  13. Install the plastic clip to the power steering gear heat shield retaining the wire harness.
  14. Important: Raise the rear of the frame with the adjustable jack stands and hand tighten the frame mounting bolts at this time. They will be tightened in the Frame Alignment Procedure.

  15. Install the four rear frame mounting bolts and hand tighten.
  16. Proceed to Frame Alignment and Engine Mount Neutralization Procedures below.

Frame Alignment


    Object Number: 105376  Size: SH
  1. Inspect the frame to body alignment by inserting a 16 mm (5/8 in) guide pin or drill bit into the frame-to-body guide pin holes (1) in the rear of the frame. If the guide pins do not visually align perpendicular to the floor, the frame is not correctly aligned with the body. Proceed with the next step. If the frame alignment is correct, proceed with Step 9.
  2. Remove the retainers from the front air deflector.
  3. Remove the front air deflector.
  4. Support the engine frame with suitable adjustable jack stands.
  5. Loosen, DO NOT REMOVE, the six (two if you replaced the mount) frame mounting bolts.
  6. Using the 16 mm (5/8 in) dowel pins or drill bit in the alignment holes (1), align the engine frame (2) with the body.
  7. Install the front air deflector.
  8. Install the front air deflector retainers.
  9. Tighten the frame mounting bolts.
  10. Tighten
    Tighten the frame mounting bolts to 191 N·m(141 lb ft).

  11. Remove the jack stands.

Engine Mount Neutralization Procedure

  1. Loosen, DO NOT REMOVE, the lower nut and two bolts retaining the rear mount (if the rear mount was not replaced in the above Rear Transmission Mount Replacement procedure).
  2. Loosen, DO NOT REMOVE, the lower nut retaining the front mount to the frame.
  3. Loosen, DO NOT REMOVE, the lower nut retaining the right mount to the bracket.
  4. Loosen, DO NOT REMOVE, the lower nut retaining the left mount to the bracket.
  5. Lower the adjustable jack stands allowing the frame to lower to a position that the bottoms of the mounts no longer touch the frame or the mount brackets.
  6. Important: The mount fastening sequence is critical. Tighten the right mount first, the left mount second, the front mount third and the rear mount last.

  7. Raise the frame with the adjustable jack stands and tighten the nuts as follows:
  8. Tighten

    1. Tighten the right mount nut to 70 N·m (52 lb ft).
    2. Tighten the left mount nut to 70 N·m (52 lb ft).
    3. Tighten the nut retaining the front mount to the frame to 70 N·m (52 lb ft).
    4. Tighten the rear mount bolts and nut to 50 N·m (37 lb ft).
  9. Lower and road test the vehicle.
  10. Align the vehicle if necessary. Refer to Measuring Wheel Alignment in the Wheel Alignment sub-section of the Service Manual (SI2000 Document ID # 668446.

Parts Information

Part Number

Description

25723646

Mount Assembly, Transmission Rear

Parts are currently available from GMSPO.

Warranty Information

For vehicles repaired under warranty, use:

Labor Operation

Description

Labor Time

K8501

Rear Transmission Mount Inspection

0.3 hr

Add A

Rear Transmission Mount Replacement

0.3 hr

Add B

Frame Alignment

0.2 hr

Add C

Mount Neutralization

0.5 hr

Add D

Wheel Alignment

Use Published Labor Operation Time