GM Service Manual Online
For 1990-2009 cars only

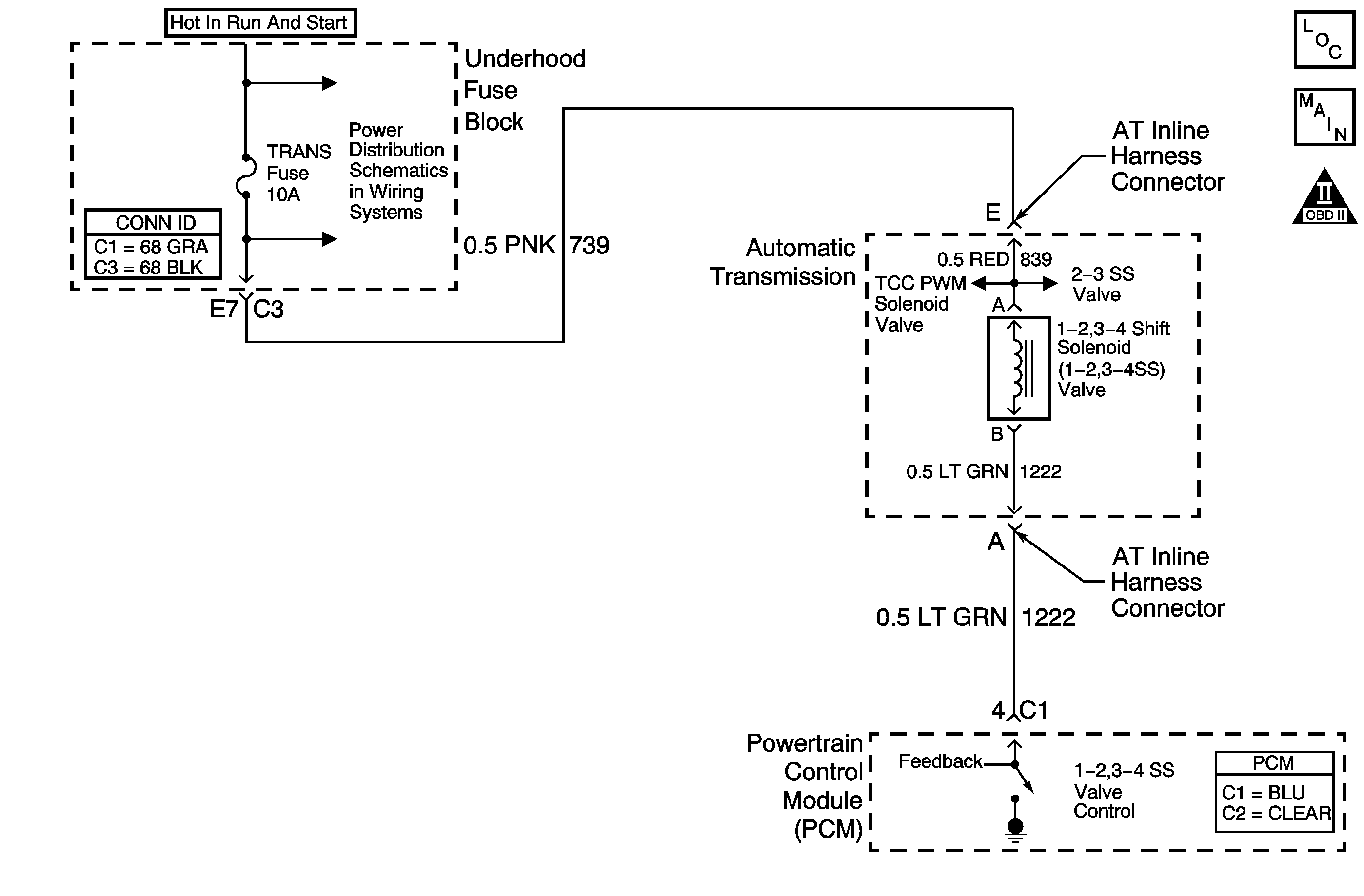
Object Number: 656035  Size: MF
Master Electrical Component List
Automatic Transmission Controls Schematics
OBD II Symbol Description Notice

Circuit Description

The 1-2, 3-4 shift solenoid (1-2, 3-4 SS) valve controls transmission fluid pressure acting on the 1-2 and 3-4 shift valves to position the valves for the appropriate gear. The 1-2, 3-4 SS valve is a normally-open exhaust valve located on the control valve body. A fused circuit supplies ignition voltage to the 1-2, 3-4 SS valve. The PCM commands the solenoid ON or OFF by switching the ground path. When the 1-2, 3-4 SS valve is commanded ON, the PCM senses low voltage. When the 1-2, 3-4 SS valve is commanded OFF, the PCM senses high voltage. Refer to Shift Solenoid Valve State and Gear Ratio .

If the PCM detects a continuous open, short to ground or short to power in the 1-2, 3-4 SS valve circuit, then DTC P0753 sets. DTC P0753 is a type B DTC.

Conditions for Running the DTC

    • The system voltage is 9-18 volts.
    • The engine speed is greater than 500 RPM for 5 seconds and not in fuel shut off.
    • The PCM has commanded the 1-2, 3-4 SS valve ON and OFF.

Conditions for Setting the DTC

DTC P0753 sets when one of the following conditions occurs for 5 seconds:

Condition 1

The PCM commands the solenoid ON and voltage feedback remains high (B+).

Condition 2

The PCM commands the solenoid OFF, and the voltage feedback remains low (0 volts).

Action Taken When the DTC Sets

    • The PCM illuminates the malfunction indicator lamp (MIL) during the second consecutive trip in which the Conditions for Setting the DTC are met.
    • The PCM commands maximum line pressure.
    • The PCM inhibits TCC.
    • The PCM freezes shift adapts.
    • The PCM inhibits 3-2 downshifts when the vehicle speed is greater than 48 km/h (30 mph).
    • The PCM records the operating conditions when the Conditions for Setting the DTC are met. The PCM stores this information as Freeze Frame and Failure Records.
    • The PCM stores DTC P0753 in PCM history during the second consecutive trip in which the Conditions for Setting the DTC are met.

Conditions for Clearing the MIL/DTC

    • The PCM turns OFF the MIL during the third consecutive trip in which the diagnostic test runs and passes.
    • A scan tool can clear the MIL/DTC.
    • The PCM clears the DTC from PCM history if the vehicle completes 40 warm-up cycles without an emission-related diagnostic fault occurring.
    • The PCM cancels the DTC default actions when the ignition switch is OFF long enough in order to power down the PCM.

Diagnostic Aids

Ensure the wiring harness is not stretched too tightly or other components are pressing on the A/T inline 20-way connector body. Also inspect for proper clearance to any other components and wiring. Refer to Intermittent Conditions in Engine Controls - 3.8L.

Test Description

The numbers below refer to the step numbers on the diagnostic table.

  1. A short to ground in the power feed circuit to the solenoid ahead of the splice would open the fuse and set DTCs for other solenoids on the same circuit. An open in the same circuit would not open the fuse but, would set the other DTCs.

DTC P0753 1-2, 3-4 Shift Solenoid Circuit Electrical

Step

Action

Value(s)

Yes

No

1

Did you perform the Powertrain Diagnostic System Check?

--

Go to Step 2

Go to Diagnostic System Check - Engine Controls in Engine Controls

2

  1. Install a Scan Tool .
  2. Turn ON the ignition with the engine OFF.
  3. Important: Before clearing the DTCs, use the Scan Tool in order to record the Freeze Frame and Failure Records for reference. Using the Clear Info function will erase the stored Freeze Frame and Failure Records from the PCM.

  4. Record the Freeze Frame and Failure Records, then clear the DTCs.

Are DTCs P0758 or P1860 also set?

--

Go to Step 3

Go to Step 9

3

  1. Inspect the fuse in the ignition 1 voltage circuit for an open.
  2. Replace the fuse if necessary.

Was the fuse open?

--

Go to Step 4

Go to Step 7

4

Important: The condition that affects this circuit may exist in other connecting branches of the circuit. Refer to Power Distribution Schematics in Wiring Systems for complete circuit distribution.

Test the ignition 1 voltage circuit (CKT 739) of the 1-2, 3-4 SS valve for a short to ground between the fuse block and the AT inline 20-way connector.

Refer to Circuit Testing and Wiring Repairs in Wiring Systems.

Did you find and correct the condition?

--

Go to Step 19

Go to Step 5

5

  1. Disconnect the AT wiring harness from the 1-2, 3-4 SS valve, the 2-3 SS valve and the TCC PWM solenoid valve.
  2. Important: The condition that affects this circuit may exist in other connecting branches of the circuit. Refer to Power Distribution Schematics in Wiring Systems for complete circuit distribution.

  3. Test the ignition 1 voltage circuit (CKT 839) of the 1-2, 3-4 SS valve for a short to ground between the AT inline 20-way connector and the solenoids.
  4. Refer to Circuit Testing in Wiring Systems.

Did you find the condition?

--

Go to Step 16

Go to Step 6

6

  1. Test the 1-2, 3-4 SS valve, the 2-3 SS valve and the TCC PWM solenoid valve for a short to ground between the ignition 1 voltage side of each solenoid and the transmission case.
  2. Replace any faulty solenoid.

Did you complete the replacement?

--

Go to Step 19

--

7

Test the ignition 1 voltage circuit (CKT 739) of the 1-2, 3-4 SS valve for an open between the fuse block and the AT inline 20-way connector.

Refer to Circuit Testing and Wiring Repairs in Wiring Systems.

Did you find and correct the condition?

--

Go to Step 19

Go to Step 8

8

Test the ignition 1 voltage circuit (CKT 839) of the 1-2, 3-4 SS valve for an open between the AT inline 20-way connector and the solenoid.

Refer to Circuit Testing in Wiring Systems.

Did you find the condition?

--

Go to Step 16

Go to Intermittent Conditions in Engine Controls

9

  1. Turn OFF the ignition.
  2. Disconnect the AT inline 20-way harness connector (additional DTCs may set).
  3. Install the J 44152 jumper harness on the engine side of the AT inline 20-way connector.
  4. Using the J 35616 connector test adapter kit, connect a test lamp from terminal A to terminal  E of the J 44152 jumper harness.
  5. Refer to Automatic Transmission Inline Harness Connector End View .

  6. Turn ON the ignition with the engine OFF.
  7. With a Scan Tool , command the 1-2, 3-4 SS valve ON and OFF three times.

Does the test lamp turn ON and OFF?

--

Go to Step 12

Go to Step 10

10

Test the ignition 1 voltage circuit (CKT 739) of the 1-2, 3-4 SS valve for an open between the fuse block and the AT inline 20-way connector.

Refer to Circuit Testing and Wiring Repairs in Wiring Systems.

Did you find and correct the condition?

--

Go to Step 19

Go to Step 11

11

Test the control circuit (CKT 1222) of the 1-2, 3-4 SS valve for an open, a short to ground or a short to power between the PCM and the AT inline 20-way connector.

Refer to Circuit Testing and Wiring Repairs in Wiring Systems.

Did you find and correct the condition?

--

Go to Step 19

Go to Step 18

12

  1. Connect the J 44152 jumper harness to the transmission side of the AT inline 20-way connector.
  2. Using a J 39200 digital multimeter (DMM), measure the resistance of the 1-2, 3-4 SS valve circuit between terminals A and E of the J 44152 jumper harness.
  3. Refer to Automatic Transmission Inline Harness Connector End View .

Does the resistance measure within the specified range?

19-32 ohms

Go to Step 13

Go to Step 15

13

Measure the resistance from terminal A and terminal E to the transmission case.

Are both readings greater than the specified value?

10 K ohms

Go to Intermittent Conditions in Engine Controls

Go to Step 14

14

  1. Disconnect the harness from the 1-2, 3-4 SS valve.
  2. Measure the resistance from each terminal of the solenoid to the transmission case.

Are both readings greater than the specified value?

10 K ohms

Go to Step 16

Go to Step 17

15

  1. Disconnect the harness from the 1-2, 3-4 SS valve.
  2. Measure the resistance of the solenoid.

Is the resistance within the specified range?

19-31 ohms

Go to Step 16

Go to Step 17

16

Replace the AT wiring harness assembly.

Refer to Wiring Harness Replacement .

Did you complete the replacement?

--

Go to Step 19

--

17

Replace the 1-2, 3-4 SS valve.

Refer to 1-2 Shift Solenoid Valve Replacement .

Did you complete the replacement?

--

Go to Step 19

--

18

Replace the PCM.

Refer to Powertrain Control Module Replacement in Engine Controls.

Did you complete the replacement?

--

Go to Step 19

--

19

Perform the following procedure in order to verify the repair:

  1. Select DTC.
  2. Select Clear Info.
  3. Drive the vehicle in D4 until the transmission shifts to 2nd gear and maintain speed for at least 5 seconds.
  4. Ensure that the gear ratios are as specified for 1st and 2nd gear.
  5. Select Specific DTC.
  6. Enter DTC P0753.

Has the test run and passed?

1st: 2.87:1 to 2.97:1

2nd: 1.52:1 to 1.62:1

3rd: 0.95:1 to 1.05:1

4th: 0.65:1 to 0.75:1

System OK

Go to Step 1