GM Service Manual Online
For 1990-2009 cars only
Makes
🢒
Buick
🢒
2002
🢒
LeSabre
🢒
Body and Accessories
🢒
Entertainment
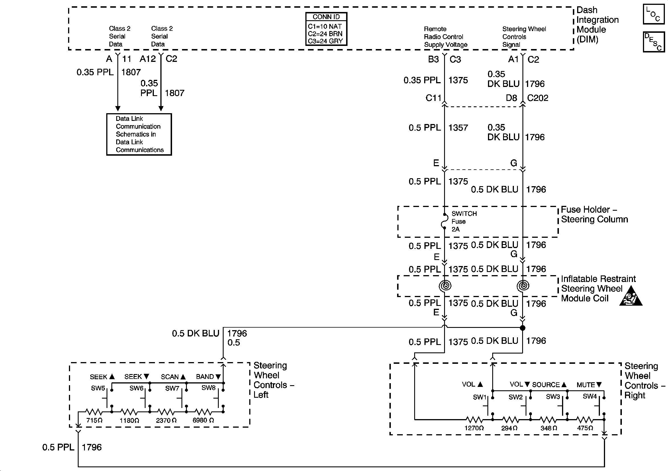
🢒 Steering Wheel Controls Schematics
Master Electrical Component List
Entertainment Schematic Icons
G200 (1 of 2)
G200 (1 of 2)
Serial Data Class 2
Steering Wheel Controls Dimming