GM Service Manual Online
For 1990-2009 cars only

Object Number: 656037  Size: MF
Master Electrical Component List
Automatic Transmission Controls Schematics
OBD II Symbol Description Notice

Circuit Description

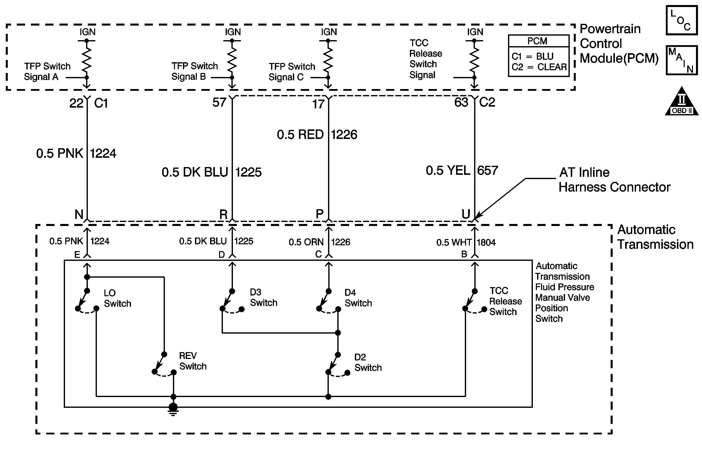
The automatic transmission fluid pressure (TFP) manual valve position switch consists of six pressure switches three normally-closed and three normally-open. Ignition voltage is applied to each of the switches. By grounding or opening one or more of these switches with fluid pressure from the manual valve, the PCM can detect which gear range is selected. Refer to Transmission Fluid Pressure Manual Valve Position Switch Logic .

If the PCM detects an invalid combination of inputs LOW/HI/LOW or LOW/LOW/LOW, then DTC P1810 sets. If the PCM detects a gear range other than the one indicated, then DTC P1810 sets. DTC P1810 is a type B DTC.

Conditions for Running the DTC

The system voltage is 9-18 volts.

Conditions for Setting the DTC

DTC P1810 sets when at least one of the following conditions occurs:

Condition 1

    • The engine speed is greater than 500 RPM for 5 seconds and not in fuel shut off.
    • The TFP manual valve position switch indicates an invalid switch combination for 60 seconds.

Condition 2

    • No VSS DTC P0502 or P0503.
    • The vehicle speed is less than 5 km/h (3 mph).
    • The engine speed transitions from less than 50 RPM to greater than 700 RPM indicating start up.
    • TFP manual valve position switch indicates REVERSE, D2 or D4 for 7 seconds at engine start up without indicating PARK or NEUTRAL.

Condition 3

    • No TP sensor DTC P0121, P0122 or P0123.
    • No VSS DTC P0502 or P0503.
    • No AT ISS sensor DTC P0716 or P0717.
    • No 1-2 SS valve DTC P0751, P0752 or P0753.
    • No 2-3 SS valve DTC P0756, P0757 or P0758.
    • The engine speed is greater than 500 RPM for 5 seconds and not in fuel shut off.
    • The TP angle is greater than 9%.
    • The vehicle speed is more than 8 km/h (5 mph).
    • The engine torque is greater than 70 N·m (50 lb ft) and one of the following conditions occurs:
       - The gear ratio indicates REVERSE, D4, D3, D2 or D1 and the TFP manual valve position switch indicates PARK or NEUTRAL for 5 seconds.
       - The gear ratio indicates D4, D3, D2 or D1 and the TFP manual valve position switch indicates REVERSE for 5 seconds.
       - The gear ratio indicates REVERSE and the TFP manual valve position switch indicates D4, D3, D2 or D1 for 5 seconds.

Action Taken When the DTC Sets

    • The PCM illuminates the malfunction indicator lamp (MIL) during the second consecutive trip in which the Conditions for Setting the DTC are met.
    • The PCM commands maximum line pressure.
    • The PCM freezes shift adapts.
    • The PCM assumes D4 for shifting.
    • The PCM records the operating conditions when the Conditions for Setting the DTC are met. The PCM stores this information as Freeze Frame and Failure Records.
    • The PCM stores DTC P1810 in PCM history during the second consecutive trip in which the Conditions for Setting the DTC are met.

Conditions for Clearing the MIL/DTC

    • The PCM turns OFF the MIL during the third consecutive trip in which the diagnostic test runs and passes.
    • A scan tool can clear the MIL/DTC.
    • The PCM clears the DTC from PCM history if the vehicle completes 40 warm-up cycles without an emission-related diagnostic fault occurring.
    • The PCM cancels the DTC default actions when the ignition switch is OFF long enough in order to power down the PCM.

Test Description

The numbers below refer to the step numbers on the diagnostic table.

  1. This step tests the indicated range signal to the manual valve range actually selected.

  2. This step tests for correct voltage from the PCM to the transmission 20-way connector.

  3. This step tests for a short together between signal circuit A and signal circuits B or C.

Step

Action

Value(s)

Yes

No

1

Did you perform the Powertrain Diagnostic System Check?

--

Go to Step 2

Go to Diagnostic System Check - Engine Controls in Engine Controls

2

Inspect for proper transmission fluid level.

Refer to the Transmission Fluid Check .

Did you perform the transmission fluid checking procedure?

--

Go to Step 3

--

3

  1. Install a Scan Tool .
  2. Turn ON the ignition with the engine OFF.
  3. Important: Before clearing the DTCs, use the Scan Tool in order to record the Freeze Frame and Failure Records for reference. Using the Clear Info function will erase the stored Freeze Frame and Failure Records from the PCM.

  4. Record the Freeze Frame and Failure Records.
  5. Clear the DTC.
  6. Start the engine and idle at normal operating temperature.
  7. With a Scan Tool , observe the TFP Sw. parameter.
  8. Apply the brakes.
  9. Select each transmission range: P, R, N, D4, D3, D2 and D1.

Does each selected transmission range match the transmission range displayed on the Scan Tool ?

--

Go to Intermittent Conditions in Engine Controls

Go to Step 4

4

  1. Inspect the transmission linkage from the range selector to the manual shift shaft for proper adjustment.
  2. Adjust the linkage as necessary.
  3. Refer to Range Selector Lever Cable Adjustment .

Did the linkage require adjustment?

--

Go to Step 16

Go to Step 5

5

  1. Turn OFF the ignition.
  2. Disconnect the AT inline 20-way connector additional DTCs may set.
  3. Turn ON the ignition with the engine OFF.
  4. With a Scan Tool , observe the TFP Sw. A/B/C parameter.

Does the Scan Tool TFP Sw. A/B/C parameter indicate HI for all range signals A, B and C?

--

Go to Step 6

Go to Step 9

6

  1. Turn OFF the ignition.
  2. Install the J 44152 jumper harness on the engine side of the AT inline 20-way connector.
  3. Turn ON the ignition with the engine OFF.
  4. Using a J 39200 digital multimeter (DMM) and a J 35616 connector test adapter kit, measure the voltage from terminal N of the J 44152 jumper harness to ground.
  5. Refer to Automatic Transmission Inline Harness Connector End View .

  6. Measure the voltage from terminal R of the J 44152 jumper harness to ground.
  7. Measure the voltage from terminal P of the J 44152 jumper harness to ground.

Does the voltage measure greater than the specified value at all three terminals?

10 V

Go to Step 7

Go to Step 10

7

Connect a fused jumper wire from terminal N of the J 44152 jumper harness signal circuit A to ground while monitoring the Scan Tool TFP Sw. A/B/C parameter.

When signal circuit A (CKT 1224) is grounded, do any other signal circuits indicate Low?

--

Go to Step 11

Go to Step 8

8

Connect a fused jumper wire from terminal R of the J 44152 jumper harness signal circuit B to ground while monitoring the Scan Tool TFP Sw. A/B/C parameter.

When signal circuit B (CKT 1225) is grounded, do any other signal circuits indicate Low?

--

Go to Step 11

Go to Step 12

9

Test the signal circuits CKTs 1224, 1225 and 1226 of the TFP manual valve position switch, that did not indicate HI, for a short to ground between the PCM connector and the AT inline 20-way connector.

Refer to Circuit Testing and Wiring Repairs in Wiring Systems.

Did you find and correct the condition?

--

Go to Step 16

Go to Step 15

10

Test the signal circuits CKTs 1224, 1225 and 1226 of the TFP manual valve position switch, that did not indicate proper voltage, for an open between the PCM connector and the AT inline 20-way connector.

Refer to Circuit Testing and Wiring Repairs in Wiring Systems.

Did you find and correct the condition?

--

Go to Step 16

Go to Step 15

11

Test the affected signal circuits of the TFP manual valve position switch for a shorted together condition between the PCM connector C1 or C2 and the AT inline 20-way connector.

Refer to Circuit Testing and Wiring Repairs in Wiring Systems.

Did you find and correct the condition?

--

Go to Step 16

Go to Step 15

12

  1. Test the signal circuit A CKT 1224 of the TFP manual valve position switch for an open, short to ground or short to other signal circuits B or C, between the AT inline 20-way connector and the TFP manual valve position switch.
  2. Test the signal circuit B CKT 1225 of the TFP manual valve position switch for an open, short to ground or short to other signal circuits A or C, between the AT inline 20-way connector and the TFP manual valve position switch.
  3. Test the signal circuit C CKT 1226 of the TFP manual valve position switch for an open, short to ground or short to other signal circuits A or B, between the AT inline 20-way connector and the TFP manual valve position switch.

Refer to Circuit Testing in Wiring Systems.

Did you find a condition?

--

Go to Step 13

Go to Step 14

13

Replace the AT wiring harness assembly.

Refer to Wiring Harness Replacement .

Did you complete the replacement?

--

Go to Step 16

--

14

Replace the TFP manual valve position switch.

Refer to Transmission Fluid Pressure Manual Valve Position Switch Replacement .

Did you complete the replacement?

--

Go to Step 16

--

15

Replace the PCM.

Refer to Powertrain Control Module Replacement in Engine Controls.

Did you complete the replacement?

--

Go to Step 16

--

16

Perform the following procedure in order to verify the repair:

  1. Select DTC.
  2. Select Clear Info.
  3. Operate the vehicle under the following conditions:
  4. 3.1. Start the engine and idle in PARK for at least 60 seconds.
    3.2. Drive the vehicle in D4 at greater than 7 km/h (5 mph) for at least 1 second. The TP angle must be greater than 9%.
  5. Select Specific DTC.
  6. Enter DTC P1810.

Has the test run and passed?

--

System OK

Go to Step 1