GM Service Manual Online
For 1990-2009 cars only
Makes
🢒
Buick
🢒
2003
🢒
LeSabre
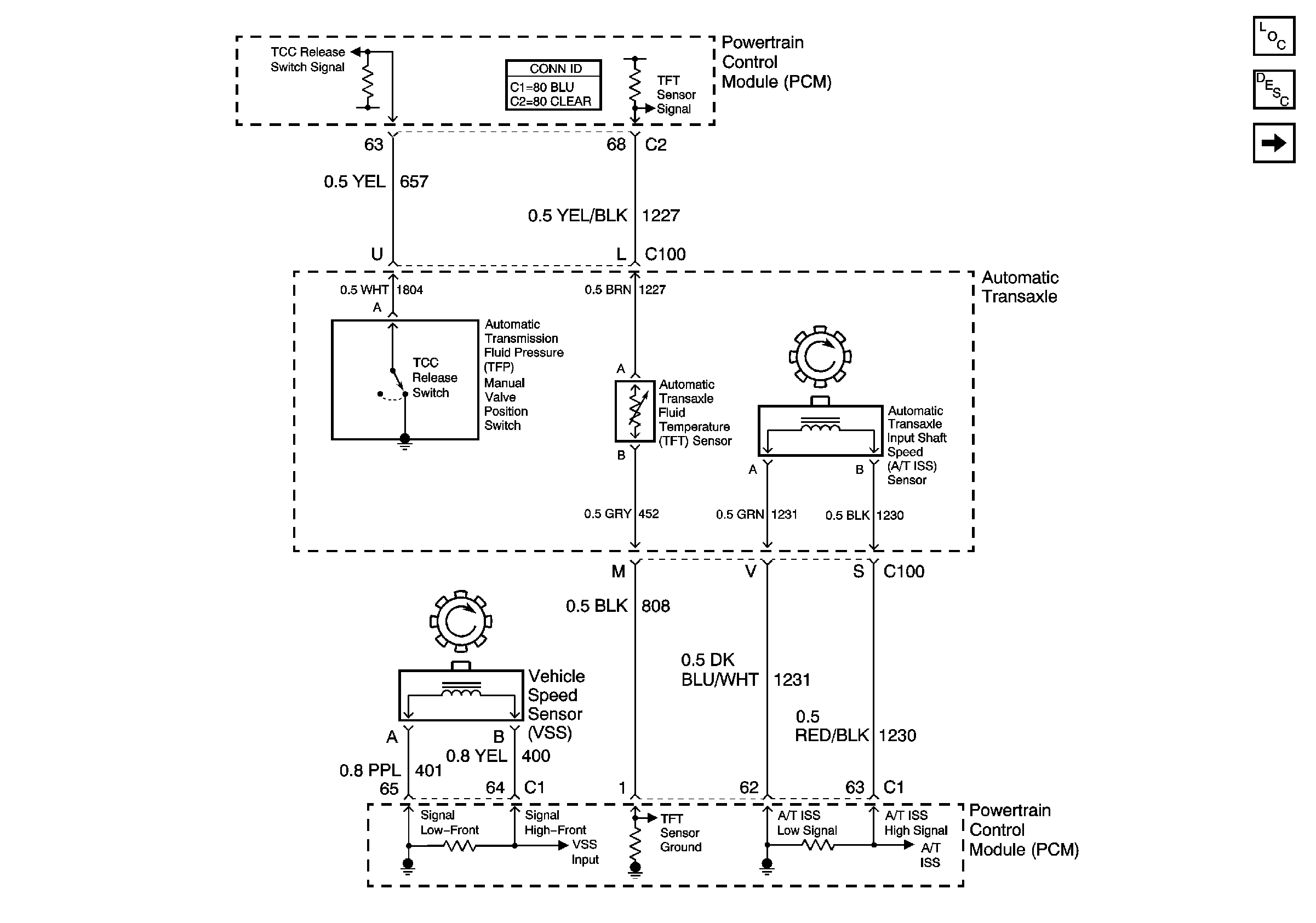
🢒 Transmission Inputs L36
Transmission Inputs L36
Transmission Inputs L36
Master Electrical Component List
Transmission Component and System Description
Transmission Solenoids L36/L67