GM Service Manual Online
For 1990-2009 cars only
Makes
🢒
Buick
🢒
2003
🢒
LeSabre
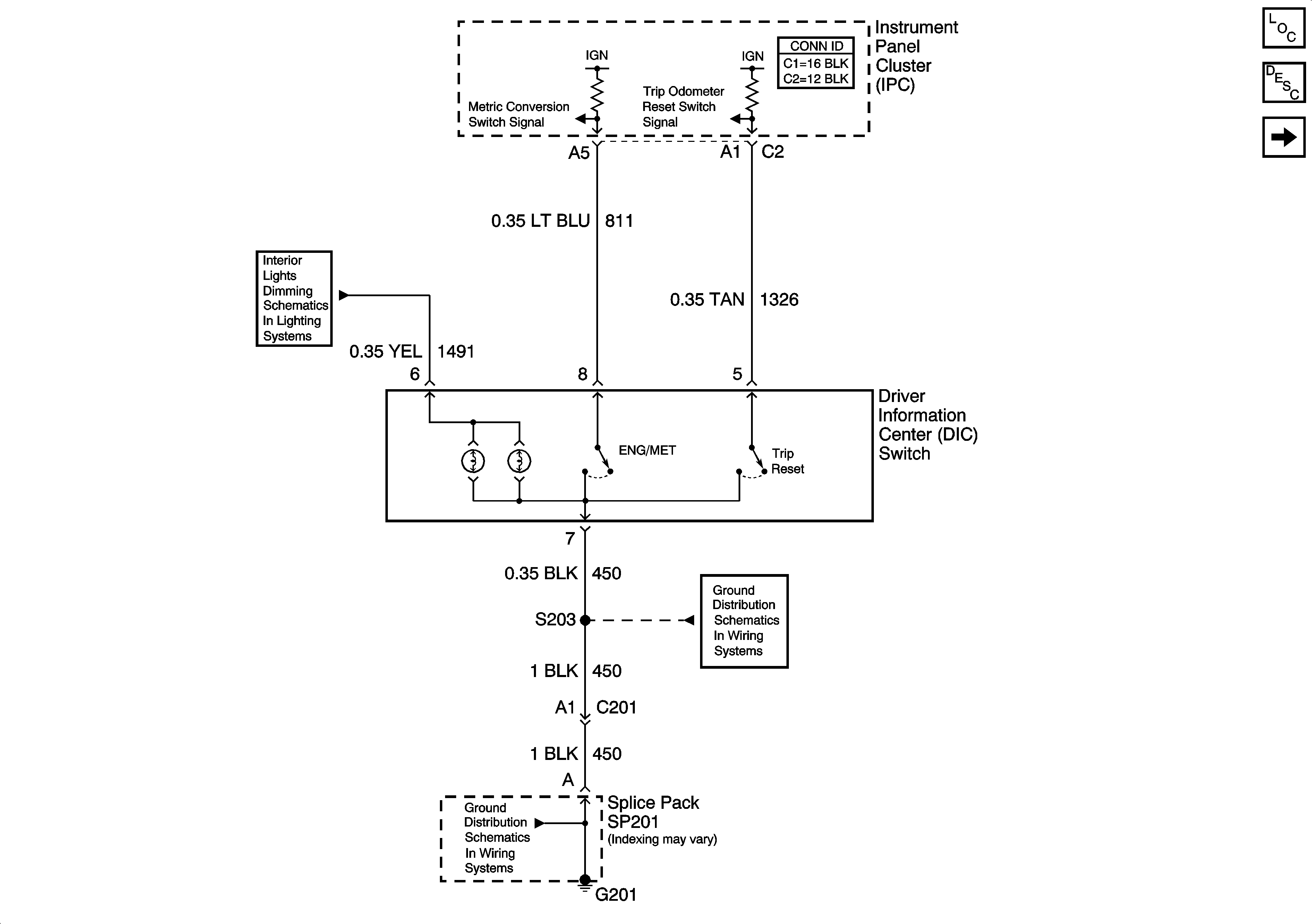
🢒 DIC Switch (w/U2E)
DIC Switch (w/U2E)
DIC Switch (w/U2E)
Master Electrical Component List
Driver Information Switch (w/UB7)
Indicators
G201
G201
Instrument Panel And Console Dimming