GM Service Manual Online
For 1990-2009 cars only
Makes
🢒
Buick
🢒
2004
🢒
LeSabre
🢒
Body
🢒
Body Control System
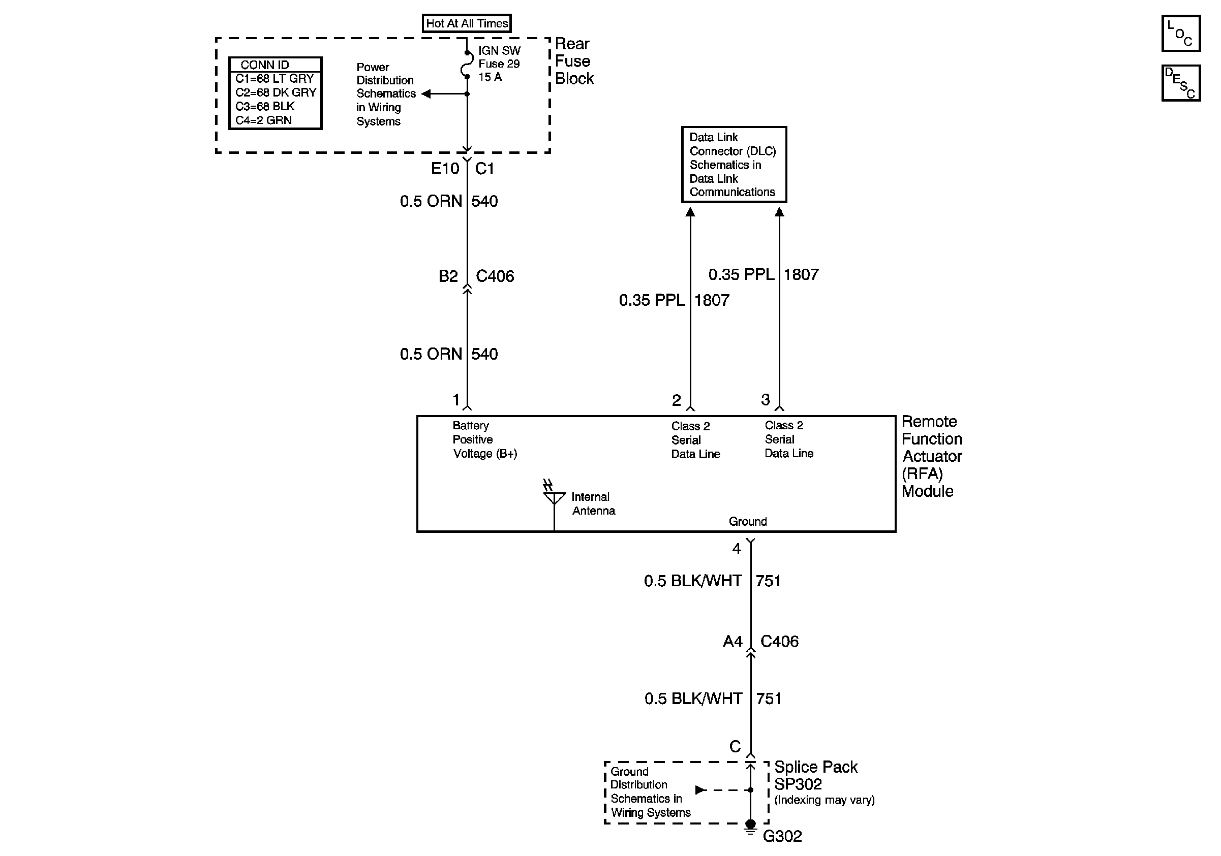
🢒 Keyless Entry Schematics
Master Electrical Component List
G301 (2 of 2)
IGN SW and NSBU Fuses (Fuse Block Rear)
Serial Data Class 2