GM Service Manual Online
For 1990-2009 cars only
Makes
🢒
Buick
🢒
2004
🢒
LeSabre
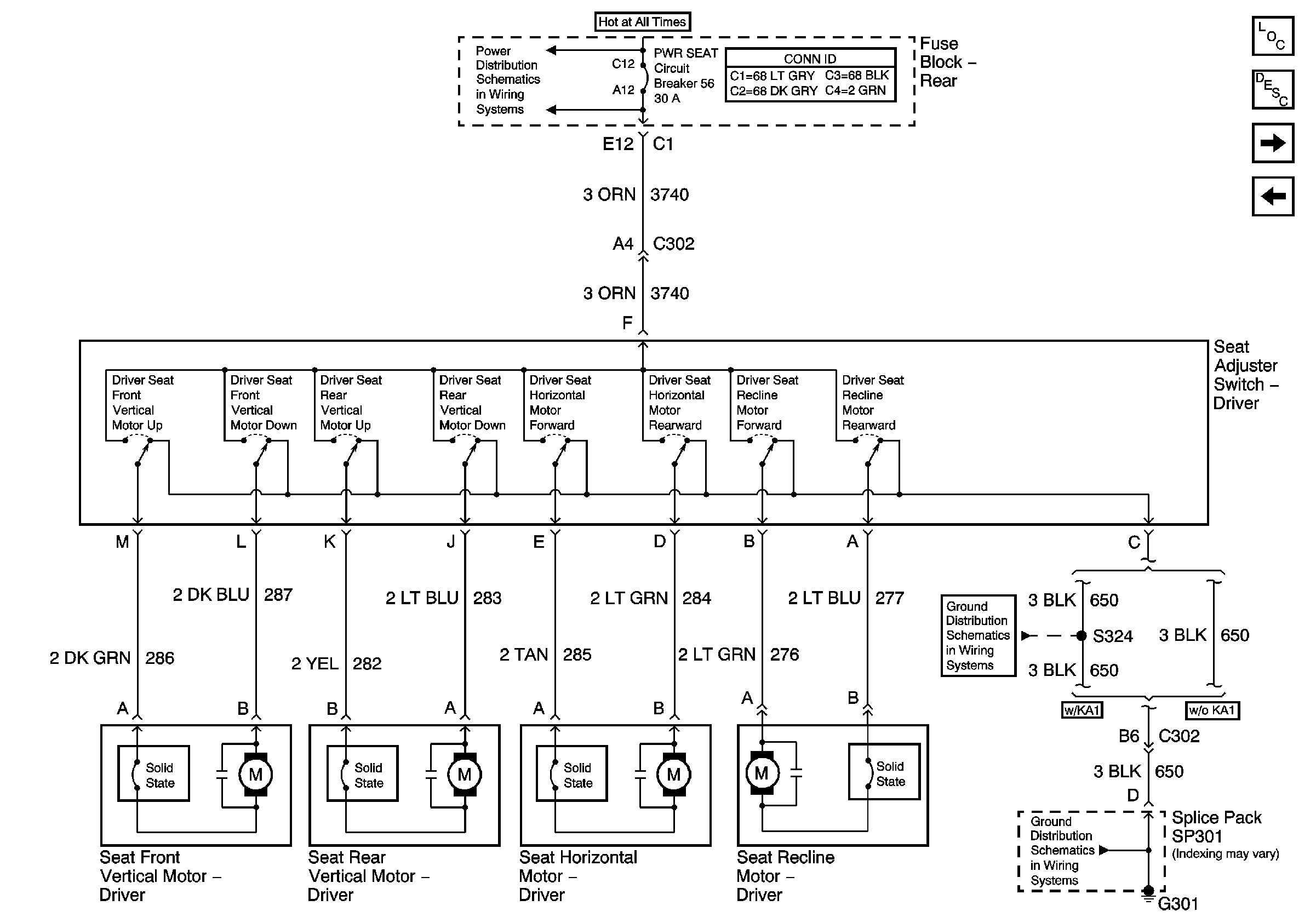
🢒 Driver Seat Switch and Motors (w/AG1 and w/A80)
Driver Seat Switch and Motors (w/AG1 and w/A80)
Driver Seat Switch and Motors (w/AG1 and w/A80)
Master Electrical Component List
Lumbar (w/ Memory)
Driver Seat Switch and Motors (w/AG1)
G200 (2 of 2)
G200 (2 of 2)
PWR WDO and PWR SEAT Circuit Breakers (Fuse Block Rear)