GM Service Manual Online
For 1990-2009 cars only
Makes
🢒
Buick
🢒
2005
🢒
LeSabre
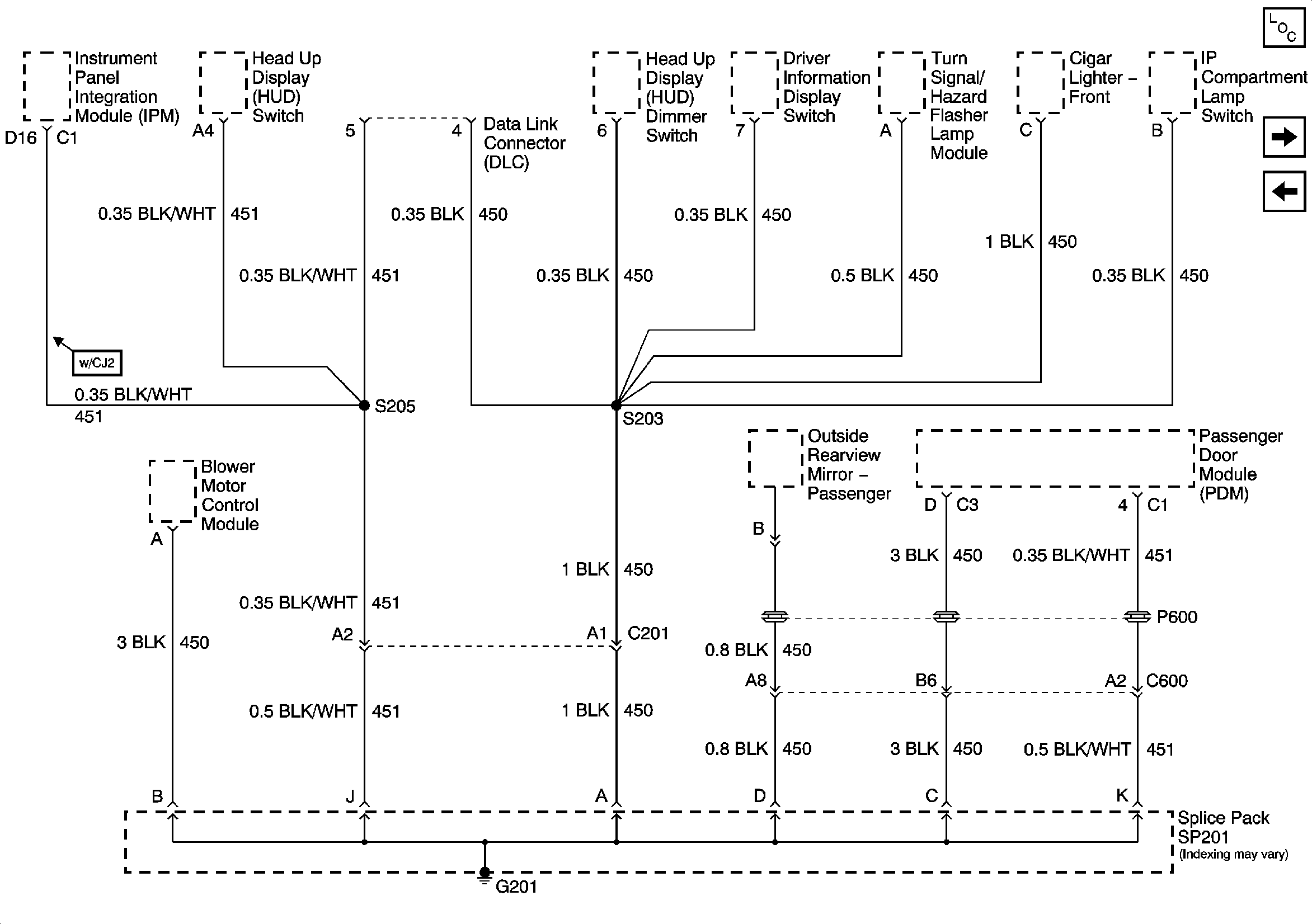
🢒 G201
G201
G201
Master Electrical Component List
G301 - 1 of 2
G200 - 2 of 2