GM Service Manual Online
For 1990-2009 cars only
Makes
🢒
Buick
🢒
2005
🢒
LeSabre
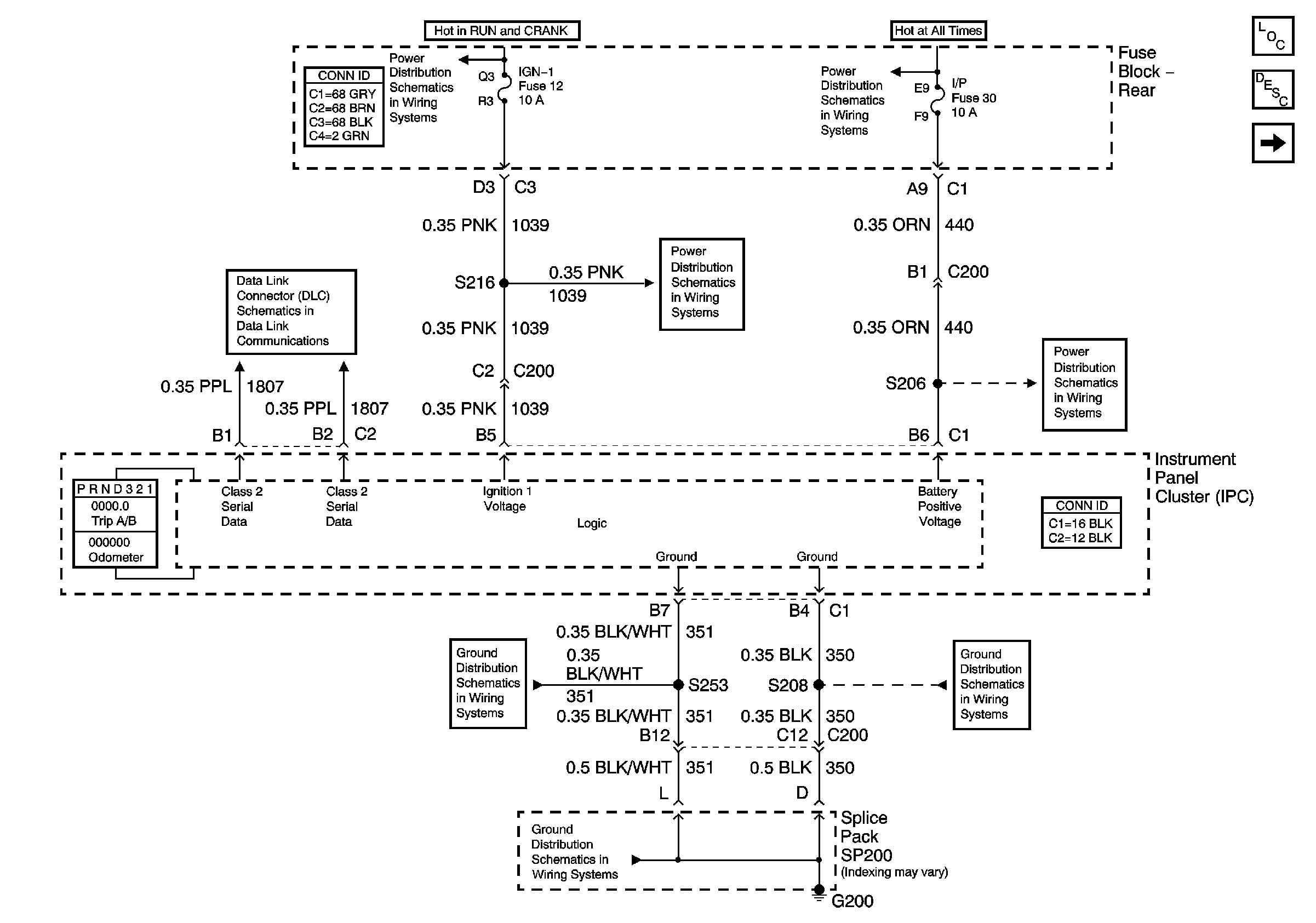
🢒 Power, Ground and Class 2
Power, Ground and Class 2
Power , Ground and Class 2
Master Electrical Component List
Instrument Cluster Description and Operation
Gages
Fuse Block Rear - IGN-1, VENT SOL and SIR Fuses
Fuse Block Rear - I/P, CIGAR, AUX PWR and C/LTR Fuses and CIGAR Relay
Serial Data Class 2
Fuse Block Rear - IGN-1, VENT SOL and SIR Fuses
Fuse Block Rear - I/P, CIGAR, AUX PWR and C/LTR Fuses and CIGAR Relay
G200 - 1 of 2
G200 - 2 of 2
G200 - 2 of 2