GM Service Manual Online
For 1990-2009 cars only
Makes
🢒
Buick
🢒
2005
🢒
LeSabre
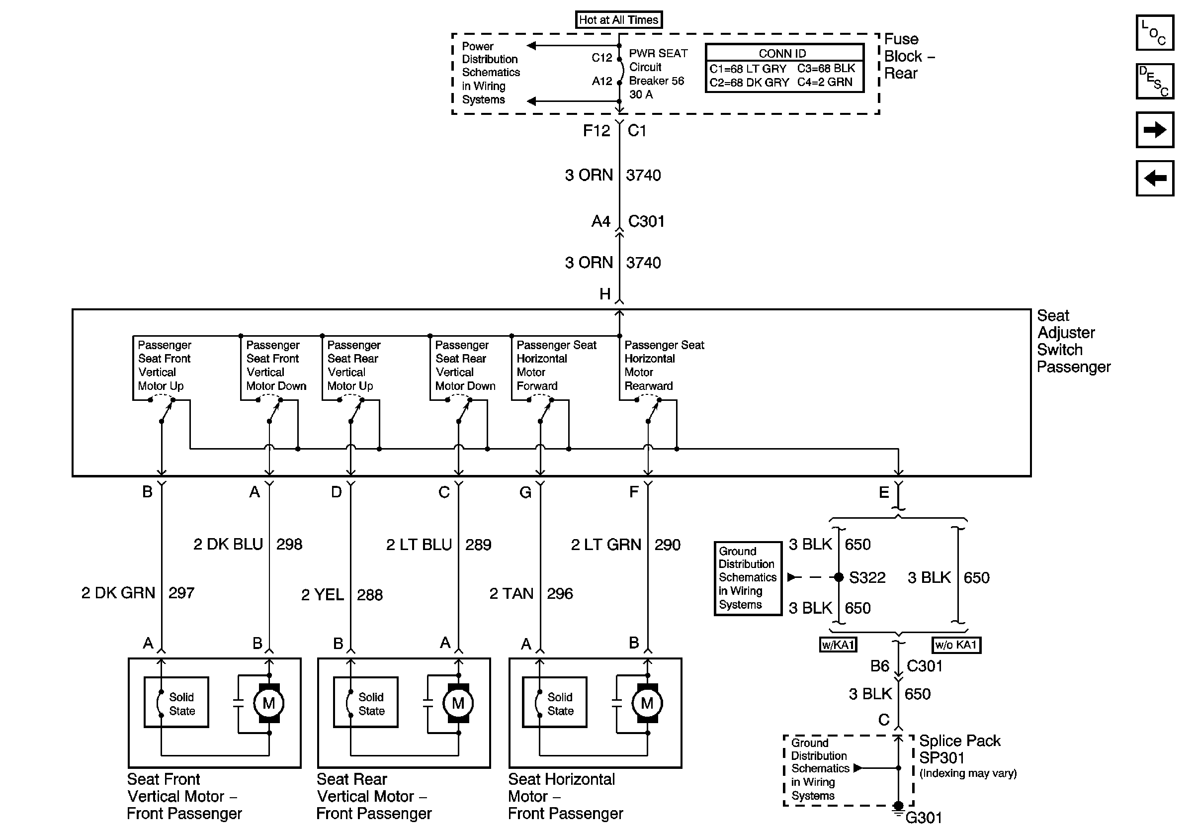
🢒 Front Passenger Seat Switch and Motors (AG2)
Front Passenger Seat Switch and Motors (AG2)
Front Passenger Seat Switch and Motors (AG2, w/o A81)
Master Electrical Component List
Power Seats System Description and Operation
Front Passenger Seat Switch and Motors (AG2/A81)
Front Passenger Power Recline Switch and Motor
Fuse Block Rear - PWR WDO and PWR SEAT Circuit Breakers
G301 - 2 of 2
G301 - 2 of 2