GM Service Manual Online
For 1990-2009 cars only
Makes
🢒
Buick
🢒
2005
🢒
LeSabre
🢒 Front Doors Dimming
Front Doors Dimming
Front Doors Dimming
Master Electrical Component List
Interior Lighting Systems Description and Operation
Steering Wheel Controls Dimming
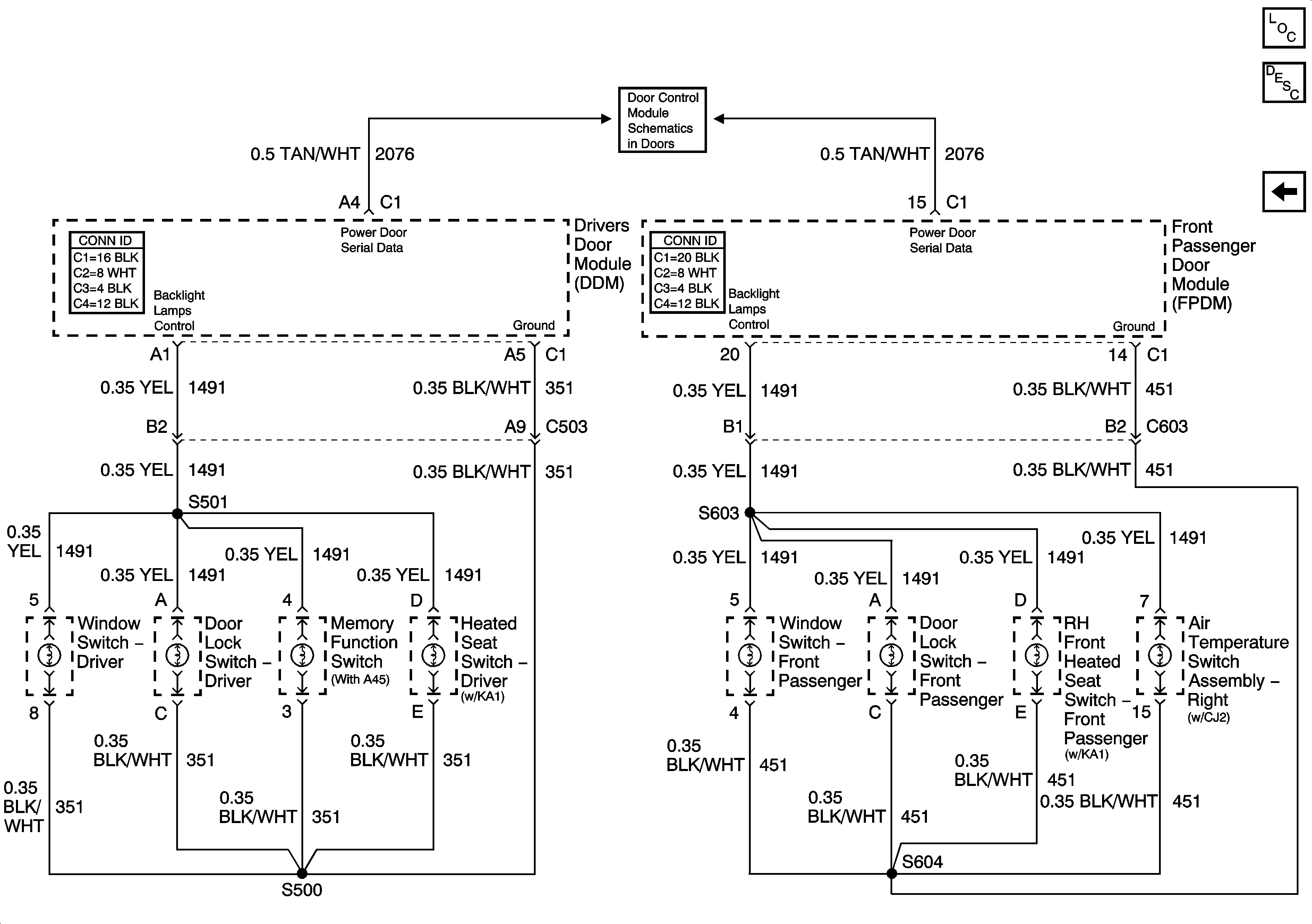
Power Door Serial Data