GM Service Manual Online
For 1990-2009 cars only

Power Steering Hose Loose - keywords clip frame hose line loose power ps p/s retainer strap tie

Subject:Power Steering Hose Loose

Models:2006 Buick Lucerne



The following diagnosis might be helpful if the vehicle exhibits the symptom(s) described in this PI.

Condition/Concern:

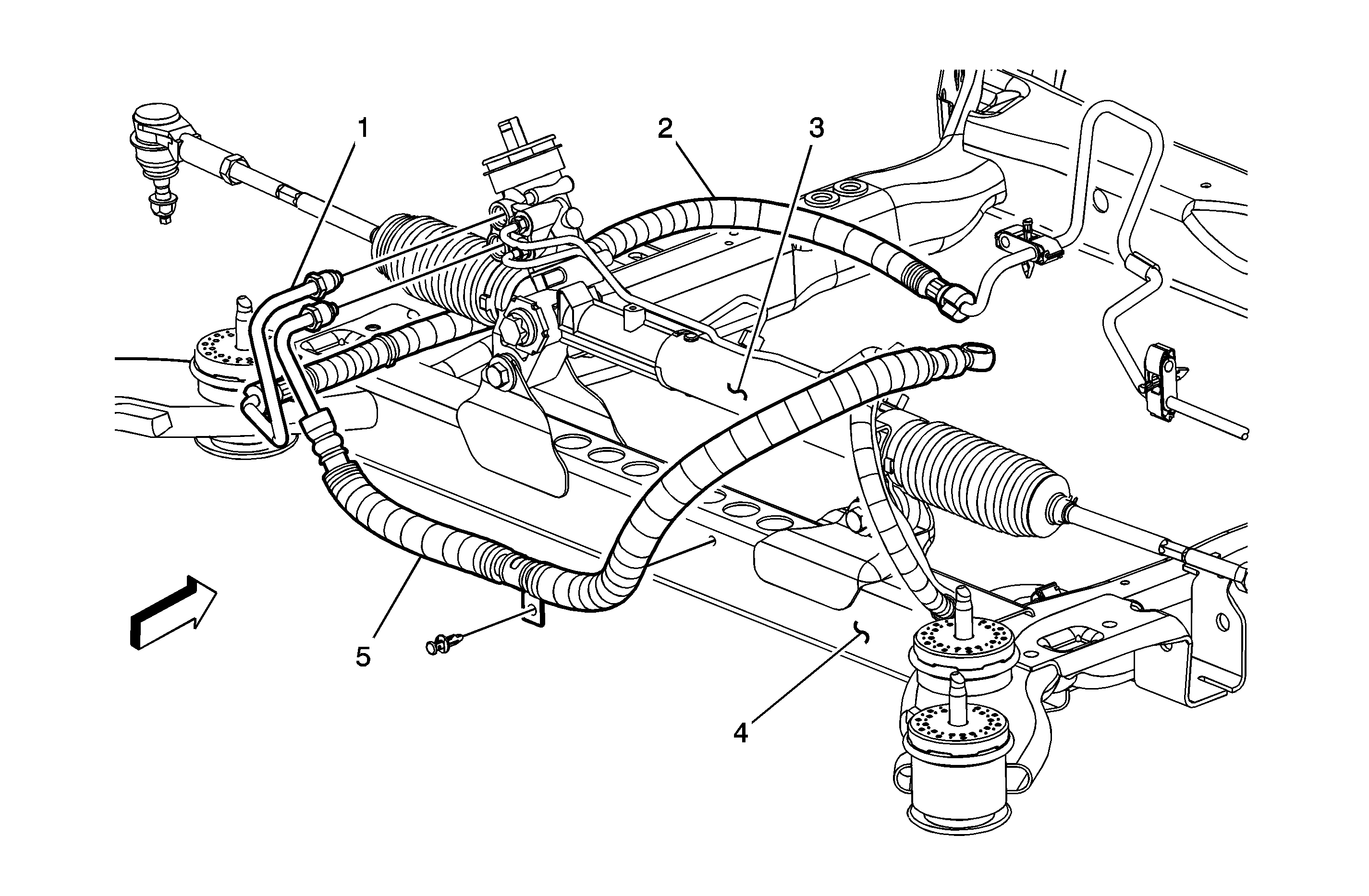
Some 2006 Buick Lucerne may experience a condition in which the clip that holds the power steering return hose to the frame rail can move causing the hose to be loose or out of position.

Recommendation/Instructions:

Use a tie strap to secure the power steering hose to the frame rail below the left hand halfshaft.

Please see Callout #2 in artwork below for location to add tie strap.


Object Number: 1754965  Size: MF
(1)Power Steering Outlet Hose
(2)Attach Tie Strap Here
(3)Power Steering Gear
(4)Frame
(5)Power Steering Inlet Hose

Please follow this diagnostic or repair process thoroughly and complete each step. If the condition exhibited is resolved without completing every step, the remaining steps do not need to be performed.