GM Service Manual Online
For 1990-2009 cars only

Power Steering Pump Flow Control Valve Replacement - On Vehicle L26

Removal Procedure

  1. Raise and support the vehicle. Refer to Lifting and Jacking the Vehicle .
  2. Install a drain pan under the vehicle.

  3. Object Number: 1739689  Size: SH
  4. Remove the power steering pressure hose banjo bolt (1).
  5. Remove the 2 washers (2), and position the hose (3) aside

  6. Object Number: 391490  Size: SH
  7. Remove the flow control valve assembly (3) from the power steering pump .
  8. Remove the power steering flow control spring (2).

Installation Procedure


    Object Number: 391490  Size: SH
  1. Install the power steering flow control spring (2) to the power steering pump.
  2. Notice: Refer to Fastener Notice in the Preface section.

  3. Install the power steering flow control valve assembly (3) to the power steering pump.
  4. Tighten
    Tighten the power steering flow control valve assembly (5) to 75 N·m (55 lb ft).


    Object Number: 1739689  Size: SH
  5. Position the power steering pressure hose (3) to the power steering pump, with the 2 NEW washers (2) and install the banjo bolt (1).
  6. Tighten
    Tighten the power steering pressure hose banjo bolt to 55 N·m (41 lb ft).

  7. Lower the vehicle.
  8. Bleed the power steering system. Refer to Power Steering System Bleeding .

Power Steering Pump Flow Control Valve Replacement - On Vehicle LD8

Removal Procedure

  1. Raise and support the vehicle. Refer to Lifting and Jacking the Vehicle.
  2. Install a drain pan under the vehicle.

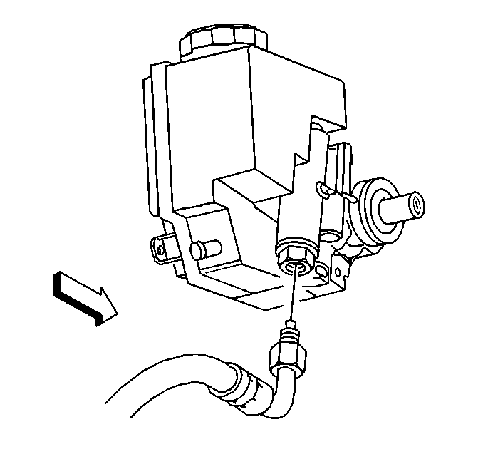
  3. Object Number: 254768  Size: SH
  4. Remove the power steering pressure hose from the flow control valve.

  5. Object Number: 391490  Size: SH
  6. Remove the flow control valve assembly (3) from the power steering pump.
  7. Remove the power steering flow control spring (2).

Installation Procedure


    Object Number: 391490  Size: SH
  1. Install the power steering flow control spring (2) to the power steering pump.
  2. Notice: Use the correct fastener in the correct location. Replacement fasteners must be the correct part number for that application. Fasteners requiring replacement or fasteners requiring the use of thread locking compound or sealant are identified in the service procedure. Do not use paints, lubricants, or corrosion inhibitors on fasteners or fastener joint surfaces unless specified. These coatings affect fastener torque and joint clamping force and may damage the fastener. Use the correct tightening sequence and specifications when installing fasteners in order to avoid damage to parts and systems.

  3. Install the power steering flow control valve assembly (3) to the power steering pump.
  4. Tighten
    Tighten the power steering flow control valve assembly (5) to 75 N·m (55 lb ft).


    Object Number: 254768  Size: SH
  5. Install the power steering pressure hose to the power steering pump.
  6. Tighten
    Tighten the power steering pressure hose to 30 N·m (22 lb ft).

  7. Lower the vehicle.
  8. Bleed the power steering system. Refer to Power Steering System Bleeding.