GM Service Manual Online
For 1990-2009 cars only

Object Number: 452104  Size: MF
HVAC Components
Cell 68: Temperature Sensors
Handling ESD Sensitive Parts Notice
Cell 68: Temperature Sensors

Circuit Description

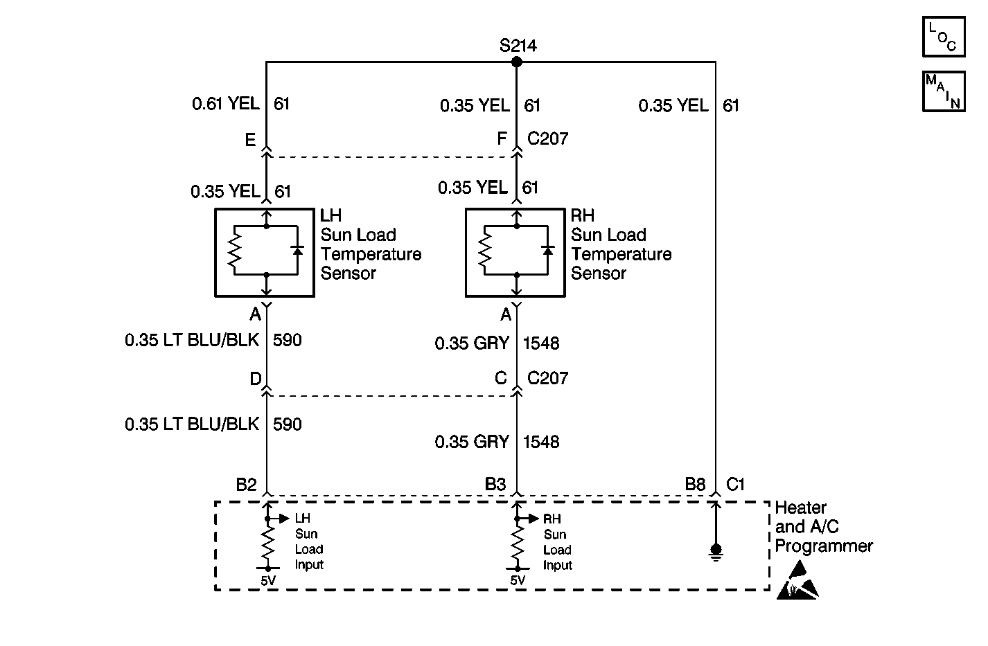
The right sun load temperature sensor is a light sensitive photodiode that controls signal voltage to the heater and A/C programmer. This photodiode is different from standard thermistor sensors and resistance measurements will not produce accurate results. The heater and A/C programmer monitors voltage on CKT 1548 to the sensor. When the sensor is in direct sun light, the heater and A/C programmer reads a low signal voltage at terminal B3, connector C2. When the sensor is shaded, the signal voltage increases. Signal voltage varies from 5 V (open circuit) to 0 V (short circuit).

Conditions for Setting the DTC

    • The ignition is on.
    • The circuit is open or shorted.

Action Taken When the DTC Sets

    • A default value of dark or no sun load will be used by the heater and A/C programmer.
    • The default value will allow the system to operate.

Conditions for Clearing the DTC

    • Use a Scan Tool .
    • A history DTC will clear after 50 consecutive ignition cycles have occurred without a malfunction.
    • Battery voltage to the body control module is interrupted.

Test Description

The numbers below refer to the step numbers on the diagnostic table.

  1. Perform the Body Control Module (BCM) Diagnostic System Check before continuing with the diagnosis of this DTC.

  2. This step determines whether the sensor is operational.

  3. This step determines if the DTC was set in error.

  4. This step determines if the malfunction is the sensor, or an open or a short, in a circuit.

  5. This step determines if the heater and A/C programmer, or an open or short, is causing the malfunction.

  6. The Scan Tool tests for proper sensor operation. Clear all of the DTC's after the repair procedures are complete.

Step

Action

Value(s)

Yes

No

1

Did you perform the BCM Diagnostic System Check?

--

Go to Step 2

Go to Diagnostic System Check - Body Control System in Body Control System

2

  1. Place the vehicle outside in a sunlit area.
  2. Turn the ignition switch to the ON position.
  3. Connect the Scan Tool .
  4. Display the right sun load temperature sensor.
  5. Note the sensor count value.
  6. Cover the right sun load temperature sensor with a dense object.

Did the sensor counts increase from the noted value?

--

Go to Step 3

Go to Step 4

3

  1. Use the Scan Tool in order to clear the DTC.
  2. Start the engine.

Did the DTC reset?

--

Go to Step 4

Go to Intermittents and Poor Connections

4

  1. Turn the ignition switch to the OFF position.
  2. Disconnect the right sun load temperature sensor.
  3. Turn the ignition switch to the ON position.
  4. Measure the voltage between the right sun load temperature sensor harness connector terminal A and terminal B. Refer to Measuring Voltage in Wiring Systems.

Does the voltage equal the specified value?

4.5-5.5 V

Go to Step 8

Go to Step 5

5

Measure the voltage between the sun load sensor harness connector terminal A and ground. Refer to Measuring Voltage in Wiring Systems.

Does the voltage equal the specified value?

4.5-5.5 V

Go to Step 9

Go to Step 6

6

Measure the voltage between the heater and A/C programmer terminal B3 and ground. Refer to Measuring Voltage in Wiring Systems.

Does the voltage equal the specified value?

4.5-5.5 V

Go to Step 7

Go to Step 10

7

Repair an open or a short in CKT 1548 (GRY). Refer to Wiring Repairs in Wiring Systems.

Is the repair complete?

--

Go to Step 12

--

8

Replace the right sun load temperature sensor. Refer to Sun Load Sensor Replacement .

Is the repair complete?

--

Go to Step 12

--

9

Are all of the HVAC sensor DTCs present?

--

Go to Step 10

Go to Step 11

10

  1. Inspect the terminals for proper terminal contact
  2. Replace the heater and A/C programmer if the terminal contacts are OK. Refer to Programmer Replacement .

Is the repair complete?

--

Go to Step 12

--

11

Repair an open or short in CKT 61 (YEL). Refer to Wiring Repairs in Wiring Systems.

Is the repair complete?

--

Go to Step 12

--

12

  1. Use the Scan Tool in order to clear all of the DTCs.
  2. Confirm proper operation of the system.

Is the system operating properly?

--

Go to Diagnostic System Check - Body Control System in Body Control System

--