GM Service Manual Online
For 1990-2009 cars only

Object Number: 452107  Size: MF
HVAC Components
HVAC Air Delivery/Temperature Control Schematics
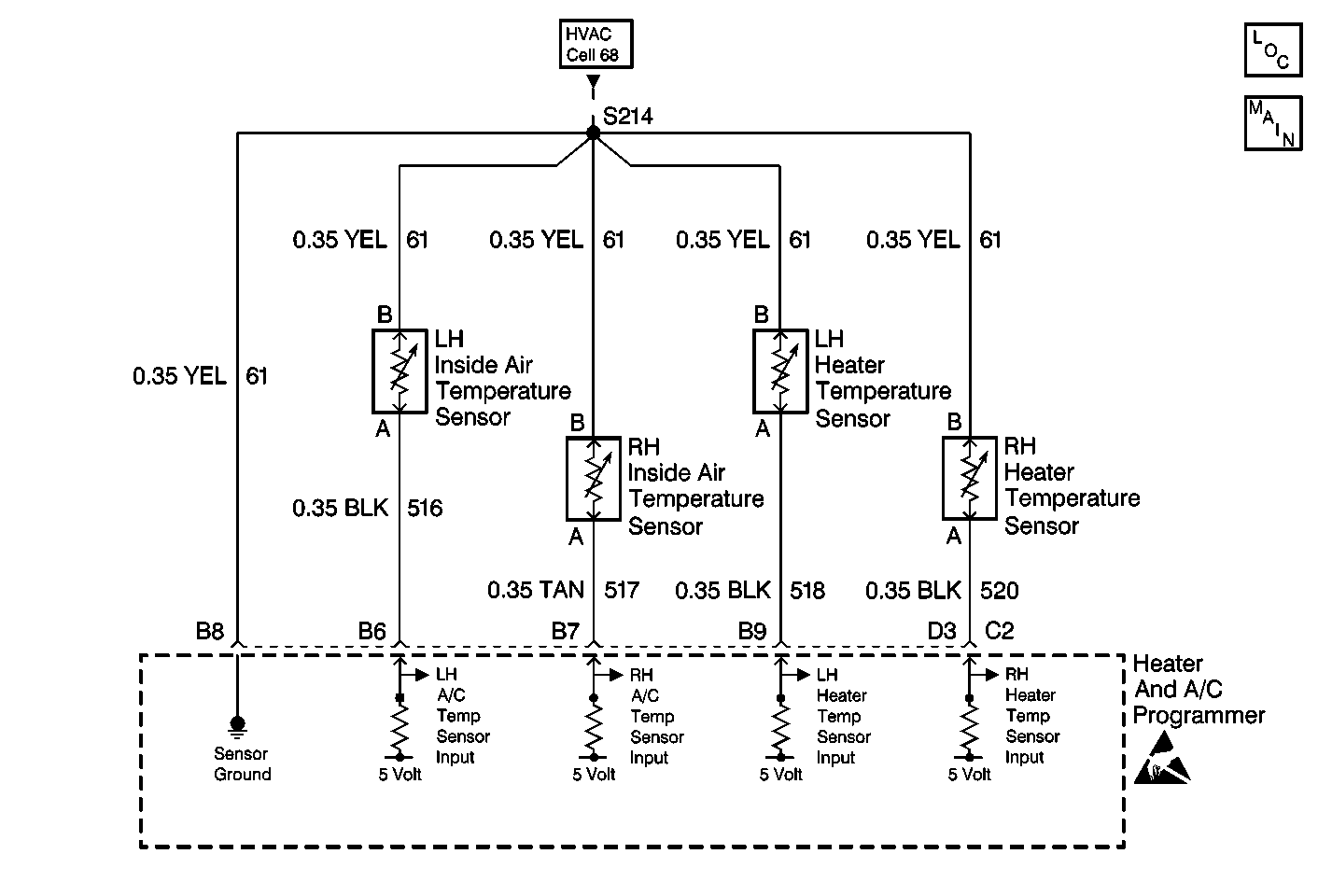
Cell 68: Temperature Sensors
Handling ESD Sensitive Parts Notice

Circuit Description

The left A/C temperature sensor is a thermistor that controls signal voltage to the heater and A/C programmer. The heater and A/C programmer supplies voltage on CKT 516. When the sensor is cold, the resistance is high and the heater and A/C programmer senses a high signal voltage at terminal B6, connector C2. When the sensor warms, resistance is reduced and the signal voltage is pulled low through CKT 61. Signal voltage varies from 5 V (open circuit) to 0 V (short circuit).

Conditions for Setting the DTC

    • The ignition is on.
    • The circuit is opened or shorted.

Action Taken When the DTC Sets

    • A default value of 128 counts and 24 degrees C (75 degrees F) will be used by the heater and A/C programmer.
    • The default valve allows the system to operate.
    • If air delivery is on A/C or bi-level, the air mix one door will cycle between full cold and full hot.

Conditions for Clearing the DTC

    • Use a Scan Tool .
    • A history DTC will clear after 50 consecutive ignition cycles have occurred without a malfunction.
    • Battery voltage to the body control module is interrupted.

Test Description

The numbers below refer to the step numbers on the diagnostic table.

  1. Perform the Body Control Module (BCM) Diagnostic System Check before continuing with the diagnosis of this DTC.

  2. This step ensures that the DTC was not set in error.

  3. This step determines whether the cause of the malfunction is the sensor or an open or short in a circuit.

  4. The Scan Tool tests for proper sensor operation. Clear all of the DTCs after the repair procedure is complete.

Step

Action

Value(s)

Yes

No

1

Did you perform the BCM Diagnostic System Check?

--

Go to Step 2

Go to Diagnostic System Check in Body Control System

2

  1. Turn the ignition ON.
  2. Disconnect the sensor.
  3. Measure the voltage between the sensor harness connector A and B. Refer to Measuring Voltage in Wiring Systems.

Is the specified voltage measured?

4.5-5.5 V

Go to Step 3

Go to Step 4

3

  1. Turn the ignition OFF.
  2. Reconnect the sensor.
  3. Connect the Scan Tool .
  4. Turn the ignition ON.
  5. Clear the DTC using the Scan Tool .
  6. Start the engine.

Did the DTC reset?

--

Go to Step 4

Go to Intermittents and Poor Connections

4

  1. Select heater and A/C programmer open/short data on the Scan Tool .
  2. Display the left A/C temperature data.
  3. Start the engine.
  4. Unplug the left A/C temperature sensor.
  5. The left A/C temperature voltage increases to 5 V.
  6. Reconnect the left A/C temperature sensor connector.

Did the left A/C temperature sensor voltage decrease?

--

Go to Step 5

Go to Step 6

5

Replace the sensor. Refer to Air Conditioning (A/C) Temperature Sensor Replacement .

Is the repair complete?

--

Go to Step 9

--

6

Inspect CKT 61 (YEL) for an open or a short .

Was an open or a short located?

--

Go to Step 7

Go to Step 8

7

  1. Inspect CKT 516 (BLK) for an open or a short .
  2. If the circuit is OK, replace the heater and A/C programmer. Refer to Programmer Replacement .

Is the replacement complete?

--

Go to Step 9

--

8

Repair the open or the short in CKT 61 (YEL). Refer to Wiring Repairs in Wiring Systems.

Is the repair complete?

--

Go to Step 9

--

9

  1. Use the Scan Tool in order to clear all of the DTCs.
  2. Confirm proper operation of the A/C system.

Is the A/C system operating properly?

--

Go to Cooling Insufficient - Air Conditioning (A/C) Inoperative

--