GM Service Manual Online
For 1990-2009 cars only

Object Number: 486297  Size: MF
Body Control Module Components
Body Control System Schematics
Headlights Schematics
Ground Distribution Schematics
Handling ESD Sensitive Parts Notice
Tilt Wheel/Column Connector End Views

Circuit Description

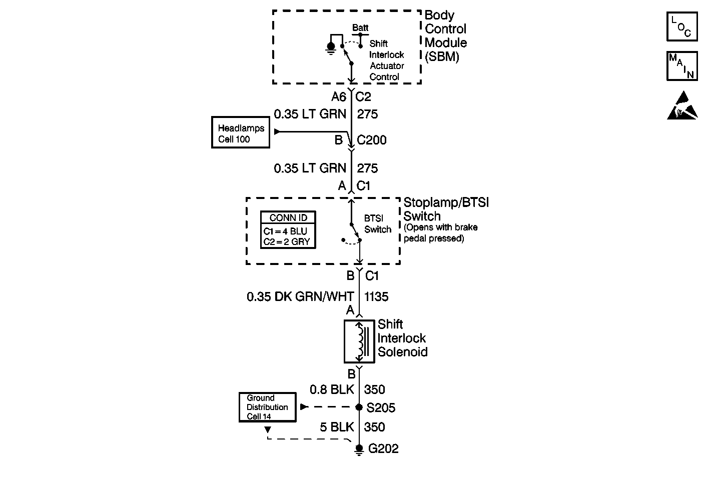
The body control module (SBM) supplies voltage to CKT 275 when the following conditions occur:

    • The ignition switch is in RUN.
    • The transaxle is in the PARK position.

The SBM monitors the output and determines the actual voltage at terminal A6 every 0.1 seconds.

Conditions for Setting the DTC

The SBM detects a short to ground in CKT 275 for more than 0.1 seconds.

Action Taken When the DTC Sets

    • DTC B0802 stores in the SBM memory.
    • No driver warning message is displayed.

Conditions for Clearing the DTC

    • The SBM no longer detects a short to ground.
    • A history DTC clears after 50 consecutive ignition cycles if the condition for the malfunction is no longer present.

Diagnostic Aids

A short to ground in CKT 275 or CKT 1135 may cause this DTC to set.

Test Description

The numbers below refer to the step numbers on the diagnostic table.

  1. Always perform the SBM Diagnostic System Check before attempting to diagnose a DTC B0802.

  2. This step determines if a short to ground exists on CKT 275 or CKT 1135.

  3. This step determines which circuit is shorted to ground, CKT 275 or CKT 1135.

Step

Action

Value(s)

Yes

No

1

Did you perform the Body Control Module Diagnostic System Check?

--

Go to Step 2

Go to Diagnostic System Check - Body Control System

2

  1. Turn the ignition switch to OFF.
  2. Disconnect the body control module (SBM) connector C2.
  3. Turn the ignition switch to ON.
  4. Measure the voltage between the SBM C2 terminal A6 and terminal B1.

Is the voltage within the specified range?

10-15 V

Go to Step 3

Go to Step 6

3

Press and hold the brake pedal.

Is the measured voltage in the specified range?

10-15 V

Go to Step 5

Go to Step 4

4

Repair the short to ground in CKT 1135. Refer to Wiring Repairs in Wiring Systems.

Did you complete the repair?

--

Go to Step 7

--

5

Repair the short to ground in CKT 275. Refer to Wiring Repairs in Wiring Systems.

Did you complete the repair?

--

Go to Step 7

--

6

  1. Replace the body control module (SBM). Refer to Body Control Module Replacement .
  2. Program the SBM. Refer to Body Control Module (BCM) Programming/RPO Configuration .

Did you complete the repair?

--

Go to Step 7

--

7

  1. Turn the ignition switch to OFF.
  2. Connect all of the connectors.
  3. Install all of the components.
  4. Clear all of the DTCs.

Did you complete the repair?

--

Go to Diagnostic System Check - Body Control System

--