GM Service Manual Online
For 1990-2009 cars only

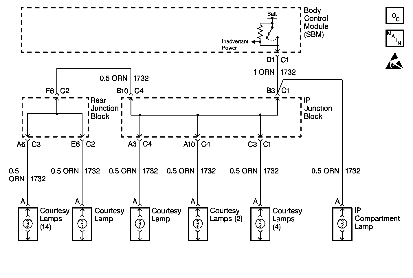
Object Number: 486301  Size: MF
Body Control Module Components
Body Control System Schematics
Handling ESD Sensitive Parts Notice

Circuit Description

The inadvertent power circuit acts as both of the following components:

    • An input
    • An output

When one of several switches provides a ground to CKT 1732, terminal D1 acts as an input. The ground causes the SBM to wake up.

Terminal D1 provides the following functions:

    • An output
    • Voltage to the courtesy lamps through CKT 1732

A DTC is set when the SBM detects a short to ground In CKT 1732.

Conditions for Setting the DTC

    • The SBM detects a short to ground in CKT 1732.
    • The SBM only tests for this condition when the SBM attempts to activate the courtesy lamps.
    • The condition is present for more than 0.1 seconds.

Action Taken When the DTC Sets

    • DTC B0807 stores in the SBMs memory.
    • No driver warning message is displayed.

Conditions for Clearing the DTC

    • Under all fault conditions, the ignition must cycle before the DTC will change from current to history.
    • The SBM no longer detects a short to ground.
    • A history DTC will clear after 50 consecutive ignition cycles if the condition is no longer present.

Diagnostic Aids

An intermittent short to ground in CKT 1732 may cause an intermittent malfunction to occur.

Test Description

The numbers below refer to the step numbers on the diagnostic table.

  1. Always perform the SBM Diagnostic System Check before attempting to diagnose a DTC B0807.

  2. This step determines if there is a short to ground in CKT 1732.

Step

Action

Value(s)

Yes

No

1

Was the Body Control Module Diagnostic System Check performed?

--

Go to Step 2

Go to Diagnostic System Check - Body Control System

2

  1. Disconnect the body control module (SBM) connector C1.
  2. Measure the resistance between the SBM C1 connector terminal D1 and ground.

Is the resistance within the specified range?

0-5 ohms

Go to Step 3

Go to Step 4

3

Repair the short to ground in CKT 1732.

Did you complete the repair?

--

Go to Step 5

--

4

  1. Replace the SBM. Refer to Body Control Module Replacement .
  2. Program the SBM. Refer to Body Control Module (BCM) Programming/RPO Configuration .

Did you complete the repair?

--

Go to Step 5

--

5

  1. Turn the ignition switch to the OFF position.
  2. Connect all of the connectors.
  3. Install all of the components.
  4. Clear all of the DTCs. Refer to Clearing DTCs .

Did you complete the repair?

--

Go to Diagnostic System Check - Body Control System

--