GM Service Manual Online
For 1990-2009 cars only

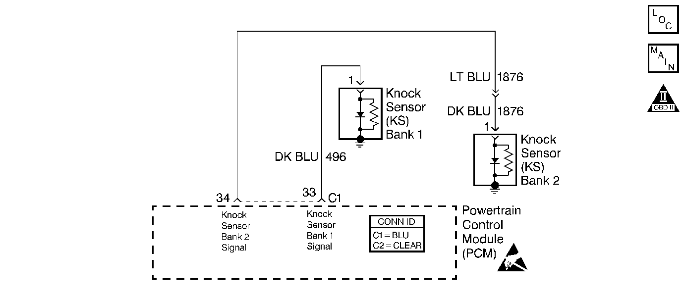
Object Number: 405557  Size: SF
Engine Controls Components
OBD II Symbol Description Notice
Cell 20: MAF, IAC and Knock Sensors
Handling ESD Sensitive Parts Notice

Circuit Description

The PCM contains integrated Knock Sensor (KS) diagnostic circuitry. Input signals from the knock sensors are used to detect engine detonation, allowing the PCM to retard Ignition Control (IC) spark timing based on the amplitude and frequency of the KS signal being received. The knock sensors produce an AC signal under all engine operating conditions. During engine operation, the PCM calculates the average voltage of each knock sensor's signal. If the knock sensor system is operating normally, the PCM should monitor KS signal voltages varying over 0.5 volt above and below the calculated average voltage. If the PCM malfunctions in a manner which will not allow proper diagnosis of the KS circuits, DTC P0325 will set.

Conditions for Running the DTC

  1. No TP sensor, VSS, CKP, MAF, or ECT DTCs are set.
  2. VIN K - Engine speed is between 1000 and 4000 rpm.
  3. VIN 1 - Engine speed is between 1000 and 3000 rpm.
  4. VIN K - Throttle angle is greater than 3%.
  5. VIN 1 - Throttle angle is greater than 15%.
  6. VIN K - Engine load is greater than 20%.
  7. VIN 1 - Engine load is greater than 45%.
  8. Engine coolant temperature is greater than 75°C (167°F).
  9. Maximum spark retard is less than 15°.
  10. System voltage is greater than 9 volts.

Conditions for Setting the DTC

    • The PCM detects a malfunction in the integrated knock sensor diagnostic circuitry which will not allow proper diagnosis of the knock sensor circuits.
    • Above conditions for at least 1 second.

Action Taken When the DTC Sets

The PCM stores conditions which were present when the DTC set as Failure Records only. This information will not be stored as Freeze Frame Records.

Conditions for Clearing the MIL/DTC

    • The DTC becomes history when the conditions for setting the DTC are no longer present.
    • The history DTC clears after 40 malfunction free warm-up cycles.
    • The PCM receives a clear code command from the scan tool.

Test Description

Number(s) below refer to the step number(s) on the Diagnostic Table.

  1. Ensures that the malfunction is present.

  2. This vehicle is equipped with a PCM which utilizes an Electrically Erasable Programmable Read Only Memory (EEPROM). When the PCM is being replaced, the new PCM must be programmed.

DTC P0325 - Knock Sensor Circuit

Step

Action

Value(s)

Yes

No

1

Was the Powertrain On-Board Diagnostic (OBD) System Check performed?

--

Go to Step 2

Go to Powertrain On Board Diagnostic (OBD) System Check

2

Important:: If an engine knock can be heard repair the engine mechanical problem before proceeding with this diagnostic. Refer to Engine Noise Diagnosis .

  1. Operate engine within conditions specified in diagnostic support. Refer to Conditions for Setting the DTC.
  2. Using a scan tool, monitor Specific DTC info for DTC P0325 until the DTC P0325 test runs.

Note test result. Does scan tool indicate DTC P0325 failed this ignition?

--

Go to Step 4

Go to Step 3

3

  1. Turn ON the ignition switch.
  2. Review and record scan tool Fail Records data for DTC P0325.
  3. Operate vehicle within Fail Records conditions.
  4. Using a scan tool, monitor Specific DTC info for DTC P0325 until the DTC P0325 test runs.

Does scan tool indicate DTC P0325 test failed this ignition?

--

Go to Step 4

Go to Diagnostic Aids

4

Important:: The replacement PCM must be programmed. Refer to Powertrain Control Module Replacement/Programming .

Replace the PCM.

Is action complete?

--

Go to Step 5

--

5

  1. Review and record Fail Records data
  2. Clear DTCs.
  3. Operate the vehicle within Fail Records conditions.
  4. Using a scan tool, monitor Specific DTC info for DTC P0325 until the DTC P0325 test runs.

Does the scan tool indicate DTC P0325 test failed this ignition?

--

Go to Step 2

System OK