GM Service Manual Online
For 1990-2009 cars only

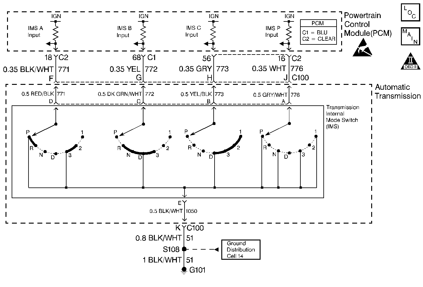
Object Number: 347264  Size: MF
Automatic Transmission Components
Automatic Transmission Controls Schematics
OBD II Symbol Description Notice
Handling ESD Sensitive Parts Notice

Circuit Description

The transmission internal mode switch (IMS) is a sliding contact switch attached to the selector detent inside the transmission side cover. The four inputs to the PCM from the IMS indicate which position is selected by the transmission selector lever. This information is used for engine controls as well as determining the transmission shift patterns. The input voltage level at the PCM is high (B+) when the IMS is open and low when the switch is closed to ground. The state of each input is available for display on the scan tool. The four input parameters displayed are Input A , Input B, Input C and Input P (Parity).

If the PCM detects a high voltage input from circuit 772 (YEL) when the transmission selector lever is moved from PARK to D2 or D1, then DTC P1822 sets. DTC P1822 is a Type D DTC.

Conditions for Running the DTC

    • The system voltage is 9-18 volts.
    • The engine speed is at least 500 RPM for 5 seconds and not in fuel shutoff.

Conditions for Setting the DTC

The IMS B Input is continuously high this ignition cycle, and the following conditions occur:

    • The IMS indicates PARK for 4 seconds, then;
    • The IMS indicates transitional position D2-D1, and;
    • Engine torque is 95-407 N·m (70-300 lb ft) with no engine torque defaults for 6 seconds.

Action Taken When the DTC Sets

    • The PCM does not illuminate the malfunction indicator lamp (MIL).
    • The PCM stores DTC P1822 in PCM history.

Conditions for Clearing the DTC

    • A scan tool can clear the DTC from the PCM history. The PCM clears the DTC from the PCM history if the vehicle completes 40 warm-up cycles without a failure reported.
    • The PCM cancels the DTC default actions when the fault no longer exists and the ignition is OFF long enough in order to power down the PCM.

Diagnostic Aids

    • Inspect the wiring for faulty electrical connections at the PCM, the transmission 20-way connector, the IMS connector and all other circuit connecting points for the following conditions:
       - A backed out terminal
       - A damaged terminal
       - Reduced terminal tension
       - A chafed wire
       - A broken wire inside the insulation
       - Moisture intrusion
       - Corrosion
    • When diagnosing for an intermittent short or open, massage the wiring harness while watching the test equipment for a change.

Test Description

The numbers below refer to the step numbers on the diagnostic table.

  1. This step determines if the fault is internal or external to the transmission.

  2. This step determines if the engine wiring harness circuit is at fault or the PCM.

  3. This step determines if the automatic transmission wiring harness assembly is at fault or the IMS.

  4. Because of harsh conditions inside the transmission, repairing the automatic transmission (A/T) wiring harness assembly is not acceptable. It must be replaced if it is damaged in any way.

DTC P1822 Transmission IMS Circuit B -- High

Step

Action

Value(s)

Yes

No

1

Was the Powertrain On-Board Diagnostic (OBD) System Check performed?

--

Go to Step 2

Go to Powertrain On Board Diagnostic (OBD) System Check in Engine Controls

2

  1. Install the Scan Tool .
  2. Start the engine.
  3. Important: Before clearing the DTCs, use the scan tool in order to record the Failure Records for reference. Using the Clear Info function will erase the stored Failure Records from the PCM.

  4. Record the Failure Records.
  5. Clear the DTCs.
  6. Monitor IMS A/B/C/P on the scan tool.
  7. Apply the brakes.
  8. Observe the state of Mode B on the scan tool while placing the transmission in Drive 4.

Does the state of Mode B change from OFF to ON?

--

Go to Diagnostic Aids

Go to Step 3

3

  1. Turn the ignition switch to the OFF position.
  2. Disconnect the transmission 20-way connector.
  3. Important: Additional DTCs will set.

  4. Start the engine and observe the state of Mode B on the scan tool.

Does the state of Mode B change from OFF to ON?

--

Go to Step 5

Go to Step 4

4

  1. Turn the ignition switch to the OFF position.
  2. Disconnect PCM connector C1.
  3. Check circuit 772 (YEL) of the engine wiring harness for a short to power.
  4. Refer to General Electrical Diagnosis in Wiring Systems.

Was a condition found?

--

Go to Step 6

Go to Step 9

5

  1. Turn the ignition switch to the OFF position.
  2. Connect the transmission 20-way connector.
  3. Disconnect the automatic transmission wiring harness assembly at the IMS.
  4. Start the engine and observe the state of Mode B on the scan tool.

Does the state of Mode B change from OFF to ON?

--

Go to Step 8

Go to Step 7

6

Repair the circuit as necessary.

Refer to Wiring Repairs in Wiring Systems.

Is the repair complete?

--

Go to Step 10

--

7

Replace the automatic transmission wiring harness assembly.

Refer to Solenoids and Wiring Harness Replacement.

Is the replacement complete?

--

Go to Step 10

--

8

Replace the transmission internal mode switch.

Refer to Internal Mode Switch Replacement.

Is the replacement complete?

--

Go to Step 10

--

9

Replace the PCM.

Refer to Powertrain Control Module Replacement/Programming in Engine Controls.

Is the replacement complete?

--

Go to Step 10

--

10

Perform the following procedure in order to verify the repair:

  1. Select DTC.
  2. Select Clear Info.
  3. Start the engine.
  4. Monitor IMS on the scan tool.
  5. Apply the brakes.
  6. Move the gear selector lever from PARK to D4. Ensure the state of Mode B changes from OFF to ON when the gear selector lever is moved from PARK to D4.
  7. Select Specific DTC.
  8. Enter DTC P1822.

Has the test run and passed?

--

System OK

Go to Step 1