GM Service Manual Online
For 1990-2009 cars only

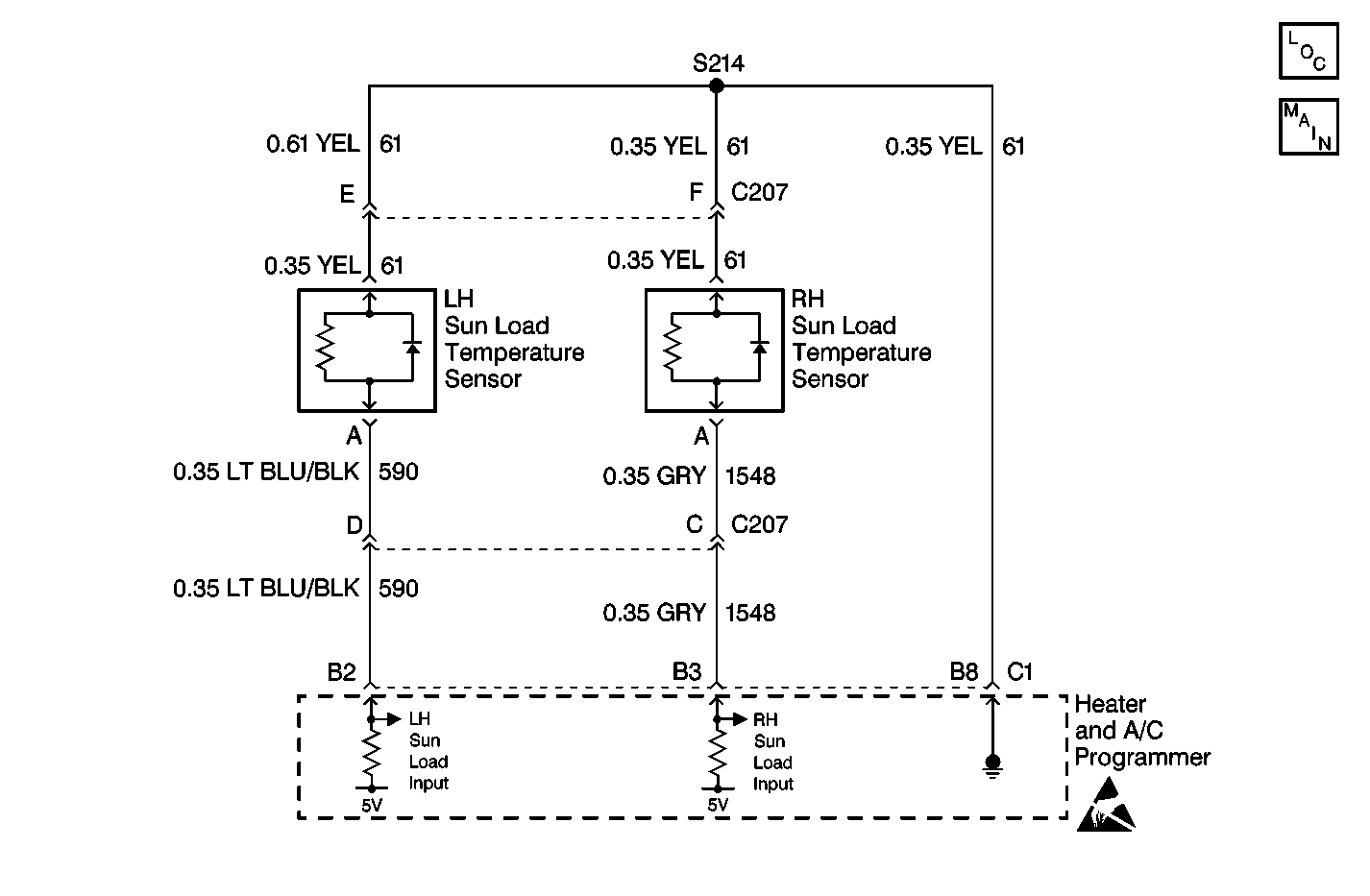
Object Number: 246919  Size: MF
HVAC Components
Cell 68: Temperature Sensors
Handling ESD Sensitive Parts Notice

Circuit Description

The Passenger sun load sensor is a light sensitive photodiode that controls signal voltage to the HVAC Control Module (HCM). This photodiode is different from standard thermistor sensors and resistance measurements will not produce accurate results. The HCM monitors voltage on circuit 1548 to the sensor. When the sensor is in direct sun light the HCM reads a low signal voltage at terminal B3, connector C2. When the sensor is shaded, the signal voltage increases. Signal voltage will vary from 5 V (open circuit) to 0 V (short circuit).

Conditions for Setting the DTC

    • The ignition is ON.
    • Circuit shorted or open.

Action Taken When the DTC Sets

    • A default value of dark or no sun load will be used by the HCM.
    • The default value will allow the system to operate.

Conditions for Clearing the DTC

    • Using a Scan Tool .
    • A history DTC will clear after 50 fault free ignition cycles.
    • HCM battery voltage is interrupted.

Test Description

The numbers below refer to the step numbers on the diagnostic table.

  1. Perform the Body Control Module (BCM) diagnostic system check before continuing with the diagnosis of this DTC.

  2. Determines whether the sensor is operational.

  3. Determines that the DTC was not set in error.

  4. Determines if the malfunction is the sensor or an open or a short in a circuit.

  5. Determines if the HCM or an open or short is causing the malfunction.

  6. The Scan Tool checks for proper sensor operation. Clear all the DTC's after the repair procedures are complete.

Step

Action

Value(s)

Yes

No

1

Was the BCM diagnostic system check performed?

--

Go to Step 2

Go to Diagnostic System Check - Body Control System

2

  1. Place the vehicle outside in a sunlit area.
  2. Turn the ignition switch to the ON position.
  3. Connect the Scan Tool .
  4. Display the passenger sun load sensor.
  5. Note the sensor count value.
  6. Cover the passenger sun load sensor with a dense object.

Did the sensor counts increase from the noted value?

--

Go to Step 3

Go to Step 4

3

  1. Use the Scan Tool to clear the DTC.
  2. Start the engine.

Did the DTC reset?

--

Go to Step 4

Go to Intermittents and Poor Connections

4

  1. Turn the ignition switch to OFF.
  2. Disconnect the passenger sun load sensor.
  3. Turn the ignition switch to the ON position.
  4. Measure the voltage between sun load sensor harness connector terminal A and terminal B.

Refer to Measuring Voltage in Wiring Systems.

Is the voltage within the specified value?

4.5-5.5 V

Go to Step 8

Go to Step 5

5

Measure the voltage between the sun load sensor harness connector terminal A and ground.

Refer to Measuring Voltage in Wiring Systems.

Is the voltage within the specified value?

4.5-5.5 V

Go to Step 9

Go to Step 6

6

Measure the voltage between the HCM terminal B3 and ground.

Refer to Measuring Voltage in Wiring Systems.

Is the voltage within the specified value?

4.5-5.5 V

Go to Step 7

Go to Step 10

7

Repair an open or short in CKT 1548 (GRY).

Refer to Wiring Repairs in Wiring Systems.

Is the repair complete?

--

Go to Step 12

--

8

Replace the passenger sun load sensor. Refer to Sun Load Sensor Replacement

Is the repair complete?

--

Go to Step 12

--

9

Are all of the HVAC sensor DTCs present?

--

Go to Step 10

Go to Step 11

10

  1. Inspect the terminals for proper terminal contact. Refer to Intermittents and Poor Connections Diagnosis in Wiring Systems.
  2. Replace the HCM if the terminal contacts are OK. Refer to Programmer Replacement

Is the repair complete?

--

Go to Step 12

--

11

Repair an open or short in CKT 61 (YEL).

Refer to Wiring Repairs in Wiring Systems.

Is the repair complete?

--

Go to Step 12

--

12

  1. Using the Scan Tool clear all the DTCs.
  2. Confirm proper operation of the system.

Is the system operating correctly?

--

Go to Diagnostic System Check - Body Control System

--