GM Service Manual Online
For 1990-2009 cars only

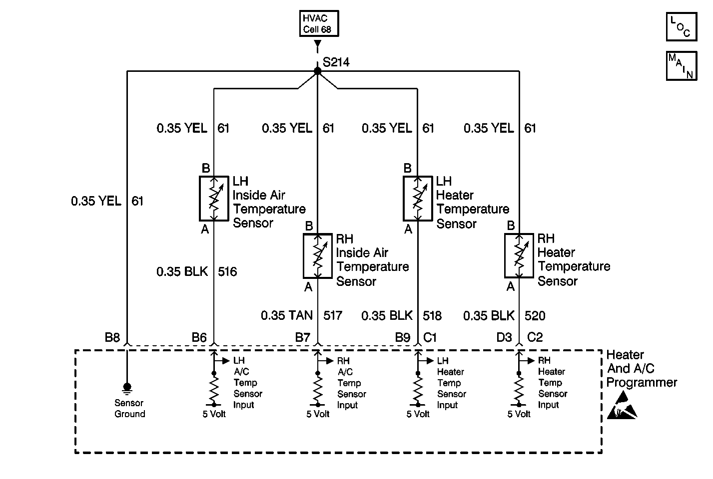
Object Number: 246921  Size: MF
HVAC Components
Cell 68: Temperature Sensors
HVAC Air Delivery/Temperature Control Schematics
Handling ESD Sensitive Parts Notice

Circuit Description

The left A/C temperature sensor is a thermistor that controls signal voltage to the HVAC Control Module (HCM). The HCM supplies voltage on circuit 516. When the sensor is cold, the resistance is high and the HCM will sense a high signal voltage at terminal B6, connector C2. When the sensor warms, resistance is reduced and the signal voltage is pulled low through circuit 61. Signal voltage will vary from 5 V (open circuit) to 0 V (short circuit).

Conditions for Setting the DTC

    • The ignition is ON.
    • Circuit open or shorted.

Action Taken When the DTC Sets

    • A default value of 128 counts and 24°C (75°F) will be used by the HCM.
    • The default valve allows the system to operate.
    • If air delivery is on A/C or bi-level, the air mix one door will cycle between full cold and full hot.

Conditions for Clearing the DTC

    • Using a Scan Tool .
    • A history DTC will clear when 40 consecutive ignition cycles have occurred without a malfunction.
    • HCM battery voltage is interrupted.

Test Description

The numbers below refer to the step numbers on the diagnostic table.

  1. Perform the Body Control Module (BCM) diagnostic system check before continuing with the diagnosis of this DTC.

  2. Ensures that the DTC was not set in error.

  3. Determines whether the cause of the malfunction is the sensor or an open or short in a circuit.

  4. The Scan Tool checks for proper sensor operation. Clear all the DTCs after the repair procedure is complete.

Step

Action

Value(s)

Yes

No

1

Was the BCM diagnostic system check performed?

--

Go to Step 2

Go to Cooling Insufficient - Air Conditioning (A/C) Inoperative

2

  1. Turn the ignition ON.
  2. Disconnect the sensor.
  3. Measure the voltage between the sensor harness connector A and B. Refer to Probing Electrical Connectors and Measuring Voltage in Wiring Systems.

Is the specified voltage measured?

4.5-5.5 V

Go to Step 3

Go to Step 4

3

  1. Turn the ignition OFF.
  2. Reconnect the sensor.
  3. Connect the Scan Tool .
  4. Turn the ignition ON.
  5. Clear the DTC using the Scan Tool .
  6. Start the engine.

Did the DTC reset?

--

Go to Step 4

Go to Intermittents and Poor Connections

4

  1. Select heater and A/C programmer open/short data on the Scan Tool .
  2. Display LH A/C temperature data.
  3. Start the engine.
  4. Unplug the LH A/C temperature sensor.
  5. The LH A/C temperature voltage increases to 5 V.
  6. Reconnect the LH A/C temperature sensor connector.

Did the LH A/C temperature sensor voltage decrease?

--

Go to Step 5

Go to Step 6

5

Replace the sensor.

Refer to Air Conditioning (A/C) Temperature Sensor Replacement .

Is the replacement complete?

--

Go to Step 9

--

6

Inspect CKT 61 (YEL) for an open or a short .

Was an open or a short located?

--

Go to Step 7

Go to Step 8

7

  1. Inspect CKT 516 (BLK) for an open or a short .
  2. If OK, replace the heater and A/C programmer. Refer to Programmer Replacement .

Is the replacement complete?

--

Go to Step 9

--

8

Repair the open or the short in CKT 61 (YEL). Refer to Wiring Repairs in Wiring Systems.

Is the repair complete?

--

Go to Step 9

--

9

  1. Use the Scan Tool in order to clear all of the DTCs.
  2. Confirm proper operation of the A/C system.

Is the A/C system operating properly?

--

Go to Cooling Insufficient - Air Conditioning (A/C) Inoperative

--