GM Service Manual Online
For 1990-2009 cars only

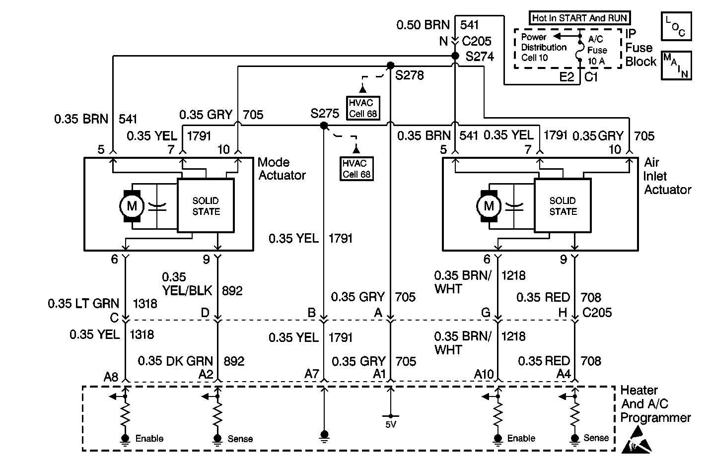
Object Number: 246923  Size: MF
HVAC Components
HVAC Air Delivery/Temperature Control Schematics
Cell 68: Temperature Actuators
Cell 68: Temperature Actuators
Handling ESD Sensitive Parts Notice
Cell 10: WSW, WSW/RFA, HUD, ELC, CR CONT, A/C and HVAC Fuses

Circuit Description

The rear junction block supplies ignition voltage through circuit 141 (BRN). The HCM commands the actuator to move by suppling voltage on the command line circuit 1318 (YEL). The command line voltage and motor actions are as follows:

    • 0 volts moves toward full hot.
    • 2.5 volts stops the motor.
    • 5 volts moves toward full cold.

The HCM determines the current position by monitoring the voltage on the feedback circuit 1814 (YEL/BLK). A feedback potentiometer supplies a regulated 5 volt signal by the HCM on circuit 705 (GRY), and a ground from the HCM circuit 1791 (YEL). The pot is gear driven inside the actuator. The feedback voltage is a function of the motor position with a high voltage of 4-5 volts indicating full cold door position. A low voltage of less then 1 volt indicates the full hot position. Operation of the air mix door actuator can be evaluated through Scan Tool data.

Conditions for Setting the DTC

    • Ignition is ON.
    • Feedback circuit is open or shorted.

Action Taken When the DTC Sets

    • A default value of 128 counts will be used by the HCM.
    • This default value results in only two positions of the actuator A/C and Defrost being used by the system.

Conditions for Clearing the DTC

    • Using a Scan Tool .
    • A history DTC will clear after 50 fault free ignition cycles.
    • HCM battery voltage is interrupted.
  1. Perform the Body Control Module Diagnostic Symptom Check before continuing with the diagnosis of this DTC.

  2. This test allows the Scan Tool to rattlebrained the actuator.

  3. Determines if the HMC is malfunctioning.

  4. Determines if the actuator is operational.

Step

Action

Value(s)

Yes

No

1

Was the BCM diagnostic system check performed?

--

Go to Step  2

Go to Diagnostic System Check - Body Control System

2

  1. Install Scan Tool .
  2. Start the engine and bring to normal operating temperature.
  3. Using the Scan Tool , establish communications with ithe HCM.
  4. Recalibrate all actuators.

Is the difference between minimum and maximum counts within the specified range?

150-220 counts

Go to Step  3

Go to Step  4

3

  1. Clear all the DTCs using the Scan Tool .
  2. Operate the system.

Does the system operate normally?

--

Go to Step  18

Go to Step  4

4

  1. Disconnect the electrical connector from the actuator.
  2. Measure the voltage at terminal 10, CKT 705 (GRY).

Refer to Measuring Voltage in Wiring Systems.

Is the voltage measured at the specified value?

5 V

Go to Step  5

Go to Step  9

5

Measure voltage at terminal 5, CKT 141 (BRN).

Refer to Measuring Voltage in Wiring Systems.

Is the voltage measured at the specified value?

5 V

Go to Step  6

Go to Step  9

6

Measure voltage at terminal 7, CKT 1791 (YEL).

Refer to Measuring Voltage in Wiring Systems.

Is the voltage measured at the specified value?

5 V

Go to Step  7

Go to Step  9

7

Measure voltage at terminal 6, CKT 1318 (YEL).

Refer to Measuring Voltage in Wiring Systems.

Is the voltage measured at the specified value?

2.5 V

Go to Step  8

Go to Step  9

8

Measure voltage at terminal 9, CKT 1814 (YEL/BLK).

Refer to Measuring Voltage in Wiring Systems.

Is the voltage measured at the specified value?

5 V

Go to Step  9

Go to Step  11

9

Inspect the circuits for an open, or short conditions.

Is an open or short condition located?

--

Go to Step  10

Go to Step  11

10

Repair the open or short condition.

Refer to Wiring Repairs in Wiring Systems.

Is the repair complete?

--

Go to Step  21

--

11

View actuator data on Scan Tool .

Is the actuator actual data displayed on the Scan Tool at the specified value?

5 V or 255 counts

Go to Step  12

Go to Step  20

12

Short terminal 9 CKT 1814 (YEL/BLK) to ground.

Is the actuator actual data displayed on the Scan Tool at the specified value?

0 V or 0 counts

Go to Step  13

Go to Step  20

13

Connector the electrical connector to the actuator.

Is the actuator actual data displayed on the Scan Tool at the specified value?

255 counts or 0 counts

Go to Step  20

Go to Step  14

14

  1. Using the Scan Tool .
  2. Move the actuator to the hot and cold.

Does the actuator move in both directions?

--

Go to Step  15

Go to Step  16

15

Did the actuator actual position feedback change?

--

Go to Step  21

Go to Step  19

16

Short terminal 10, CKT 705 (GRY) to terminal 6, CKT 199 (DK BLU).

Did the actuator move?

--

Go to Step  17

Go to Step  18

17

Did the actuator actual position feedback change?

--

Go to Step  21

Go to Step  19

18

Short terminal 7, CKT 1791 (YEL) to terminal 6, CKT 1318 (YEL).

Did the actuator move?

--

Go to Step  17

Go to Step  19

19

Replace the actuator. Refer to Mode Actuator Replacement

Is the repair complete?

--

Go to Step  21

--

20

Replace the HCM. Refer to Programmer Replacement .

Is the repair complete?

--

Go to Step  21

--

21

Confirm proper operation of the A/C system.

Does the system operate normally?

--

Go to Diagnostic System Check - Body Control System

--