GM Service Manual Online
For 1990-2009 cars only

Object Number: 395511  Size: MF
Power Seat Systems Components
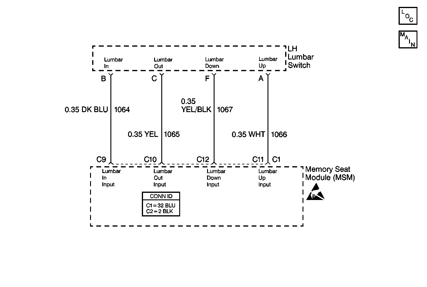
Lumbar Support Schematics A43
Power Seat Connector End Views
Handling ESD Sensitive Parts Notice

Circuit Description

The memory seat module (MSM) receives inputs from the LH lumbar switch. When you operate a switch, the switch becomes grounded. The MSM recognizes the input and moves the lumbar support in the appropriate direction. When any lumbar positioning switch input continues to be active for 30 seconds after motion in the requested direction has ceased, the switch is considered shorted. If a lumbar position sensor DTC is currently set, and a switch in the direction associated with the suspect sensor has been active for 30 seconds, the switch is considered shorted.

Conditions for Setting the DTC

The MSM sets the appropriate DTC whenever the MSM detects a switch failure.

Action Taken When the DTC Sets

    • Motor outputs being driven in response to the suspect switch de-activate.
    • The MSM continues to respond to valid inputs from the other positioning switches.
    • All memory recall commands are ignored.

Conditions for Clearing the DTC

The MSM does not detect the switch failure during the last monitoring cycle.

Test Description

The number(s) below refer to the step number(s) on the diagnostic table.

  1. This test determines whether the switch is stuck or whether a short to ground exists in the input wiring to the memory seat module (MSM). If a short to ground exists in the wiring, the diagnostic trouble code (DTC) should set again. If the switch is stuck, the DTC should not set again because the LH lumbar switch is disconnected.

Step

Action

Value(s)

Yes

No

1

Did you perform the Power Seat Systems Diagnostic System Check?

--

Go to Step 2

Go to Diagnostic System Check - Power Seat Systems

2

  1. Disconnect the LH lumbar switch.
  2. Connect a scan tool to the data link connector (DLC).
  3. Turn the ignition switch to the RUN position.
  4. Using the scan tool, clear all of the DTCs.

Does the DTC reset after 30 seconds?

--

Go to Step 3

Go to Step 4

3

Repair the short to ground in CKT 1067 (YEL/BLK). Refer to Wiring Repairs in Wiring Systems.

Did you complete the repair?

--

Go to Step 5

--

4

Replace the LH lumbar switch.

Did you complete the repair?

--

Go to Step 5

--

5

Clear the DTCs from the memory.

Did you clear the DTCs?

--

Go to Diagnostic System Check - Power Seat Systems

--