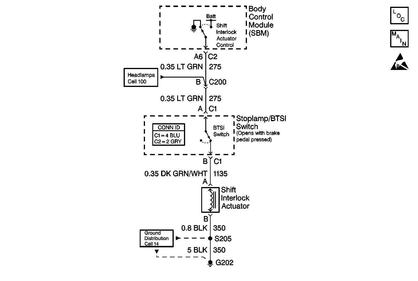
The body control module (SBM) supplies voltage to CKT 275 when the following conditions occur:
| • | The ignition switch is in RUN. |
| • | The transaxle is in the PARK position. |
While the brake pedal is pressed, the following functions occur:
| • | The stoplamp/BTSI switch opens the BTSI circuit. |
| • | The shift interlock actuator is disabled. |
The SBM monitors the output. The SBM determines the actual voltage at terminal A6 every 0.3 seconds.
| • | The SBM detects a short to ground in CKT 275. |
| • | The condition is present for more than 0.1 seconds. |
| • | DTC B0802 stores in the SBM memory. |
| • | No driver warning message displays. |
| • | The SBM no longer detects a short to ground. |
| • | A history DTC clears after 50 consecutive ignition cycles if the condition for the malfunction is no longer present. |
| • | You use a scan tool in order to activate the CLEAR CODES command. |
The following conditions may cause an intermittent malfunction to occur:
| • | An intermittent short to ground exists in the following circuits: |
| • | CKT 275 |
| • | CKT 1135 |
| • | The SBM is shorted to ground internally. |
If the DTC is a history DTC, the condition may be intermittent. Try performing the tests while moving the following components:
| • | The wires |
| • | The connectors |
Moving the components may often cause the malfunction to appear.
The numbers below refer to the step numbers on the diagnostic table.
Always perform the SBM Diagnostic System Check before attempting to diagnose a DTC B0802.
This step determines if a short to ground exists on CKT 275 or CKT 1135.
This step determines which circuit is shorted to ground, CKT 275 or CKT 1135.
Step | Action | Value(s) | Yes | No |
|---|---|---|---|---|
Did you perform the Diagnostic System Check - Body Control System ? | -- | Go to Step 2 | ||
Is the measured voltage in the specified range? | 10-15V | Go to Step 3 | Go to Step 8 | |
3 | Turn the ignition switch to RUN. Is the measured voltage in the specified range? | 10-15V | Go to Step 4 | Go to Step 7 |
Press the brake pedal. Is the measured voltage in the specified range? | 10-15V | Go to Step 6 | Go to Step 5 | |
5 | Repair the short to ground in CKT 1135. Is the repair complete? | -- | Go to Step 8 | -- |
6 | Repair the short to ground in CKT 275. Is the repair complete? | -- | Go to Step 8 | -- |
7 |
Is the repair complete? | -- | Go to Step 8 | -- |
8 |
Are all of the DTCs cleared? | -- | System OK |