GM Service Manual Online
For 1990-2009 cars only

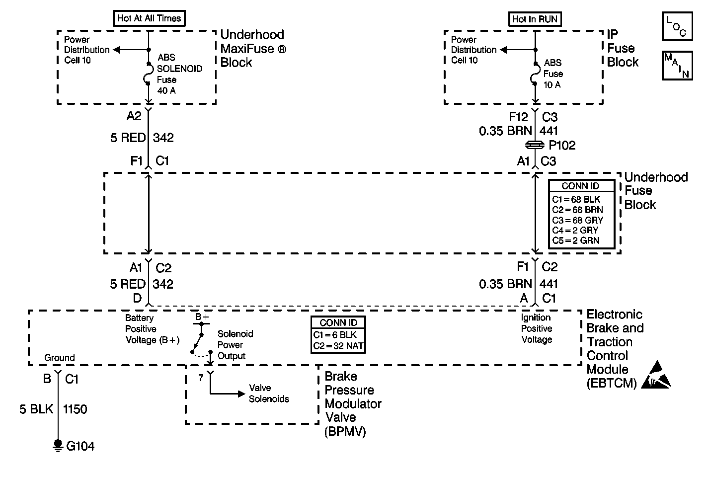
Object Number: 397518  Size: MF
ABS Components
Cell 44: PWR, GND, EBCM/EBTCM, BPMV Motor and Solenoids
Handling ESD Sensitive Parts Notice
Cell 10: IGN SEN, ABS, RUN, AUX and AUXOT LT
Cell 10: BATT 1, THFT, BLO MOT, COOL FAN1, IGN, BATT 2, HDLP, AUX, RAP, ABS Solenoid, ABS Motor and RUN Fuses
Cell 44: PWR, GND, EBCM/EBTCM, BPMV Motor and Solenoids

Circuit Description

The EBCM/EBTCM and the BPMV receive power from 3 circuits. CKT 642 supplies battery power to the pump motor. CKT 342 supplies ignition power to the solenoid valves, the EBCM/EBTCM, and the pump motor relay coil. CKT 441 supplies battery power to initialize controller operations. CKT 441 also supplies power to the solenoid valve relay coil.

Conditions for Setting the DTC

    • The ignition voltage is greater than 10.5 volts.
    • The solenoid relay is commanded ON.
    • The solenoid relay voltage is less than 8.0 volts.

Action Taken When the DTC Sets

    • A malfunction DTC is stored.
    • The ABS/TCS is disabled.
    • The ABS indicator isturned ON.
    • The TRACTION OFF indicator is turned ON.

Conditions for Clearing the DTC

    • The condition for the DTC is no longer present and you used the scan tool Clear DTC function.
    • The EBCM/EBTCM does not detect the DTC in 50 drive cycles.

Diagnostic Aids

    • It is very important that a thorough inspection of the wiring and connectors be performed. Failure to carefully and fully inspect wiring and connectors may result in misdiagnosis, causing part replacement with reappearance of the malfunction.
    • An intermittent malfunction can be caused by poor connections, broken insulation, or a wire that is broken inside the insulation.
    • If an intermittent malfunction exists, refer to Intermittents and Poor Connections Diagnosis in Wiring Systems.
    • The following conditions are possible causes of the malfunction:
       - A problem in the power distribution system may result in no battery voltage to CKT 342.
       - The ABS SOLENOID fuse is open.
       - CKT 342 has a wiring problem, corrosion, or faulty connections.
       - There is an internal malfunction in the EBCM/EBTCM or the BPMV.
       - The solenoid valve relay is faulty.
    • The relays are integral to the EBCM/EBTCM and are not serviceable.

Test Description

The numbers below refer to the step numbers on the diagnostic table.

  1. This step tests for a short to ground in CKT 342.

  2. This step tests for an internal short in the brake pressure modulator valve (BPMV).

  3. This step tests for an open in CKT 342.

Step

Action

Value(s)

Yes

No

1

Was the ABS Diagnostic System Check performed?

--

Go to Step 2

Go to Diagnostic System Check - ABS

2

Inspect the ABS SOLENOID fuse in the underhood maxifuse block.

Is the fuse OK?

--

Go to Step 7

Go to Step 3

3

  1. Install a new ABS SOLENOID fuse.
  2. Turn the ignition to the RUN position with the engine OFF.
  3. Inspect the ABS SOLENOID fuse.

Is the fuse OK?

--

Go to Diagnostic System Check - ABS

Go to Step 4

4

  1. Turn the ignition switch to the OFF position.
  2. Remove the ABS SOLENOID fuse.
  3. Disconnect the EBCM/EBTCM.
  4. Connect the J 39700 universal pinout box using the J 39700-25 cable adapter to the EBCM/EBTCM harness connector only.
  5. Using the J 39200 digital multimeter (DMM), measure the resistance between the J 39700 terminal D and terminal B.

Is the resistance equal to the specified value?

OL (Infinite)

Go to Step 5

Go to Step 10

5

  1. Remove the EBCM/EBTCM from BPMV.
  2. Connect the J 41247 to the BPMV.
  3. Measure the resistance between the J 41247 terminal 7 and the BPMV case.

Is the resistance equal to the specified value?

OL (Infinite)

Go to Step 9

Go to Step 6

6

Replace the BPMV. Refer to Brake Pressure Modulator Valve Replacement .

Is the repair complete?

--

Go to Diagnostic System Check - ABS

--

7

  1. Reinstall the fuse, if removed.
  2. Using the J 39200 digital multimeter (DMM), probe between the ABS SOLENOID fuse test terminals and a good ground in order to measure the voltage.

Is the voltage equal to the specified value?

Battery Voltage

Go to Step 8

Go to Wiring Repairs in Wiring Systems

8

  1. Turn the ignition switch to the OFF position.
  2. Disconnect the EBCM/EBTCM.
  3. Connect the J 39700 universal pinout box using the J 39700-25 cable adapter to the EBCM/EBTCM harness connector only.
  4. Using the J 39200 DMM, measure the voltage at the J 39700 terminal D.

Is the voltage equal to the specified value?

Battery Voltage

Go to Step 9

Go to Step 11

9

Replace the EBCM/EBTCM. Refer to Electronic Brake Control Module Replacement .

Is the repair complete?

--

Go to Diagnostic System Check - ABS

--

10

Repair the short to ground in CKT 342. Refer to Wiring Repairs in Wiring Systems.

Is the circuit repair complete?

--

Go to Diagnostic System Check - ABS

--

11

Repair the open or high resistance in CKT 342. Refer to Wiring Repairs in Wiring Systems.

Is the circuit repair complete?

--

Go to Diagnostic System Check - ABS

--