GM Service Manual Online
For 1990-2009 cars only

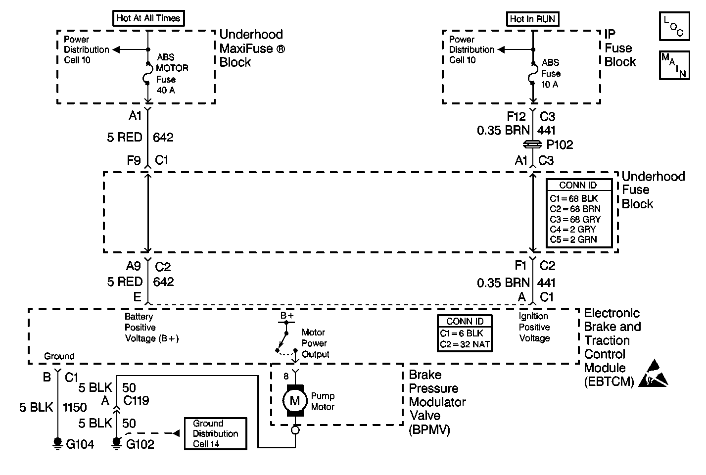
Object Number: 397520  Size: MF
ABS Components
Cell 44: PWR, GND, EBCM/EBTCM, BPMV Motor and Solenoids
Handling ESD Sensitive Parts Notice
Cell 10: IGN SEN, ABS, RUN, AUX and AUXOT LT
Cell 10: BATT 1, THFT, BLO MOT, COOL FAN1, IGN, BATT 2, HDLP, AUX, RAP, ABS Solenoid, ABS Motor and RUN Fuses
Cell 14: G101, G102 and G103

Circuit Description

The BPMV pump motor ground is supplied through the stud on the pump motor to ground.

Conditions for Setting the DTC

    • The pump relay is commanded OFF.
    • The pump motor ground CKT 50 resistance is greater than 6900 ohms.

Action Taken When the DTC Sets

    • A malfunction DTC is stored.
    • The ABS/TCS is disabled.
    • The ABS indicator isturned ON.
    • The TRACTION OFF indicator is turned ON.

Conditions for Clearing the DTC

    • The condition for the DTC is no longer present and you used the scan tool Clear DTC function.
    • The EBCM/EBTCM does not detect the DTC in 50 drive cycles.

Diagnostic Aids

    • It is very important that a thorough inspection of the wiring and connectors be performed. Failure to carefully and fully inspect wiring and connectors may result in misdiagnosis, causing part replacement with reappearance of the malfunction.
    • An intermittent malfunction can be caused by poor connections, broken insulation, or a wire that is broken inside the insulation.
    • If an intermittent malfunction exists, refer to Intermittents and Poor Connections Diagnosis in Wiring Systems.

Test Description

The numbers below refer to the step numbers on the diagnostic table.

  1. This step tests for a good pump motor ground.

  2. This step tests for proper pump motor resistance.

Step

Action

Value(s)

Yes

No

1

Was the ABS Diagnostic System Check performed?

--

Go to Step 2

Go to Diagnostic System Check - ABS

2

  1. Turn the ignition switch to the OFF position.
  2. Using the J 39200 digital multimeter (DMM), measure the resistance between the motor ground stud and a good chassis ground.

Is the resistance less than the specified value?

2 ohms

Go to Step 3

Go to Step 8

3

  1. Disconnect the EBCM/EBTCM connector.
  2. Remove the EBCM/EBTCM from the BPMV.
  3. Inspect the EBCM/EBTCM to BPMV connector for any of the following conditions:
  4. • Damage
    • Corrosion
    • Poor terminal contact
    • The presence of brake fluid

Is the connector free of the previous conditions?

--

Go to Step 4

Go to Step 5

4

  1. Install the J 41247 to the BPMV connector.
  2. Using the J 39200 DMM, measure the resistance between the BPMV internal connector terminal 8 and the motor ground stud.

Is the resistance within the specified range?

0.2-10.0 ohms

Go to Step 6

Go to Step 7

5

  1. If corrosion or connector damage is evident, replace the BPMV or the EBCM/EBTCM as needed.
  2. If brake fluid is present, replace the BPMV and the EBCM/EBTCM. Refer to Electronic Brake Control Module Replacement or Brake Pressure Modulator Valve Replacement .

Is the repair complete?

--

Go to Diagnostic System Check - ABS

--

6

Replace the EBCM/EBTCM. Refer to Electronic Brake Control Module Replacement .

Is the repair complete?

--

Go to Diagnostic System Check - ABS

--

7

Replace the BPMV. Refer to Brake Pressure Modulator Valve Replacement .

Is the repair complete?

--

Go to Diagnostic System Check - ABS

--

8

Repair the open or high resistance in CKT 50. Refer to Wiring Repairs in Wiring Systems.

Is the circuit repair complete?

--

Go to Diagnostic System Check - ABS

--