GM Service Manual Online
For 1990-2009 cars only
Makes
🢒
Buick
🢒
2000
🢒
Park Avenue
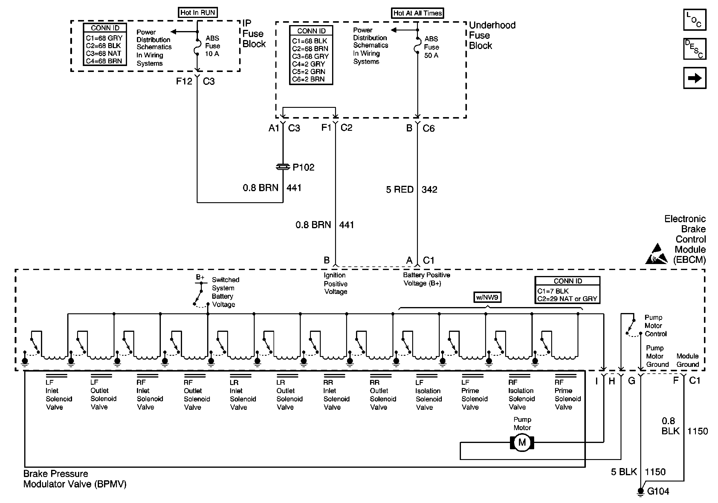
🢒 PWR, GND, Solenoid Valves, and Pump Motor
PWR, GND, Solenoid Valves, and Pump Motor
PWR, GND, Solenoid Valves, and Pump Motor
ABS Components
ABS Description
Wheel Speed Sensors
Handling ESD Sensitive Parts Notice
Underhood Fuse Block, RUN Fuse/IP Fuse Block, RUN Fuse, IGN-3 and Run/Accessory Relays
Underhood Fuse Block and Underhood Maxi-Fuse Block