GM Service Manual Online
For 1990-2009 cars only
Makes
🢒
Buick
🢒
2000
🢒
Park Avenue
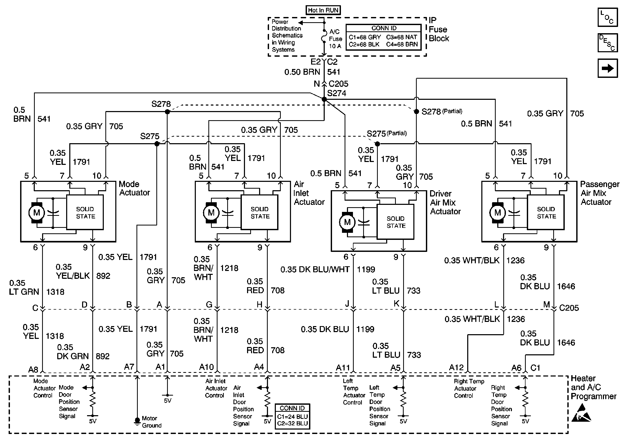
🢒 Actuators
Actuators
Actuators
HVAC Components
HVAC Air Delivery/Temperature Control Circuit Description
Sensors
Handling ESD Sensitive Parts Notice
IP Fuse Block, HVAC and A/C Fuses