GM Service Manual Online
For 1990-2009 cars only
Makes
🢒
Buick
🢒
2000
🢒
Park Avenue
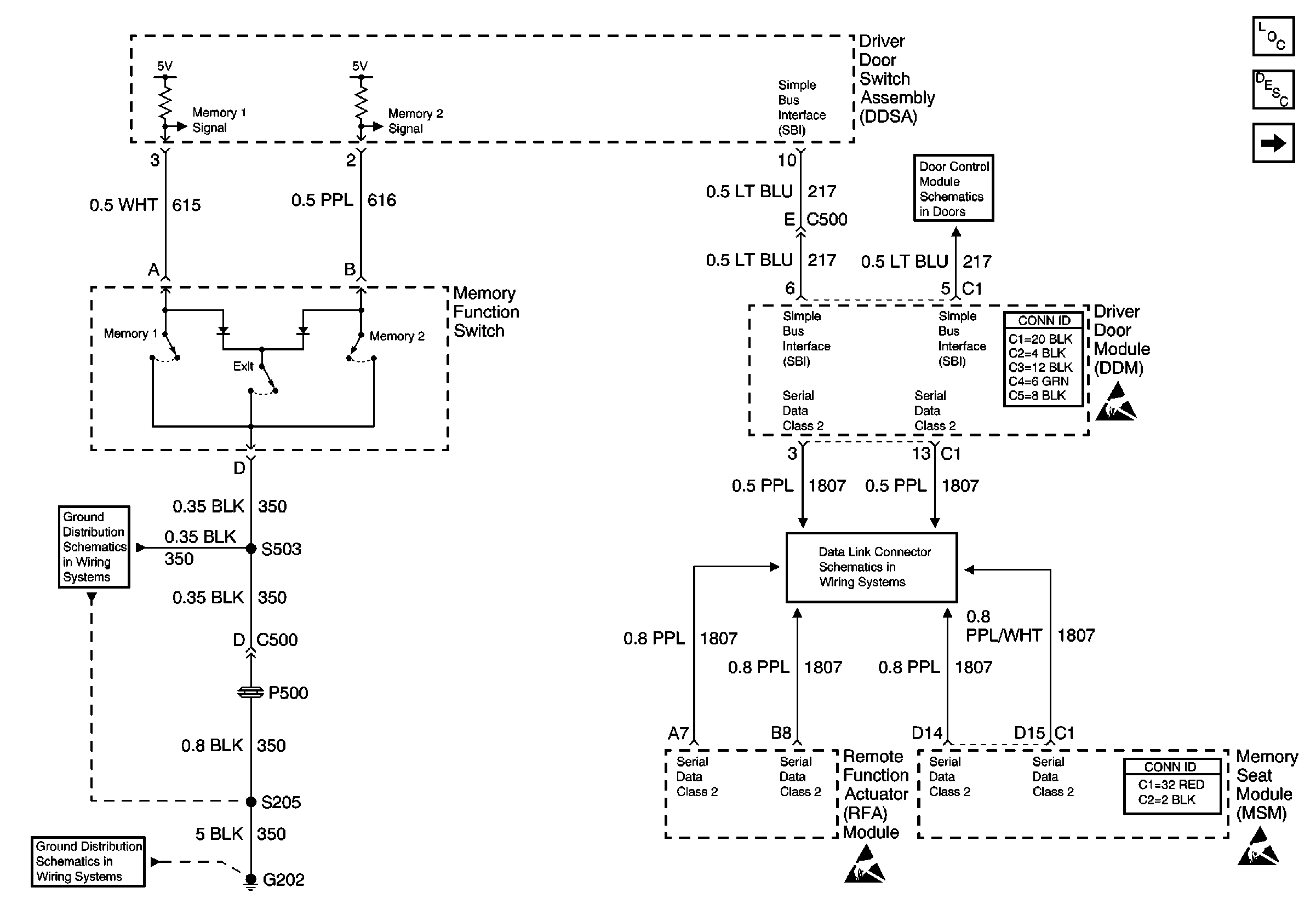
🢒 Memory Seats Schematics: Memory Function Switch
Memory Seats Schematics: Memory Function Switch
Memory Seats Schematics: Memory Function Switch
Power Seat Component Views
Memory Seat Circuit Description
Memory Seats Schematics: LH Seat Switch
Handling ESD Sensitive Parts Notice
Handling ESD Sensitive Parts Notice
Handling ESD Sensitive Parts Notice
Door Control Module Schematics
Ground Distribution Schematics
Ground Distribution Schematics
Data Link Connector Schematics