GM Service Manual Online
For 1990-2009 cars only
Makes
🢒
Buick
🢒
2000
🢒
Park Avenue
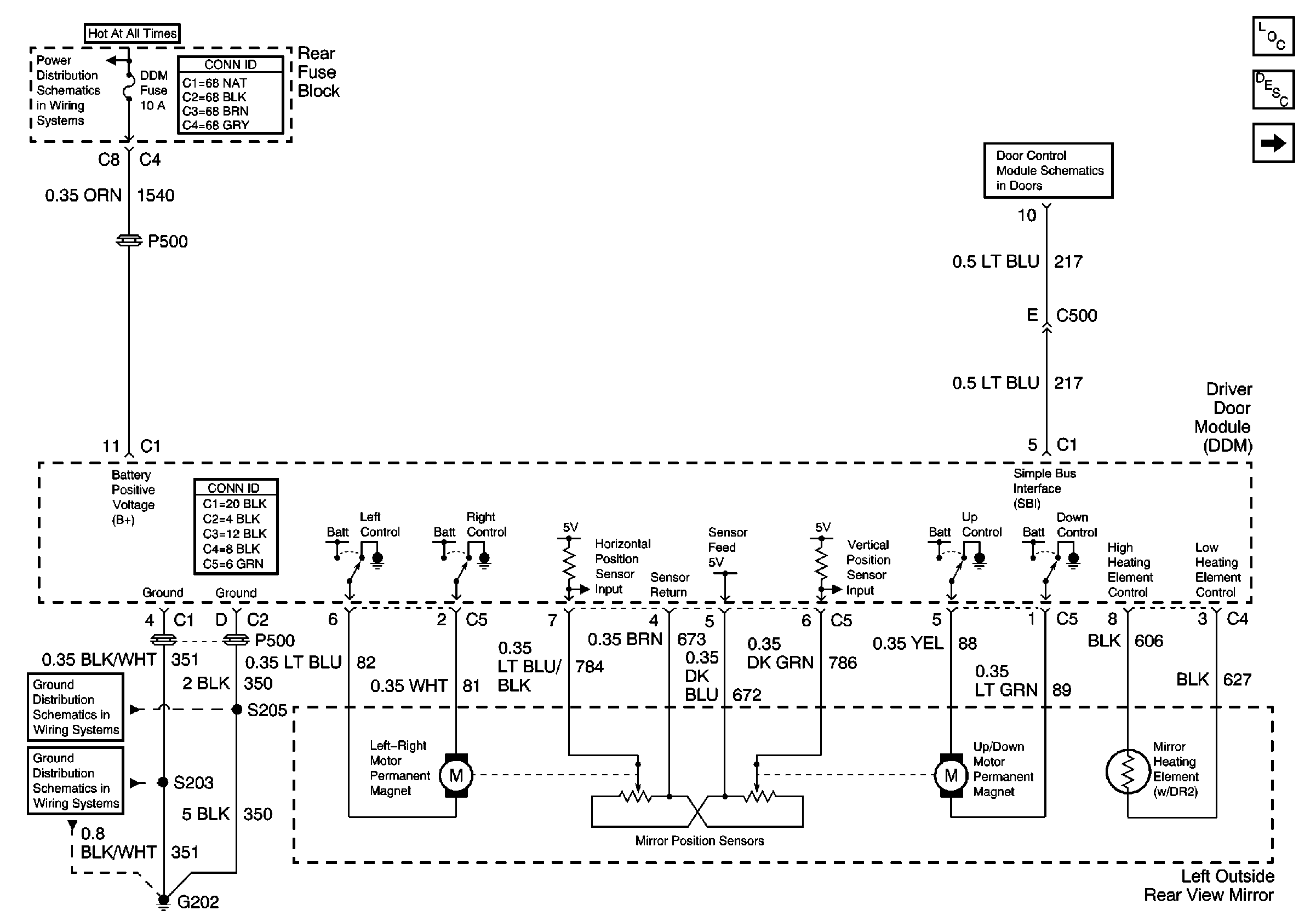
🢒 Left Outside Power Mirror
Left Outside Power Mirror
Left Outside Power Mirror
Power Door Systems Components
Outside Mirrors Operation
Right Outside Power Mirror
Right Front Door Jamb Switch
G202, 1 of 4
Underhood Fuse Block, BAT 1 Fuse/Rear Fuse Block, RDM, C/LTR, DDM, HTDST L and TRK REL Fuses/ IP Fuse Block, PDM, SBM and CSTR/SBM Fuses
G202, 1 of 4
G202, 1 of 4