GM Service Manual Online
For 1990-2009 cars only

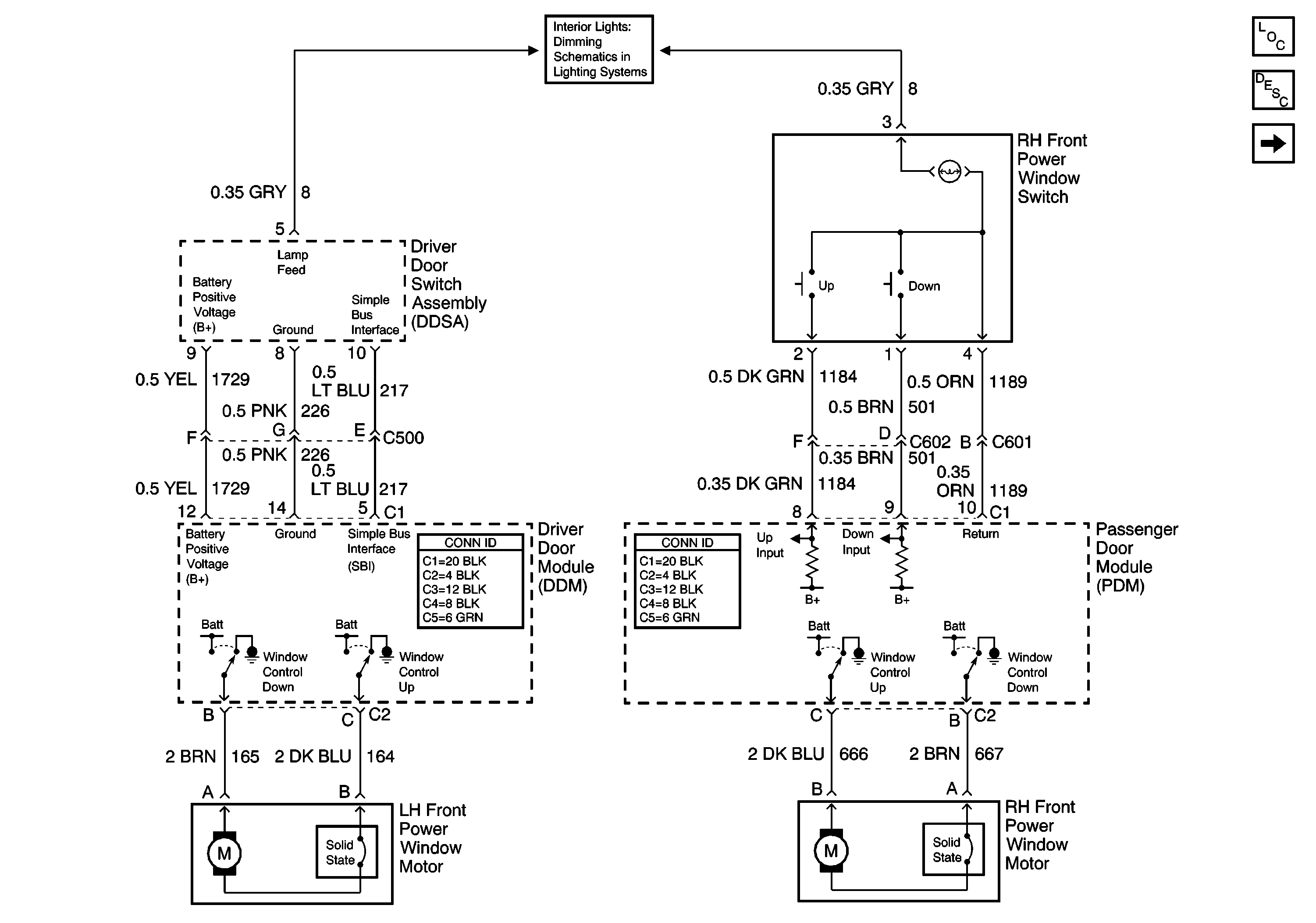
Schematic

Refer to Power Window Schematics

Front Power Window Components


Object Number: 626571  Size: FS
Power Door Systems Components
Power Windows Operation
Rear Power Window Components
Courtesy Lamp Switch, LH Door Courtesy Lamps, and IP Compartment Lamp
Auxiliary Lighting Control, RH Door Courtesy Lamps, and Rear Compartment LAmp
.

Circuit Description

The circuit for the passenger window switch on the LF door consists of the following components:

    • The LH front power window switch assembly.
    • The simple bus interface (SBI).
    • The driver door module (DDM).

The LH front power window switch is different from the other window switches. This switch contains an internal microprocessor. The LH front power window switch assembly reports all switch activity to the DDM. The diagnostic software for DTC B2216 is contained in the DDM. Faults involving the DDM or the SBI may set other DTCs and affect the operation of the power door locks or the outside rearview mirrors.

Conditions for Running the DTC

    • All modules involved in the circuit must be powered.
    • No module involved in the circuit may have B1982 (battery voltage high) or B1983 (battery voltage low) set as a current DTC.
    • All modules involved in the circuit must be communicating (no current communication DTC set).

Conditions for Setting the DTC

DTC B2216 will be set current if the SBI messages from the LH front power window switch indicates that the right rear window switch has been in the UP position for 15 consecutive seconds. This diagnostic will not run if either DTC B1982 (battery voltage high) or DTC B1983 (battery voltage low) are set current.

Action Taken When the DTC Sets

While this DTC is current, the DDM will ignore actuation of the LH front power window switch.

Conditions for Clearing the DTC

    • This DTC will set from current to history when the window UP input cycles off.
    • A history DTC will clear after 50 cycles of the ignition switch.

Diagnostic Aids

    • A history DTC is evidence of an intermittent condition.
    • If DTC B2216 is current, cycle the ignition switch from OFF to RUN. If the DTC is still current, perform the following diagnostic.

Test Description

The number(s) below refer to the step number(s) on the diagnostic table.

  1. Check the module input state using the normal input status.

  2. Check to see that the input is seen by the module.

Step

Action

Yes

No

1

Did you perform A Diagnostic System Check - Door Systems?

Go to Step 2

Go to Diagnostic System Check - Door Systems

2

  1. Install a scan tool.
  2. Turn ON the ignition, with the engine OFF.
  3. With a scan tool, observe the Driver Window Switch parameter for the appropriate window switch in the driver door module (DDM) data list.

Does the scan tool display Idle?

Go to Step 3

Go to Step 4

3

  1. Activate the appropriate driver door window switch.
  2. With the scan tool, observe the driver door window switch parameter for the appropriate switch.

Does the door window switch parameter change state?

Go to Diagnostic Aids

Go to Step 4

4

Inspect for poor connections/terminal tension at the driver door window switch harness connector. Refer to Testing for Intermittent Conditions and Poor Connections and Connector Repairs in Wiring Systems.

Did you find and correct the condition?

Go to Step 6

Go to Step 5

5

Replace the driver door window switch. Refer to Front Door Switch Replacement .

Did you complete the replacement?

Go to Step 6

--

6

  1. Use the scan tool in order to clear the DTCs.
  2. Operate the vehicle within the Conditions for Running the DTC as specified in the supporting text.

Does the DTC reset?

Go to Step 2

System OK