GM Service Manual Online
For 1990-2009 cars only

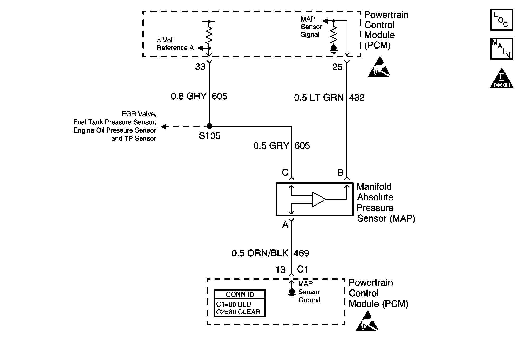
Object Number: 571268  Size: MF
Engine Controls Components
Sensors
Handling ESD Sensitive Parts Notice
OBD II Symbol Description Notice
Handling ESD Sensitive Parts Notice

Circuit Description

VIN K

The manifold absolute pressure (MAP) sensor responds to changes in intake manifold pressure (vacuum). The MAP sensor signal voltage to the PCM varies from below 2 volts at idle (high vacuum) to above 4 volts with the key ON, engine not running or at wide open throttle (low vacuum).

The MAP sensor is used to determine manifold pressure changes while the EGR flow test diagnostic is being run (refer to DTC P0401 Exhaust Gas Recirculation (EGR) Flow Insufficient ), to determine engine vacuum level for some other diagnostics and to determine barometric pressure (BARO). The PCM monitors the MAP signals for voltages outside the normal range of the MAP sensor. If the PCM detects a MAP signal voltage that is excessively low, DTC P0107 will be set.

VIN 1

The manifold absolute pressure (MAP) sensor responds to changes in intake manifold pressure. The PCM supplies a 5 volt reference and a ground for the MAP sensor. The MAP sensor circuit provides a signal to the PCM relative to pressure changes in the manifold. With the key ON, engine not running, the MAP sensor signal voltage to the PCM varies between 1.5-2.5 volts. With the engine running, the MAP sensor voltage to the PCM varies from below 2 volts at idle (low manifold absolute pressure - high vacuum) to above 4 volts at wide-open throttle (high manifold absolute pressure - low vacuum). The PCM monitors the MAP signals for voltages outside the normal range of the MAP sensor. If the PCM detects a MAP signal voltage that is excessively low, DTC P0107 will be set.

Conditions for Running the DTC

    • No TP sensor DTCs present
    • The engine is running.
    • The system voltage is more than 9 volts.
    • Idle speed is steady.
    • Throttle angle above 0 percent, if engine speed is less than 1000 RPM.
    • Throttle angle above 10 percent, if engine speed is more than 1000 RPM.

Conditions for Setting the DTC

    • The MAP sensor signal voltage is less than 0.1 volt.
    • Above conditions are present for more than 5 seconds.

Action Taken When the DTC Sets

    • The PCM will illuminate the malfunction indicator lamp (MIL) during the second consecutive trip in which the diagnostic test has been run and failed.
    • The PCM will store conditions which were present when the DTC set as Freeze Frame/Failure Records data.

Conditions for Clearing the MIL/DTC

    • The PCM will turn OFF the malfunction indicator lamp (MIL) during the third consecutive trip in which the diagnostic has run and passed.
    • The history DTC will clear after 40 consecutive warm-up cycles have occurred without a malfunction.
    • The DTC can be cleared by using a scan tool.

Diagnostic Aids

Check for the following conditions:

    • Monitor the MAP sensor using the scan tool.
        If the MAP sensor does not respond to throttle changes, check the 3X circuits from the ignition control module to the PCM.
         If the 3X signal is lost the PCM will only update the MAP sensor reading once per key cycle, when the engine is first started.
         Depending on where the MAP sensor voltage (high voltage or low voltage) is when the engine is started, the high or low voltage MAP sensor DTCs will set.
    • Poor connection at PCM.
        Inspect harness connectors for backed out terminals, improper mating, broken locks, improperly formed or damaged terminals, and poor terminal to wire connection.
    • Damaged harness.
        Inspect the wiring harness for damage. If the harness appears to be OK, observe the MAP display on the scan tool while moving connectors and wiring harnesses related to the sensor. A change in the display will indicate the location of the fault.

If DTC P0107 cannot be duplicated, the information included in the Failure Records data can be useful in determining the conditions present when the DTC was last set. If it is determined that the DTC occurs intermittently, performing the DTC P1107 diagnostic table may isolate the cause of the fault.

Test Description

Numbers below refer to the step numbers on the Diagnostic Table:

  1. This vehicle is equipped with a PCM which utilizes an Electrically Erasable Programmable Read Only Memory (EEPROM). When the PCM is being replaced, the new PCM must be programmed.

P0107- MAP Sensor Circuit Low Voltage

Step

Action

Value(s)

Yes

No

1

Did you perform the Powertrain On Board Diagnostic (OBD) System Check?

--

Go to Step 2

Go to Powertrain On Board Diagnostic (OBD) System Check

2

Important::  If DTC P1635 5 Volt Reference Circuit is set, perform that diagnostic first.

  1. Turn ON the ignition, with the engine OFF.
  2. With the scan tool and the throttle closed, observe the MAP voltage.

Does the voltage measure less than the specified value?

0.1 volt

Go to Step 4

Go to Step 3

3

  1. Review and record scan tool Fail Records data.
  2. Operate vehicle within Fail Records conditions.

Does the DTC reset?

--

Go to Step 4

Go to Diagnostic Aids

4

  1. Disconnect the MAP sensor electrical connector.
  2. Jumper the 5 volt reference A circuit and the MAP signal circuit together at the MAP sensor harness connector.
  3. Observe the MAP voltage with a scan tool.

Does the voltage measure near the specified value?

4.95V

Go to Step 9

Go to Step 5

5

  1. Disconnect the jumper wire.
  2. Connect a test lamp between battery positive voltage and the MAP sensor signal circuit at the MAP sensor harness connector.
  3. Observe the MAP voltage on the scan tool.

Does the voltage measure near the specified value?

4.95V

Go to Step 6

Go to Step 8

6

  1. Turn OFF the ignition.
  2. Test the 5 volt reference A circuit of the MAP sensor for high resistance or an open.
  3. If a problem is found, repair as necessary. Refer to Wiring Repairs in Wiring Systems.

Did you find and correct the condition?

--

Go to Step 13

Go to Step 7

7

Inspect the 5 volt reference A circuit of the MAP sensor for a poor connection at the PCM . If a problem is found, repair as necessary. Refer to Testing for Intermittent Conditions and Poor Connections and Connector Repairs in Wiring Systems.

Did you find and correct the condition?

--

Go to Step 13

Go to Step 12

8

  1. Turn OFF the ignition.
  2. Test the signal circuit of the MAP sensor for an open, short to ground, or short to the sensor ground.
  3. If a problem is found, repair as necessary. Refer to Wiring Repairs in Wiring Systems.

Did you find and correct the condition?

--

Go to Step 13

Go to Step 10

9

Inspect the signal circuit and the 5 volt reference circuit of the MAP sensor for a poor connection at the MAP sensor . If a problem is found, repair as necessary. Refer to Testing for Intermittent Conditions and Poor Connections and Repairing Connector Terminals in Wiring Systems.

Did you find and correct the condition?

--

Go to Step 13

Go to Step 11

10

Inspect the signal circuit and the 5 volt reference circuit of the MAP sensor for a poor connection at the PCM. If a problem is found, repair as necessary. Refer to Testing for Intermittent Conditions and Poor Connections in Wiring Systems.

Did you find and correct the condition?

--

Go to Step 13

Go to Step 12

11

Replace the MAP sensor. Refer to Manifold Absolute Pressure Sensor Replacement .

Did you complete the replacement?

--

Go to Step 13

--

12

Important:: Perform the set up procedure for the PCM.

Refer to Powertrain Control Module Replacement/Programming .

Replace the PCM.

Did you complete the replacement?

--

Go to Step 13

--

13

  1. Use a scan to clear the DTCs.
  2. Operate the vehicle within the Conditions for Running the DTC as specified in the supporting text.

Does the DTC reset?

--

Go to Step 2

System OK