GM Service Manual Online
For 1990-2009 cars only

Object Number: 571578  Size: SF
Engine Controls Components
EGR and EVAP Purge Valve
OBD II Symbol Description Notice
Handling ESD Sensitive Parts Notice

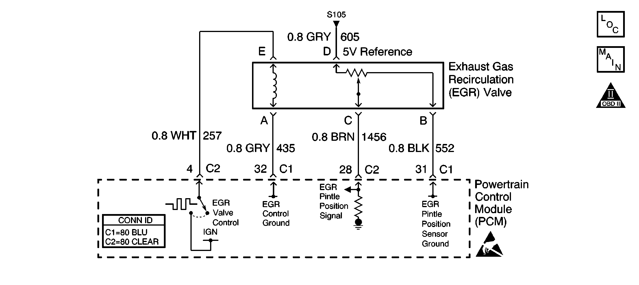
Circuit Description

The PCM monitors the EGR valve pintle position input to ensure that the valve responds properly to commands from the PCM. When the ignition switch is turned ON, the PCM learns the EGR closed valve pintle position. The PCM compares the learned EGR closed valve pintle position to the actual EGR position when the EGR valve is commanded closed. If the actual EGR position indicates that the EGR valve is still open when the PCM is commanding the EGR valve closed, DTC P1404 will set.

Conditions for Running the DTC

    • No TP, VSS, Misfire, IAT, MAP, Idle Speed, Fuel Injector, ECT, CKP, or MAF sensor DTCs set.
    • System voltage is between 9 volts and 16 volts.

Conditions for Setting the DTC

    • EGR Feedback is 0.4 volt more than the EGR closed valve pintle position when the desired EGR position is commanded to 0 percent.
    • The above conditions have to be present twice on VIN K, 4 times on VIN 1.

Action Taken When the DTC Sets

    • The PCM will illuminate the malfunction indicator lamp (MIL) during the second consecutive trip in which the diagnostic test has been run and failed.
    • The PCM will store conditions which were present when the DTC set as Freeze Frame/Failure Records data.

Conditions for Clearing the MIL/DTC

    • The PCM will turn OFF the malfunction indicator lamp (MIL) during the third consecutive trip in which the diagnostic has run and passed.
    • The history DTC will clear after 40 consecutive warm-up cycles have occurred without a malfunction.
    • The DTC can be cleared by using a scan tool.

Diagnostic Aids

Check for the following conditions:

    • Excessive deposits on the EGR valve pintle or seat.
        Remove the EGR valve and check for deposits that may interfere with the EGR valve pintle extending completely or cause the pintle to stick.
    • Poor connections at PCM or EGR valve.
        Inspect harness connectors for backed out terminals, improper mating, broken locks, improperly formed or damaged terminals, and poor terminal to wire connection.
    • Damaged harness.
        Inspect the wiring harness for damage. If the wiring appears to be OK, connect a DMM and check circuit continuity while moving connectors and wiring harnesses related to the EGR valve. A change in the DMM display will indicate the location of the malfunction.

Test Description

The numbers below refer to the step numbers on the diagnostic table.

  1. Verifies that the malfunction is present.

  2. If DTC P1404 will only set under certain conditions, the malfunction may be intermittent; refer to DTC P1404 Diagnostic Aids. If an intermittent wiring problem is not present, check for a poor connection at the PCM or the EGR valve. If the connections are OK and DTC P1404 continues to set, replace the EGR valve. Refer to EGR Valve Replacement .

  3. This vehicle is equipped with a PCM which utilizes an Electrically Erasable Programmable Read Only Memory (EEPROM). When the PCM is being replaced, the new PCM must be programmed.

DTC P1404 - EGR Valve Stuck Open

Step

Action

Values

Yes

No

1

Did you perform the Powertrain On Board Diagnostic (OBD) System Check?

--

Go to Step 2

Go to Powertrain On Board Diagnostic (OBD) System Check

2

Important: If DTC P0403 is set, diagnose DTC P0403 Exhaust Gas Recirculation (EGR) Solenoid Control Circuit first.

With the engine idling, observe actual EGR Position display on the scan tool.

Is actual EGR Position at the specified value?

0 percent

Go to Step 3

Go to Step 5

3

  1. Turn ON the ignition, with the engine OFF.
  2. Select the scan tool EGR valve output control function.
  3. Increment the EGR valve through all positions while comparing desired EGR position to actual EGR position.

Does desired EGR position remain close to actual EGR position at all commanded positions?

--

Go to Step 4

Go to Step 6

4

  1. Review and record scan tool Failure Records data.
  2. Operate the vehicle within Failure Records conditions.
  3. Using a scan tool, monitor Specific DTC info for DTC P1404 until the DTC P1404 test runs.

Does the scan tool indicate DTC P1404 failed this ignition?

--

Go to Step 5

Go to Diagnostic Aids

5

  1. Disconnect the EGR valve electrical connector.
  2. Observe actual EGR position on the scan tool.

Is actual EGR position at the specified value?

0 percent

Go to Step 6

Go to Step 7

6

Probe the EGR pintle position sensor ground circuit at the EGR valve harness connector with a test lamp to B+.

Is the test lamp ON?

--

Go to Step 9

Go to Step 8

7

  1. Turn OFF the ignition.
  2. Disconnect the PCM.
  3. Turn ON the ignition, with the engine OFF.
  4. Measure voltage between the EGR valve pintle position signal circuit and a known good ground.

Is the measured voltage near the specified value?

0V

Go to Step 13

Go to Step 11

8

  1. Check the EGR pintle position sensor ground circuit for an open between the PCM and the EGR valve.
  2. If a problem is found, repair as necessary. Refer to Wiring Repairs in Wiring Systems .

Was a problem found?

--

Go to Step 14

Go to Step 12

9

  1. Check for poor terminal connections at the EGR valve.
  2. If a problem is found, repair as necessary. Refer to Testing for Continuity , Repairing Connector Terminals and Connector Repairs in Wiring Systems.

Was a problem found?

--

Go to Step 14

Go to Step 10

10

Replace the EGR valve. Refer to Exhaust Gas Recirculation Valve Replacement .

Notice: If the EGR valve shows signs of excessive heat, inspect the exhaust system for blockage--possibly a plugged converter--using the procedure found on the Restricted Exhaust System Check. If the exhaust system is restricted, repair the cause. Inspect for an open injector caused by one or more of the following conditions:

   • Stuck
   • Grounded driver circuit
   • Possible faulty control module
If one of the above conditions is found, inspect the oil for possible fuel contamination.

Is action complete?

--

Go to Step 14

--

11

Locate and repair short to voltage in the EGR pintle position signal circuit. Refer to Wiring Repairs in Wiring Systems.

Is action complete?

--

Go to Step 14

--

12

  1. Check the circuits related to the EGR valve for poor terminal connections at the PCM.
  2. If a problem is found, repair as necessary. Refer to Testing for Continuity , Repairing Connector Terminals and Connector Repairs .

Was a problem found?

--

Go to Step 14

Go to Step 13

13

Important:: The replacement PCM must be programmed.

Replace the PCM.

Refer to Powertrain Control Module Replacement/Programming .

Is action complete?

--

Go to Step 14

--

14

  1. Review and record scan tool Failure Records data.
  2. Clear DTCs.
  3. Operate the vehicle within Failure Records conditions.
  4. Using a scan tool, monitor Specific DTC info for DTC P1404.

Does the scan tool indicate DTC P1404 failed this ignition?

--

Go to Step 2

System OK