GM Service Manual Online
For 1990-2009 cars only

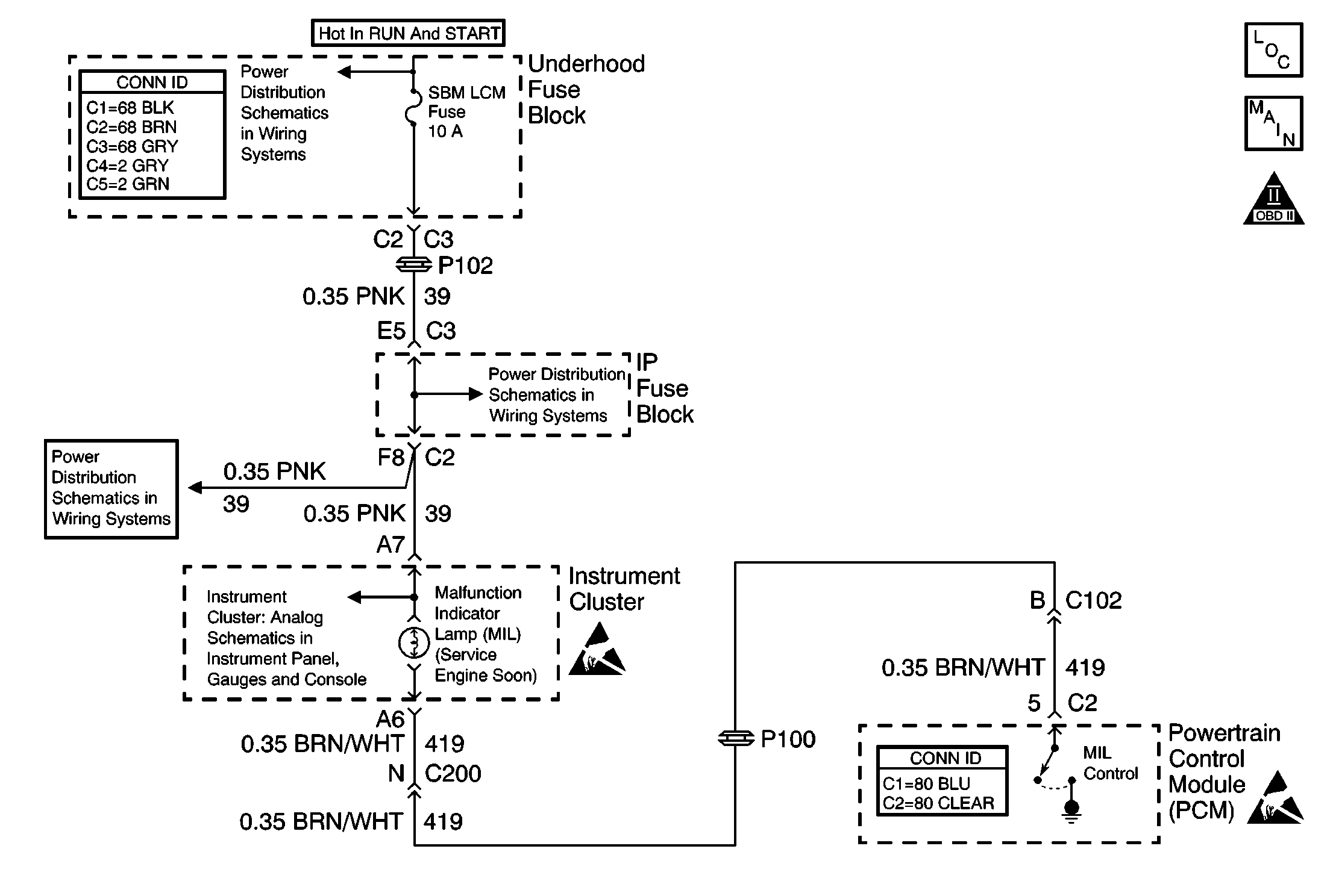
Object Number: 572064  Size: MF
Engine Controls Components
MIL and Data Link Connector (DLC)
OBD II Symbol Description Notice
Handling ESD Sensitive Parts Notice
Handling ESD Sensitive Parts Notice

Circuit Description

Output driver modules (ODMs) are used by the PCM to turn on many of the current-driven devices that are needed to control various engine and Transaxle functions. Each ODM is capable of controlling up to 7 separate outputs by applying ground to the device which the PCM is commanding ON. Unlike the quad driver modules (QDMs) used in prior model years, ODMs have the capability of diagnosing each output circuit individually. DTC P0650 set indicates an improper voltage level on the output circuit that controls the malfunction iIndicator lamp (MIL).

Conditions for Running the DTC

Ignition is ON.

Conditions for Setting the DTC

    • An improper voltage level has been detected on ODM D output 1 (the MIL control circuit).
    • Above conditions for at least 30 seconds.

Action Taken When the DTC Sets

    • The PCM will illuminate the malfunction indicator lamp (MIL) during the second consecutive trip in which the diagnostic test has been run and failed.
    • The PCM will store conditions which were present when the DTC set as Freeze Frame/Failure Records data.

Conditions for Clearing the MIL/DTC

    • The PCM will turn OFF the malfunction indicator lamp (MIL) during the third consecutive trip in which the diagnostic has run and passed.
    • The history DTC will clear after 40 consecutive warm-up cycles have occurred without a malfunction.
    • The DTC can be cleared by using a scan tool.

Diagnostic Aids

Check for the following conditions:

    • Poor connection at the PCM.
        Inspect harness connectors for backed out terminals, improper mating, broken locks, improperly formed or damaged terminals, and poor terminal to wire connection.
    • Damaged harness.
        Inspect the wiring harness for damage. If the harness appears to be OK, disconnect the PCM, turn the ignition ON and observe a digital multimeter connected between the MIL control circuit and ground at the PCM harness connector while moving connectors and wiring harnesses related to the MIL. A change in voltage will indicate the location of the malfunction.

Reviewing the Failure Records vehicle mileage since the diagnostic test last failed may help determine how often the condition that caused the DTC to be set occurs. This may assist in diagnosing the condition.

Test Description

Number(s) below refer to the step number(s) on the Diagnostic Table.

  1. This vehicle is equipped with a PCM which utilizes an Electrically Erasable Programmable Read Only Memory (EEPROM). When the PCM is replaced, the new PCM must be programmed.

DTC P0650 - MIL Control Circuit

Step

Action

Value(s)

Yes

No

1

Did you perform the Powertrain On-Board Diagnostic (OBD) System Check?

--

Go to Step 2

Go to Powertrain On Board Diagnostic (OBD) System Check

2

Important: If the MIL fuse is open, locate and repair a short to ground in the MIL ignition supply circuit or a shorted cluster.

Inspect the MIL fuse and replace as necessary.

Was the fuse open?

--

Go to Step 12

Go to Step 3

3

  1. Turn the Ignition OFF.
  2. Disconnect the PCM. Refer to Powertrain Control Module Replacement/Programming .
  3. Important: If the jumper fuse opens, locate and repair a short to voltage in the MIL control circuit or a shorted cluster.

  4. Install a 3 amp fused jumper between the MIL control circuit at the PCM harness connector and a good ground.
  5. Turn the ignition ON with the engine OFF.

Is the MIL illuminated?

--

Go to Step 4

Go to Step 5

4

Leaving the ignition ON, remove the jumper.

Is the MIL illuminated?

--

Go to Step 7

Go to Step 9

5

  1. Remove the instrument cluster. Refer to Instrument Cluster Replacement in instrument panel, gauges and console
  2. Test the MIL control circuit for an open and repair as necessary.

Did you find and correct the condition?

--

Go to Step 12

Go to Step 6

6

Test the MIL ignition supply circuit for an open and repair as necessary.

Did you find and correct the condition?

--

Go to Step 12

Go to Step 8

7

  1. Remove the instrument cluster. Refer to Instrument Cluster Replacement in instrument panel, gauges and console.
  2. Test the MIL control circuit for a short to ground and repair as necessary.

Did you find and repair the condition?

--

Go to Step 12

Go to Step 10

8

Inspect the cluster harness connector for faulty connections and repair as necessary. Refer to Wiring Repairs in Wiring Systems.

Did you find and repair the condition?

--

Go to Step 12

Go to Step 10

9

Inspect the PCM and the PCM harness connector for faulty connections and repair as necessary. Refer to Wiring Repairs in Wiring Systems.

Did you find and correct the connection?

--

Go to Step 12

Go to Step 11

10

Repair or replace the cluster. Refer to Instrument Cluster Replacement in instrument panel, gauges and console.

Did you complete the repair or replacement?

--

Go to Step 12

--

11

Important:: The replacement PCM must be programmed. Refer to Powertrain Control Module Replacement/Programming .

Replace the PCM.

Did you complete the replacement?

--

Go to Step 12

--

12

  1. Use the scan tool in order to clear the DTCs.
  2. Operate the vehicle within the parameters described in Conditions for Running and Conditions for Setting on the facing page.

Does the DTC reset?

--

Go to Step 2

System OK