GM Service Manual Online
For 1990-2009 cars only

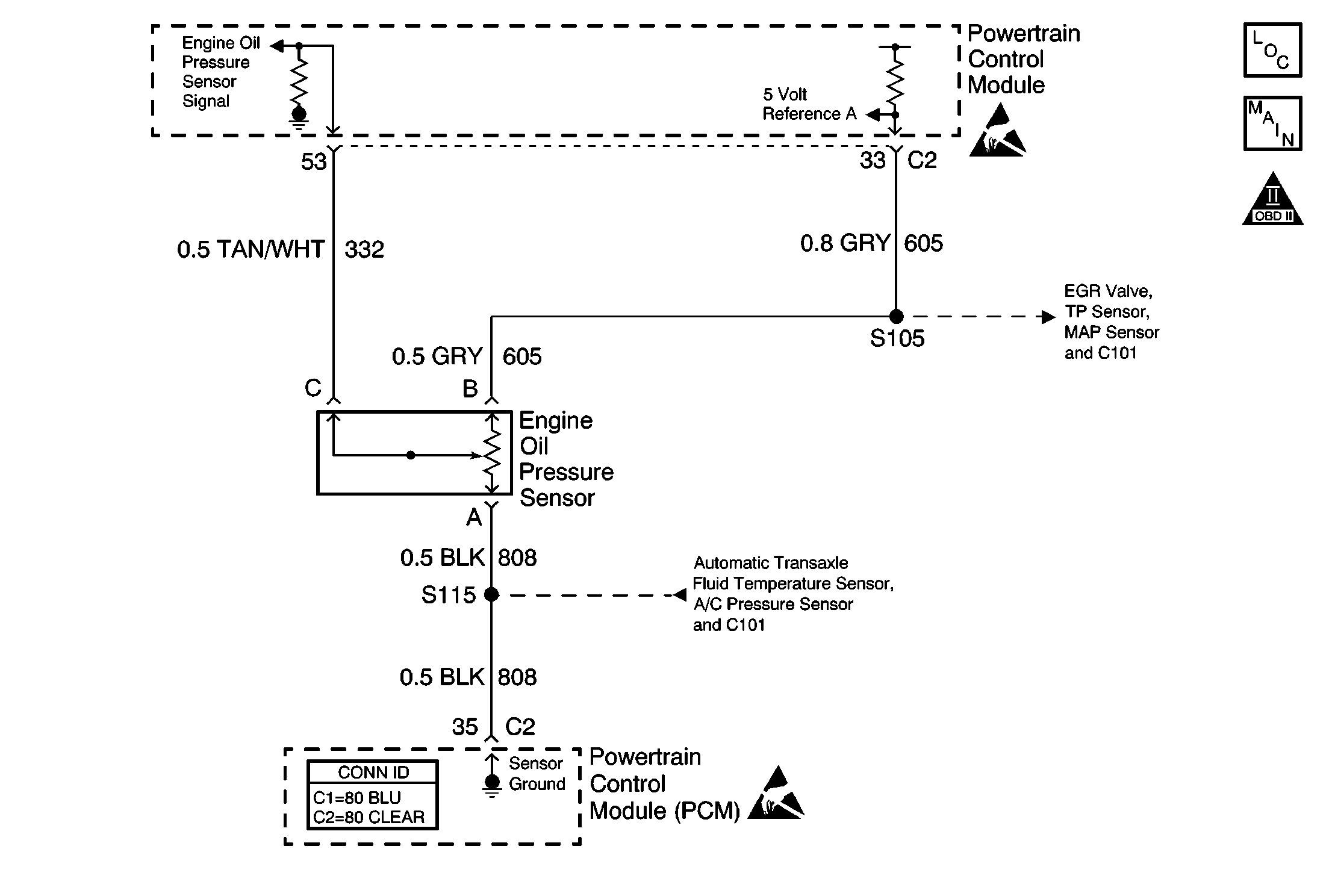
Object Number: 572008  Size: MF
Engine Controls Components
Sensors
Handling ESD Sensitive Parts Notice
OBD II Symbol Description Notice
Handling ESD Sensitive Parts Notice

Circuit Description

The engine oil pressure sensor is a solid state transducer. The engine oil pressure sensor sends oil pressure information to the PCM. The PCM then transmits the oil pressure information to the IPC via serial data (CKT 1807).

Engine oil pressure is displayed on the scan tool in volts. A low voltage reading indicates low oil pressure. As the oil pressure increases, the voltage level also increases. The normal range of the engine oil level sensor signal voltage is 0.5 volts at 0 kPa (0 psi)-4.5 volts at 883 kPa (128 psi).

Conditions for Running

    • Engine is running.
    • No 5V Ref A codes set.

Conditions for Setting

    • Engine oil pressure sensor voltage is equal to or more than 4.6 volts.
    • The above condition exists for 9 seconds.

Action Taken When the DTC Sets

The PCM stores conditions which were present when the DTC set as Failure Records only. This information will not be stored as Freeze Frame Records.

Conditions for Clearing the MIL/DTC

    • The DTC becomes history when the conditions for setting the DTC are no longer present.
    • The history DTC clears after 40 malfunction free warm-up cycles.
    • The PCM receives a clear code command from the scan tool.

Diagnostic Aids

For diagnosis of the instrument panel, refer to Diagnostic Starting Point .

Check for the following conditions:

    • Poor connection at the PCM or the engine oil pressure sensor.
        Inspect harness connectors for the following conditions:
       - Backed out terminals.
       - Improper mating.
       - Broken locks.
       - Improperly formed or damaged terminals.
       - Poor terminal to wire connection.
    • Damaged harness.
        Inspect the wiring harness for damage.
    • Instrument panel cluster.
        The engine oil pressure sensor diagnostic table is intended to isolate electrical faults that affect the engine oil pressure sensor, the PCM, and related circuits. If a problem with engine oil pressure can not be isolated using the engine oil pressure sensor diagnostic table, refer to Diagnostic Starting Point .

Test Description

The number below refer to the step number on the diagnostic table.

  1. This vehicle is equipped with a PCM which utilizes an Electrically Erasable Programmable Read Only Memory (EEPROM). When the PCM is being replaced, the new PCM must be programmed.

Step

Action

Values

Yes

No

1

Did you perform the Powertrain On-Board Diagnostic (OBD) System Check?

--

Go to Step 2

Go to Powertrain On Board Diagnostic (OBD) System Check

2

Important: If DTC P1635 5 Volt Reference Circuit is set, perform that diagnostic first.

  1. Install a scan tool.
  2. Turn ON the ignition, with the engine OFF.
  3. With the scan tool, observe the engine oil pressure (EOP) voltage parameter in the PCM data list.

Does the scan tool indicate that the EOP voltage parameter is more than the specified value?

4.6 V

Go to Step 3

Go to Diagnostic Aids

3

  1. Turn OFF the ignition.
  2. Disconnect the EOP sensor.
  3. Turn ON the ignition, with the engine OFF.
  4. With a scan tool, observe the EOP voltage parameter.

Does the scan tool indicate that the EOP voltage parameter is equal to the specified value?

0 V

Go to Step 4

Go to Step 8

4

Measure the voltage between the 5 volt reference circuit of the EOP sensor and the ground circuit of the EOP sensor.

Does the voltage measured equal the specified value?

5 V

Go to Step 9

Go to Step 5

5

Does the voltage measure more than the specified value?

5 V

Go to Step 6

Go to Step 7

6

Test the 5 volt reference circuit of the EOP sensor for a short to voltage. Refer to Circuit Testing and Wiring Repairs in Wiring Systems.

Did you find and correct the condition?

--

Go to Step 13

Go to Step 12

7

Test the ground circuit of the EOP sensor for a high resistance or an open. Refer to Circuit Testing and Wiring Repairs in Wiring Systems.

Did you find and correct the condition?

--

Go to Step 13

Go to Step 10

8

Test the signal circuit of the EOP sensor for a short to voltage. Refer to Circuit Testing and Wiring Repairs in Wiring Systems.

Did you find and correct the condition?

 

Go to Step 13

Go to Step 12

9

Inspect for poor connections at the harness connector of the EOP sensor. Refer to Testing for Intermittent Conditions and Poor Connections and Connector Repairs in Wiring Systems.

Did you find and correct the condition?

--

Go to Step 13

Go to Step 11

10

Inspect for poor connections at the harness connector of the PCM. Refer to Testing for Intermittent Conditions and Poor Connections and Connector Repairs in Wiring Systems.

Did you find and correct the condition?

--

Go to Step 13

Go to Step 12

11

Replace the EOP sensor.

Did you complete the replacement?

--

Go to Step 13

--

12

Important: Perform the set up procedure for the PCM .

Replace the PCM.

Refer to Powertrain Control Module Replacement/Programming .

Did you complete the replacement?

--

Go to Step 13

--

13

  1. Use the scan tool in order to clear the DTCs.
  2. Operate the vehicle within the Conditions for Running the DTC as specified in the supporting text.

Does the DTC reset?

--

Go to Step 2

System OK